Black Under Desk Leg Clamp Shelf
Instruction Manual

DESK-SF01LC Black Under Desk Leg Clamp Shelf
SKU: DESK-SF01LC
Scan the QR code with your mobile device or follow the link for helpful videos and specifications related to this product.
https://vivo-us.com/products/desk-sf01lc
GET IN TOUCH | Monday-Friday from 7:00am-7:00pm CST
| [email protected] | |
| www.vivo-us.com Chat live with an agent! | |
| 309-278-5303 |
WARNING!
If you do not understand these directions, or if you have any doubts about the safety of the installation, please call a qualified technician. Check carefully to make sure there are no missing or defective parts. Improper installation may cause damage or serious injury. Do not use this product for any purpose that is not explicitly specified in this manual and do not exceed weight capacity. We cannot be liable for damage or injury caused by improper mounting, incorrect assembly, or inappropriate use.
WARNING: CHOKING HAZARD SMALL PARTS – NOT FOR CHILDREN UNDER 3 YEARS. ADULT SUPERVISION IS REQUIRED.
PACKAGE CONTENTS
TOOLS NEEDED
Phillips Screwdriver
DO NOT EXCEED WEIGHT CAPACITY.
Failure to do so may result in serious injury.
ASSEMBLY STEPS
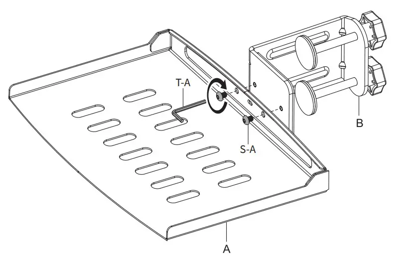
STEP 1
Connect Tray (A) to Clamp (B) with M5x6mm Screw (S-A) and 3mm Allen Wrench (T-A).
STEP 2
Adjust Clamp (B) to fit desk leg by turning knobs counter clockwise.
STEP 3
Install assembly onto desk leg by tightening knobs.
Love your new VIVO setup and want to share?
Tag us in your photo! @vivo_us
AST UPDATED: 08/03/2022
REV1.1
Open Monday – Friday 7:00am – 7:00pm CST,
our dedicated support team can offer immediate assistance with rapid response times. If any parts are received damaged or defective, please contact us. We are happy to replace parts to ensure you have a fully functioning product.
| AVG. RESOLUTION TIME (within office hrs): 5M 4S | |
Chat live with an agent! | AVG. RESOLUTION TIME (within office hrs): < 15 M |
| AVG. RESPONSE TIME (within office hrs): 1HR 8M – 23% within < 15m – 38% within < 30m – 61% within < 1hr – 83% within < 2hr – 92% within < 3hr |
FOR MORE VIVO PRODUCTS, CHECK OUT OUR WEBSITE AT: www.vivo-us.com 












