VIVO STAND-SHELF60B Clamp-on 60” Shelf Compartment Monitor Riser

SKU: STAND-SHELF60B
Scan the QR code with your mobile device or follow the link for helpful videos and specifications related to this product.
Instruction Manual https://vivo-us.com/products/stand-shelf60b
GET IN TOUCH | Monday-Friday from 7:00am-7:00pm CST
[email protected]
www.vivo-us.com
Chat live with an agent!
309-278-5303
WARNING!
If you do not understand these directions, or if you have any doubts about the safety of the installation, please call a qualified technician. Check carefully to make sure there are no missing or defective parts. Improper installation may cause damage or serious injury. Do not use this product for any purpose that is not explicitly specified in this manual. Do not exceed weight capacity. We cannot be liable for damage or injury caused by improper mounting, incorrect assembly or inappropriate use.
WARNING: CHOKING HAZARD
SMALL PARTS – NOT FOR CHILDREN UNDER 3 YEARS. ADULT SUPERVISION IS REQUIRED.
PACKAGE CONTENTS
TOOLS NEEDED
NOTE: SOME HARDWARE INCLUDED MAY NOT BE USED
DO NOT EXCEED WEIGHT CAPACITY.
Failure to do so may result in serious injury
ASSEMBLY STEPS
- Assemble Connecting Plates (H) to Center Braces (F) using M4x16mm Flathead Screws (S-C) and a Phillips screwdriver.

- Insert Wooden Dowels (M) into Middle Shelf Panel (B). Assemble Right Shelf Panel (A) and Left Shelf Panel (C) to Middle Shelf Panel (B) using Wooden Dowels (M).

- Assemble Connecting Plates (H) to the shelf assembly using M5x12mm Screws (S-G) and a Phillips screwdriver.

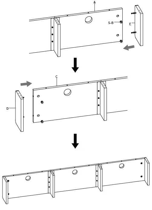
- Insert Cam Lock Screws (S-A) into Left End Panel (D) and Right End Panel (E).

- Insert Cam Lock Nuts (S-B) into Right Shelf Panel (A) and Left Shelf Panel (C). Assemble Left End Panel (D) to Left Shelf Panel (C), and Right End Panel (E) to Right Shelf Panel (A). Rotate Cam Lock Nuts (S-B) using a Phillips screwdriver to secure the assembly.

- Assemble Left Back Panel (I), Middle Back Panel (J), and Right back Panel (K) to the shelf assembly using M4x16mm Screws (S-D), Gaskets (S-F), and a Phillips screwdriver.

- Secure Clamps (G) to to the shelf assembly using M4x25mm Screws (S-E).

- Insert Cable Management Covers (L) into shelf assembly.

- Mount Clamps (G) to the desktop.

Love your new VIVO setup and want to share? Tag us in your photo! @vivo_us
Open Monday – Friday 7:00am – 7:00pm CST,our dedicated support team can offer immediate assistance with rapid response times. If any parts are received damaged or defective, please contact us. We are happy to replace parts to ensure you have a fully functioning produT
- 309-278-5303 AVG. RESOLUTION TIME (within office hrs): 5M 4S
- www.vivo-us.com AVG. RESOLUTION TIME (within office hrs): < 15 M Chat live with an agent!
- [email protected]
- AVG. RESPONSE TIME (within office hrs): 1HR 8M
- 23% within < 15m
- 38% within < 30m
- 61% within < 1hr
- 83% within < 2hr
- 92% within < 3hr
FOR MORE VIVO PRODUCTS, CHECK OUT OUR WEBSITE AT: www.vivo-us.com



























