VIVO PP-DK12B Black Clamp-on Desk Back Panel and Accessory Holder

Product Information
The Black Clamp-on Desk Back Panel & Accessory Holder is a versatile product that can be used for cable management and accessory placement on your desk. The product comes with a peg board, lower and upper poles, connecting bracket, clamp brace, clamp, shelf, pole cap, pad, straight hook, square edge hook, magnet, clip, screws, and tools. The product is designed for above or below mounting on the desk and can be assembled in single or double panel configuration.
Package Contents
- A (x2) Peg Board
- B (x1) Lower Pole
- C (x1) Upper Pole
- D (x1) Connecting Bracket
- E (x1) Clamp Brace
- F (x1) Clamp
- G (x1) Shelf
- H (x1) Pole Cap
- I (x1) Pad
- K (x1) Straight Hook
- L (x1) Square Edge Hook
- M (x4) Magnet
- N (x1) Clip
- J (x2) Shelf Hook
- S-A (x2) M6x16mm Screw
- S-B (x2) M6x8mm Screw
- S-C (x5) M6x25mm Screw
- S-D (x5) M6 Washer
- S-E (x4) M6x5mm Screw
- T-A (x1) 4mm Allen Wrench
- T-B (x4) Ziptie
Warnings:Choking hazard – Small parts are not suitable for children under 3 years. Adult supervision is required.
Product Usage Instructions
Assembly Options:The product can be assembled in different configurations, including single or double panel assembly, above or below mounting, and cable management assembly. Refer to the assembly options on pages 3-9 of the instruction manual for detailed instructions.
Above Mounting Only (Single Panel Assembly)
- Connect Lower Pole (B) and Pad (I) to Clamp Brace (E) using M6x16mm Screws (S-A) and 4mm Allen Wrench (T-A).
- Secure Clamp (F) to Clamp Brace (E) using M6x8mm Screws (S-B) and 4mm Allen Wrench (T-A).
- Choose horizontal or vertical installation orientation and connect Peg Board (A) and Connecting Bracket (D) to front of Lower Pole (B) using M6x25mm Screws (S-C), M6 Washers (S-D), and 4mm Allen Wrench (T-A).
- Place Pole Cap (H) on top of Lower Pole (B).
Above Mounting Only (Double Panel Assembly)
- Connect Lower Pole (B) and Pad (I) to Clamp Brace (E) using M6x16mm Screws (S-A) and 4mm Allen Wrench (T-A).
- Secure Clamp (F) to Clamp Brace (E) using M6x8mm Screws (S-B) and 4mm Allen Wrench (T-A).
- Choose horizontal or vertical installation orientation and connect Peg Board (A) and Connecting Bracket (D) to Lower Pole (B) using M6x25mm Screws (S-C), M6 Washers (S-D), and 4mm Allen Wrench (T-A).
- Slide Upper Pole (C) into Connecting Bracket (D).
- Connect Upper Pole (C) to Peg Board (A) and Connecting Bracket (D) using M6x25mm Screws (S-C), M6 Washers (S-D), and 4mm Allen Wrench (T-A).
- Connect second Peg Board (A) to Upper Pole (C) using M6x25mm Screws (S-C), M6 Washers (S-D), and 4mm Allen Wrench (T-A).
- Attach Pole Cap (H) to top of Upper Pole (C).
Above & Below Mounting
- Connect Lower Pole (B) and Pad (I) to Clamp Brace (E) using M6x16mm Screws (S-A) and 4mm Allen Wrench (T-A).
- Secure Clamp (F) to Clamp Brace (E) using M6x8mm Screws (S-B) and 4mm Allen Wrench (T-A).
WARNING!
If you do not understand these directions, or if you have any doubts about the safety of the installation, please call a qualified technician. Check carefully to make sure there are no missing or defective parts. Improper installation may cause damage or serious injury. Do not use this product for any purpose that is not explicitly specified in this manual and do not exceed weight capacity. We cannot be liable for damage or injury caused by improper mounting, incorrect assembly, or inappropriate use.
WARNING: CHOKING HAZARD
SMALL PARTS – NOT FOR CHILDREN UNDER 3 YEARS. ADULT SUPERVISION IS REQUIRED.
PACKAGE CONTENTS

TOOLS NEEDED
Phillips Screwdriver
ASSEMBLY OPTIONS
- Above Mounting
Single Panel Assembly (pg 3-4) Double Panel Assembly (pg 3, 5-6) - Above & Under Mounting
Double Panel Assembly (pg 7) - Under Desk Cable Management
Single Panel Assembly (pg 8-9 Double Panel Assembly (pg 8-9) - Accessory Placement
All Assembly Options (pg 8-9)


ASSEMBLY OPTION A: Above Mounting Only
STEP 1
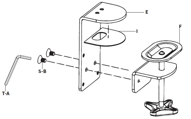
Connect Lower Pole (B) and Pad (I) to Clamp Brace (E) using M6x16mm Screws (S-A) and 4mm Allen Wrench (T-A). Secure Clamp (F) to Clamp Brace (E) using M6x8mm Screws (S-B) and 4mm Allen Wrench (T-A). NOTE: Make sure the pegboard holes are facing forward as shown below.

STEP 2a: Single Panel Assembly
Choose horizontal or vertical installation orientation and connect Peg Board (A) and Connecting Bracket (D) to front of Lower Pole (B) using M6x25mm Screws (S-C), M6 Washers (S-D) and 4mm Allen Wrench (T-A). Place Pole Cap (H) on top of Lower Pole (B).
NOTE: Use the top hole on the Connecting Bracket (D). The bottom hole will not be used


STEP 2b: Double Panel Assembly
Choose horizontal or vertical installation orientation and connect Peg Board (A) and Connecting Bracket (D) to Lower Pole (B) using M6x25mm Screws (S-C), M6 Washers (S-D), and 4mm Allen Wrench (T-A).
Note: Use bottom hole of Connecting Bracket (D).

- HORIZONTAL ORIENTATION
Slide Upper Pole (C) into Connecting Bracket (D). - VERTICAL ORIENTATION
Connect Upper Pole (C) to Peg Board (A) and Connecting Bracket (D) using M6x25mm Screws (S-C), M6 Washers (S-D) and 4mm Allen Wrench (T-A).
Connect second Peg Board (A) to Upper Pole (C) using M6x25mm Screws (S-C), M6 Washers (S-D), and 4mm Allen Wrench (T-A). Attach Pole Cap (H) to top of Upper Pole (C).
ASSEMBLY OPTION B: Above & Below Mounting
STEP 1
Connect Lower Pole (B) and Pad (I) to Clamp Brace (E) using M6x16mm Screws (S-A) and 4mm Allen Wrench (T-A). Secure Clamp (F) to Clamp Brace (E) using M6x8mm Screws (S-B) and 4mm Allen Wrench (T-A).
NOTE: Make sure the pegboard holes are facing forward as shown below.

STEP 2
Connect Peg Board (A) and Connecting Bracket (D) to Lower Pole (B) using M6x25mm Screws (S-C), M6 Washers (S-D) and 4mm Allen Wrench (T-A). Attach other Peg Board (A) to back of Clamp Brace (E) using M6x5mm Screws (S-E) and a Phillips screwdriver. Place Pole Cap (H) on top of Lower Pole (B).
NOTE: Use the top hole on the Connecting Bracket (D). The bottom hole will not be used

ASSEMBLY OPTION C: Under Desk Cable Management
STEP 1
Secure Clamp (F) and Pad (I) to Clamp Brace (E) using M6x8mm Screws (S-B) and 4mm Allen Wrench (T-A).

STEP 2a: Single Panel
Connect Peg Board (A) to front of Clamp Brace (E) using M6x5mm Screws (S-E) and a Phillips screwdriver. Use provided Zip Ties (T-B) for managing under desk cables.

STEP 2b: Double Panel
Connect Peg Boards (A) to front of Clamp Brace (E) using M6x5mm Screws (S-E) and a Phillips screwdriver. Use provided Zip Ties (T-B) for managing under desk cables.

ACCESSORY PLACEMENT
Note: Accessories can be placed and used as desired. The following steps shows one way to mount/install accessories and uses the double panel horizontal assembly as an example.

Shelf Mounting
Place Shelf Hooks (J) at desired height on Peg Board (A) and then place Shelf (G) on Hooks so that magnets on edge make contact with Peg Board (A).

Straight & Square Hooks
Place Straight Hook (K) and Square Hook (L) as desired on Peg Board (A).

Clip & Magnets
Place Magnets (M), and Clip (N) as desired on assembly.

Love your new VIVO setup and want to share? Tag us in your photo! @vivo_us
LAST UPDATED: 07/25/2022 REV1
Open Monday – Friday 7:00am – 7:00pm CST,
our dedicated support team can offer immediate assistance with rapid response times. If any parts are received damaged or defective, please contact us. We are happy to replace parts to ensure you have a fully functioning product.
309-278-5303
AVG. RESOLUTION TIME (within office hrs): 5M 4S
www.vivo-us.com
Chat live with an agent!
AVG. RESOLUTION TIME (within office hrs): < 15 M
AVG. RESPONSE TIME (within office hrs): 1HR 8M
- 23% within < 15m
- 38% within < 30m
- 61% within < 1hr
- 83% within < 2hr
- 92% within < 3hr
FOR MORE VIVO PRODUCTS, CHECK OUT OUR WEBSITE AT: www.vivo-us.com
SKU: PP-DK12B
Scan the QR code with your mobile device or follow the link for helpful videos and specifications related to this product.

https://vivo-us.com/products/pp-dk12b

















