
Black Corner Electric Desk
Instruction Manual

SKU: DESK-E1L94B
Scan the QR code with your mobile device or follow the link for helpful videos and specifications related to this product.
https://vivo-us.com/products/desk-e1l94b
GET IN TOUCH | Monday-Friday from 7:00am-7:00pm CST
[email protected]
www.vivo-us.com Chat live with an agent!
309-278-5303
WARNING!
If you do not understand these directions, or if you have any doubts about the safety of the installation, please call a qualified technician. Check carefully to make sure there are no missing or defective parts. Improper installation may cause damage or serious injury. Do not use this product for any purpose that is not explicitly specified in this manual and do not exceed weight capacity. We cannot be liable for damage or injury caused by improper mounting, incorrect assembly, or inappropriate use.
ELECTRICAL SAFETY INSTRUCTIONS
THIS PRODUCT IS POWERED BY ELECTRICITY. IN ORDER TO AVOID BURNS, FIRE, AND ELECTRIC SHOCK, PLEASE READ THE FOLLOWING INSTRUCTIONS CAREFULLY.
- DO NOT CLEAN THE PRODUCT WHILE POWER IS CONNECTED.
- DO NOT DISASSEMBLE OR REPLACE COMPONENTS WHILE POWER IS CONNECTED.
- NEVER OPERATE THE SYSTEM WITH A DAMAGED CORD OR PLUG. PLEASE CONTACT YOUR SELLER TO REPLACE DAMAGED PARTS.
- NEVER OPERATE SYSTEM IN DAMP ENVIRONMENTS OR IF ANY ELECTRICAL COMPONENTS HAVE MADE CONTACT WITH LIQUIDS.
- ALTERATIONS OF THE GIVEN POWER UNIT ARE NOT ALLOWED. · OUTDOOR USE IS PROHIBITED.
WARNING: CHOKING HAZARD
SMALL PARTS – NOT FOR CHILDREN UNDER 3 YEARS. ADULT SUPERVISION IS REQUIRED.
PACKAGE CONTENTS


NOTE: Extras of each screw size have been included

TOOLS NEEDED
DO NOT EXCEED WEIGHT CAPACITY.
Failure to do so may result in serious injury.
WARNING
PINCH POINT
DO NOT place hands on or near support bars. Moving garts can crush and cut. Pinch points are created during lifting and lowering the worksurface. Failure to these instructions may result in serious personal injury.
ASSEMBLY STEPS
STEP 1
Place the desktop sections (1) upside down on a flat surface, then assemble using the connectors (9) with M5x16 screws (A) and a Phillips crewdriver.
STEP 2
Assemble the left and right support bars (2, 3) using the support bar connector (10) and M6x12 bolts (B). Tighten with the 5mm Allen wrench (F).
STEP 3
Insert the anti-vibration pads (H) into the desktop mounting holes in the support bar assembly.
STEP 4
Place the support bar assembly upside down on the desktop. Align the support bar assembly with the four pre-drilled alignment holes circled below. Secure these using M5x16 screws (A) with a Phillips screwdriver. Then secure the rest of the mounting points using the same screws. The use of a drill is recommended but not necessary.![]()
STEP 5
Assemble the legs (4, 5) to the support bar assembly using M8x16 bolts (C) and tighten with the 5mm Allen wrench (F).
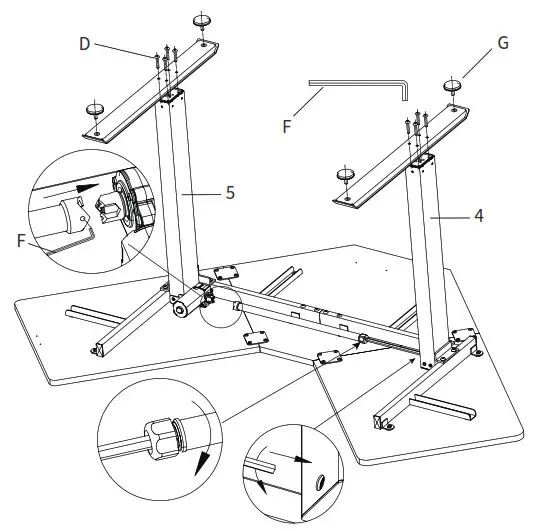
STEP 6
Place the feet (7) on the legs as shown, then insert and tighten M6x35 bolts (D) using the 5mm Allen wrench (F). Screw the foot pads (G) into the feet. Insert the sync rod (6) into the leg (4). Loosen the nut on the sync rod, then extend the rod onto the motor leg (5) and tighten the nut. Tighten the set screw on the end of the sync rod using the 2mm Allen wrench (F).
STEP 7
Mount the cable tray (8) and hanger (11) to the desktop (1) using M5x16 screws (A) and a Phillips screwdriver. Mount the control panel (11) using M4x15 screws (E) and a Phillips screwdriver. Connect the AC adapter (12) and motor to the control panel, then organize cables using the cable clips (I).
STEP 8
Carefully turn the desk right-side up and connect the AC adapter (12) to a wall outlet. If necessary, adjust footpads (G) to level the desk.
The desk is now ready for use. Please refer to the Controller User Guide for operating instructions.
CAUTION!
| Do not exceed desk weight limit. | |
| Keep area of vertical motion free of obstacles. | |
| Keep weight on desk balanced for correct operation and longer life of components. | |
| Leave enough slack in cables to allow for full range of vertical motion. |
Failure to follow these instructions may result in property damage and/or personal injury.
Love your new VIVO setup and want to share? Tag us in your photo! @vivo_us
LAST UPDATED: 02/02/2021
REV2
Open Monday – Friday 7:00am – 7:00pm CST,
our dedicated support team can offer immediate assistance with rapid response times. If any parts are received damaged or defective, please contact us. We are happy to replace parts to ensure you have a fully functioning product.
[email protected]
www.vivo-us.com Chat live with an agent!
309-278-5303
AVG. RESPONSE TIME (within office hrs): 1HR 8M
– 23% within < 15m
– 38% within < 30m
– 61% within < 1hr
– 83% within < 2hr
– 92% within < 3hr
AVG. RESOLUTION TIME (within office hrs): < 15 M
AVG. RESOLUTION TIME (within office hrs): 5M 4S
FOR MORE VIVO PRODUCTS, CHECK OUT OUR WEBSITE AT: www.vivo-us.com














