VIVO Black Electric Desk DESK-E155TB Instruction Manual
WARNING
If you do not understand these directions, or if you have any doubts about the safety of the installation, please call a qualified technician. Check carefully to make sure there are no missing or defective parts. Improper installation may cause damage or serious injury. Do not use this product for any purpose that is not explicitly specified in this manual and do not exceed weight capacity. We cannot be liable for damage or injury caused by improper mounting, incorrect assembly, or inappropriate use.
ELECTRICAL SAFETY INSTRUCTIONS
THIS PRODUCT IS POWERED BY ELECTRICITY. IN ORDER TO AVOID BURNS, FIRE AND ELECTRIC SHOCK, PLEASE READ THE FOLLOWING INSTRUCTIONS CAREFULLY.
- DO NOT CLEAN PRODUCT WHILE POWER IS CONNECTED.
- DO NOT DISASSEMBLE OR REPLACE COMPONENTS WHILE POWER IS CONNECTED.
- NEVER OPERATE THE SYSTEM WITH A DAMAGED CORD OR PLUG. PLEASE CONTACT YOUR SELLER TO REPLACE DAMAGED PARTS.
- NEVER OPERATE SYSTEM IN DAMP ENVIRONMENTS OR IF ANY ELECTRICAL COMPONENTS HAVE MADE CONTACT WITH LIQUIDS.
- ALTERATIONS OF THE GIVEN POWER UNIT ARE NOT ALLOWED.
- OUTDOOR USE IS PROHIBITED
WARNING: CHOKING HAZARD
SMALL PARTS – NOT FOR CHILDREN UNDER 3 YEARS. ADULT SUPERVISION IS REQUIRED.
PACKAGE CONTENTS


Dimension

Warning
Pinch Point
Do not place hands on or near support bars. Moving parts can crush and cut. Pinch points are created during lifting and lowering the worksurface. Failure to follow these instructions may result in serious pesonal injury.
DO NOT EXCEED WEIGHT CAPACITY: 88lbs (40kg)
Failure to do so may result in serious injury.
TOOLS NEEDED
- Phillips Screwdriver

- Level

- Drill

ASSEMBLY STEPS
STEP 1
Insert the left (short) end of the drive rod (A) into the right side of a lifting column (C). Slide the motor (B) onto the right (long) end of the drive rod, using the 8mm Allen wrench (S-K) to align the sockets if needed, and secure to the column using the M5x8 Phillips head screws (S-E) with a Phillips screwdriver. Apply x3 silicone pads (S-H) evenly to the top bar of each lifting column.

STEP 2
Place the desktop (D) upside down on a flat surface. Assemble the lifting columns (C) to the desktop using x6 M6x35 Phillips head screws (S-C) with washers (S-F) and tighten with a screwdriver.

STEP 3
Loosen the knobs on the sync rod (E) and slide the socket end onto the drive rod. While holding the sync rod with one hand, extend the hex shaft into the non-motorized leg, using the 8mm Allen wrench (S-K) to align the socket if needed. Tighten both knobs.

STEP 4
Attach the adapter holder (G) and x3 silicon pads to the upper crossbar (F). Mount the upper crossbar to the lifting columns using M5x60 hex head screws S-B) and tighten using the 4mm Allen wrench (S-I).

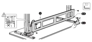
STEP 5
Assemble the crossbar (I) to the back of the lifting columns using M8x10 hex head screws (S-A) and tighten with the 5mm Allen wrench (S-J).

STEP 6
Mount the controller (K) to the underside of the desktop using ST3.5×13 screws (S-D) and tighten with a screwdriver or drill.

STEP 7
Slide the AC adapter (H) into the adapter holder, making sure the connector cable is on the same side as the controller.

STEP 8
Connect the AC adapter to the controller, then connect the controller to the motor. Plug the power cord (J) into the AC adapter. Use the cable clips (S-G) to organize the cables. Clips are held in place using adhesive pads, but may be secured using ST3.5×13 screws (S-D) for extra security (drill pilot holes with 1/8” bit).

STEP 9
Carefully flip the assembled desk right side up and plug the power cord into an AC electrical outlet. If necessary, adjust foot pads to level the desk.
The desk is now ready for use. Please refer to the Controller User Guide for operational instructions.

CAUTION!

Failure to follow these instructions may result in property damage and/or personal injury.
Love your new VIVO setup and want to share?
Tag us in your photo! @vivo_us
Open Monday – Friday 7:00am – 7:00pm CST,
our dedicated support team can offer immediate assistance with rapid response times. If any parts are received damaged or defective, please contact us. We are happy to replace parts to ensure you have a fully functioning product.
Email: [email protected]
AVG. RESPONSE TIME (within office hrs): 1HR 8M
– 23% within < 15m
– 38% within < 30m
– 61% within < 1hr
– 83% within < 2hr
– 92% within < 3hr
Text: www.vivo-us.com
Chat live with an agent!
AVG. RESOLUTION TIME (within office hrs): < 15 M
Contact: 309-278-5303
AVG. RESOLUTION TIME (within office hrs): 5M 4S
FOR MORE VIVO PRODUCTS, CHECK OUT OUR WEBSITE AT: www.vivo-us.com
Scan the QR code with your mobile device or follow the link for helpful videos and specifications related to this product. Instruction Manual
https://vivo-us.com/products/desk-e155tb
GET IN TOUCH | Monday-Friday from 7:00am-7:00pm CST

















