
Black Desk Riser
Instruction Manual

SKU: DESK-V000VL
Scan the QR code with your mobile device or follow the link for helpful videos and specifications related to this product.
https://vivo-us.com/products/desk-v000vl
GET IN TOUCH | Monday-Friday from 7:00am-7:00pm CST
[email protected]
www.vivo-us.com
Chat live with an agent!
309-278-5303
WARNING!
If you do not understand these directions, or if you have any doubts about the safety of the installation, please call a qualified technician. Check carefully to make sure there are no missing or defective parts. Improper installation may cause damage or serious injury. Do not use this product for any purpose that is not explicitly specified in this manual and do not exceed weight capacity. We cannot be liable for damage or injury caused by an improper mounting, incorrect assembly, or inappropriate use.
WARNING: CHOKING HAZARD
SMALL PARTS – NOT FOR CHILDREN UNDER 3 YEARS. ADULT SUPERVISION IS REQUIRED.
PACKAGE CONTENTS

WARNING
PINCH POINT
DON NOT Please hands-on or near support bars, Moving parts can crush and cut.
Pinch points are created during lifting and lowering the work surface.
Failure to follow these instructions may result in serious personal injury.

DO NOT EXCEED WEIGHT CAPACITY.
Failure to do so may result in serious injury.
TOOLS NEEDED

ASSEMBLY STEPS
STEP 1
Carefully remove the desktop (A) from the packaging.

STEP 2
Flip the desktop (A) upside down, then attach the extended feet (B) to the frame using M5x10mm screws (C).

STEP 3
Press the handles on each side and lift the desktop (A).

STEP 4
Mount brackets (D) to keyboard tray (G) using M5x10mm screws (C).

STEP 5
Hang assembled keyboard tray onto pre-installed knobs, and tighten knobs to secure.
NOTE: Make sure the keyboard brackets are curving towards the user, not towards the inside of the desk.

STEP 6
Place monitor, laptop, and other items on desk surface.

STEP 7
Attach cable clip (E) to desk to manage keyboard and mouse cables.

STEP 8
Manage cables using zip ties (F).

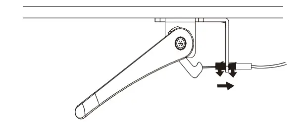
STEP 9
If locks are not releasing properly to change desk height, adjust the position of the black tube containing the steel release cable. Turn the nuts at the end of the tube just behind the handle as shown, moving the tube away from the handle until the cable once again has proper tension, then tighten the nuts.


Failure to follow these instructions may result in property damage and/or personal injury.
Love your new VIVO setup and want to share?
Tag us in your photo! @vivo_us
LAST UPDATED: 03/09/2021
REV1.1

Open Monday – Friday 7:00 am – 7:00 pm CST, our dedicated support team can offer immediate assistance with rapid response times. If any parts are received damaged or defective, please contact us. We are happy to replace parts to ensure you have a fully functioning product.
AVG. RESPONSE TIME (within office hrs): 1HR 8M
– 23% within < 15m
– 38% within < 30m
– 61% within < 1hr
– 83% within < 2hr
– 92% within < 3hr
www.vivo-us.com
Chat live with an agent!
AVG. RESOLUTION TIME (within office hrs): < 15 M
309-278-5303
AVG. RESOLUTION TIME (within office hrs): 5M 4S
FOR MORE VIVO PRODUCTS, CHECK OUT OUR WEBSITE AT: www.vivo-us.com










