VIVO MOUNT-KB05HD Dark Walnut-Black Clamp-on Height Adjustable Keyboard Tray

SKU: MOUNT-KB05HD
Scan the QR code with your mobile device or follow the link for helpful videos and specifications related to this product.
https://vivo-us.com/products/mount-kb05hb
GET IN TOUCH | Monday-Friday from 7:00am-7:00pm CST
- [email protected]
- www.vivo-us.com Chat live with an agent!
- 309-278-5303
WARNING!
If you do not understand these directions, or if you have any doubts about the safety of the installation, please call a qualified technician. Check carefully to make sure there are no missing or defective parts. Improper installation may cause damage or serious injury. Do not use this product for any purpose that is not explicitly specified in this manual. Do not exceed weight capacity. We cannot be liable for damage or injury caused by improper mounting, incorrect assembly or inappropriate use.
WARNING: CHOKING HAZARD
SMALL PARTS – NOT FOR CHILDREN UNDER 3 YEARS. ADULT SUPERVISION IS REQUIRED.
PACKAGE CONTENTS

TOOLS NEEDED

NOTE: SOME HARDWARE INCLUDED MAY NOT BE USED
DO NOT EXCEED WEIGHT CAPACITY. Failure to do so may result in serious injury.
ASSEMBLY STEPS
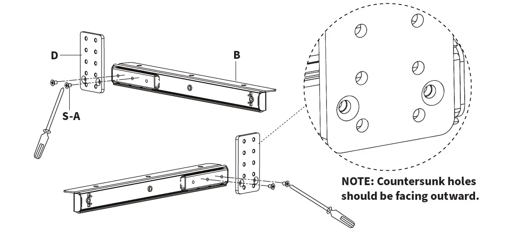
STEP 1
Assemble Slider Brackets (B) to the Support Brackets (D) using M4x7mm Screws (S-A), making sure the countersunk holes on Support Brackets (D) are facing outward, as shown below. Tighten with a Phillips screwdriver.
NOTE: Clamp can be offset using the extra holes in Slider Brackets (B) to allow the tray to be pulled out an extra 1.2” (30mm) when in use. If mounted this way the tray will sit further out from desk edge.
STEP 2
Assemble Slider Brackets (B) with Support Brackets (D) to the Keyboard Tray (A) using M5x12mm Screws (S-B), and tighten with a Phillips screwdriver. The Support Brackets (D) must be on the opposite end from the center cable guide.

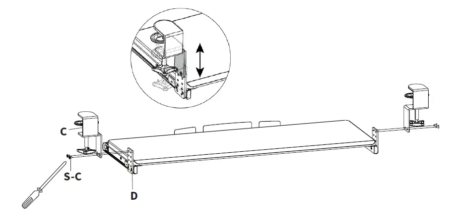
STEP 3
Assemble Clamps (C) to Support Brackets (D) at desired height using M5x8mm Screws (S-C). Tighten with a Phillips screwdriver.

STEP 4
Place Pads (E) on the underside of each Clamp (C). Place assembled keyboard mount on edge of desk and tighten clamps. NOTE: To ensure keyboard tray is level, do not over-tighten clamps. Slide keyboard tray forward/back to desired position.

Love your new VIVO setup and want to share? Tag us in your photo! @vivo_us
Open Monday – Friday 7:00am – 7:00pm CST,
our dedicated support team can offer immediate assistance with rapid response times. If any parts are received damaged or defective, please contact us. We are happy to replace parts to ensure you have a fully functioning product.
309-278-5303
AVG. RESOLUTION TIME (within office hrs): 5M 4S
www.vivo-us.com
Chat live with an agent!
AVG. RESOLUTION TIME (within office hrs): < 15 M
[email protected]
AVG. RESPONSE TIME (within office hrs): 1HR 8M
- 23% within < 15m
- 38% within < 30m
- 61% within < 1hr
- 83% within < 2hr
- 92% within < 3hr
FOR MORE VIVO PRODUCTS, CHECK OUT OUR WEBSITE AT: www.vivo-us.com















