V I V O MOUNT-KB05GP-W Clamp On Height Adjustable Keyboard Tray with RGB Pad

The Clamp-on Height Adjustable Keyboard Tray with RGB Pad is a product designed to enhance the comfort and convenience of your workspace. It comes with a keyboard tray, mouse pad, and RGB pad that can be adjusted to your desired height. The keyboard tray is compatible with any desk or tabletop and can support up to 11 lbs (5kg) of weight.
Product Usage Instructions
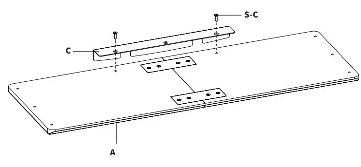
- Assemble the Keyboard Tray (A) using Connecting Plates (B) and M5x12 Flat Head Screws (S-C), and tighten with a Phillips screwdriver.
- Attach the Keyboard Stop (C) to the back of the Keyboard Tray (A) using M5x12 Flat Head Screws (S-C). Tighten with a Phillips screwdriver.
- Attach Slider Brackets (E) to Support Brackets (D) using M4x7mm Flat Head Screws (S-A), making sure the countersunk holes on Support Brackets (D) are facing outward. Tighten with a Phillips screwdriver.
- Assemble Slider Brackets (E) to Keyboard Tray (A) using M5x12mm Screws (S-B), and tighten with a Phillips screwdriver. The slider brackets should protrude from the back of the keyboard tray.
- Assemble Clamps (F) to Support Brackets (D) at the desired height using M5x8mm Flat Head Screws (S-D). Tighten with a Phillips screwdriver.
- Place Pads (G) on the underside of each Clamp (F). Place assembled keyboard mount on the edge of the desktop and tighten Clamps (F).
- Place Mouse Pad (H) on Keyboard Tray (A). Plug Power Cable (I) into Mouse Pad (H) and plug the other end into a 5V USB power supply.
- To ensure the keyboard tray assembly is level, do not over-tighten Clamps (F). Slide Keyboard Tray (A) forward/back to the desired position.
- Use the button on the edge of the Mouse Pad (H) to adjust the light settings. Short press to toggle through light settings, rapid double press to toggle between full and half brightness, and long press to power off. Press the button again to power on.
For any concerns or inquiries, you can contact the support team through email, phone, or live chat. If any parts are received damaged or defective, they can be replaced for a fully functioning product.
SKU: MOUNT-KB05GP/W

Scan the QR code with your mobile device or follow the link for helpful videos and specifications related to this product. Instruction Manual https://vivo-us.com/products/mount-kb05gp
GET IN TOUCH | Monday-Friday from 7:00am-7:00pm CST

- [email protected]
- www.vivo-us.com
- Chat live with an agent!
- 309-278-5303
WARNING!
If you do not understand these directions, or if you have any doubts about the safety of the installation, please call a qualified technician. Check carefully to make sure there are no missing or defective parts. Improper installation may cause damage or serious injury. Do not use this product for any purpose that is not explicitly specified in this manual. Do not exceed weight capacity. We cannot be liable for damage or injury caused by improper mounting, incorrect assembly or inappropriate use.
WARNING: CHOKING HAZARD
SMALL PARTS – NOT FOR CHILDREN UNDER 3 YEARS. ADULT SUPERVISION IS REQUIRED.
PACKAGE CONTENTS

NOTE: SOME HARDWARE INCLUDED MAY NOT BE USED
DO NOT EXCEED WEIGHT CAPACITY.
Failure to do so may result in serious injury.
TOOLS NEEDED

ASSEMBLY STEPS
STEP 1
Assemble the Keyboard Tray (A) using Connecting Plates (B) and M5x12 Flat Head Screws (S-C), and tighten with a Phillips screwdriver.
Attach the Keyboard Stop (C) to the back of the Keyboard Tray (A) using M5x12 Flat Head Screws (S-C). Tighten with a Phillips screwdriver.
STEP 2
Attach the Keyboard Stop (C) to the back of the Keyboard Tray (A) using M5x12 Flat Head Screws (S-C). Tighten with a Phillips screwdriver.
STEP 3
Attach Slider Brackets (E) to Support Brackets (D) using M4x7mm Flat Head Screws (S-A), making sure the countersunk holes on Support Brackets (D) are facing outward, as shown below. Tighten with a Phillips screwdriver.
STEP 4
Assemble Slider Brackets (E) to Keyboard Tray (A) using M5x12mm Screws (S-B), and tighten with a Phillips screwdriver. The slider brackets should protrude from the back of the keyboard tray
STEP 5
Assemble Clamps (F) to Support Brackets (D) at desired height using M5x8mm Flat Head Screws (S-D). Tighten with a Phillips screwdriver.
STEP 6
Place Pads (G) on the underside of each Clamp (F). Place assembled keyboard mount on the edge of the desktop and tighten Clamps (F).
STEP 7
Place Mouse Pad (H) on Keyboard Tray (A). Plug Power Cable (I) into Mouse Pad (H) and plug the other end into a 5V USB power supply.
To ensure the keyboard tray assembly is level, do not over-tighten Clamps (F). Slide Keyboard Tray (A) forward/back to the desired position.
HOW TO USE THE MOUSE PAD
Mouse Pad (H) will automatically turn on when connected to a power source. Use the button on the edge of the pad to adjust the light settings.
LIGHT MODES: Short press to toggle through light settings:
- Green
- Blue
- Purple
- Red
- Indigo
- Yellow
- White
- Magenta
- Orange
- All Color Fade
- Flash
- Slow Flash
BRIGHTNESS: Rapid double press to toggle between full and half brightness
TURN OFF: Long press to power off. Press the button again to power it on.
Love your new VIVO setup and want to share? Tag us in your photo! @vivo_us
LAST UPDATED: 12/08/2022 REV2.1
Open Monday – Friday 7:00 am – 7:00 pm CST, our dedicated support team can offer immediate assistance with rapid response times. If any parts are received damaged or defective, please contact us. We are happy to replace parts to ensure you have a fully functioning product.
- 309-278-5303
- www.vivo-us.com
- Chat live with an agent!
- [email protected]
- AVG. RESPONSE TIME (within office hrs): 1HR 8M
- 23% within < 15m
- 38% within < 30m
- 61% within < 1hr
- 83% within < 2hr
- 92% within < 3hr
FOR MORE VIVO PRODUCTS, CHECK OUT OUR WEBSITE AT: www.vivo-us.com















