V I V O MOUNT-POLEKB Black Pole Mount Tilting Keyboard Tray

SKU: MOUNT-POLEKB
Scan the QR code with your mobile device or follow the link for helpful videos and specifications related to this product.
https://vivo-us.com/products/mount-polekb
WARNING!
If you do not understand these directions, or if you have any doubts about the safety of the installation, please call a qualified technician. Check carefully to make sure there are no missing or defective parts. Improper installation may cause damage or serious injury. Do not use this product for any purpose that is not explicitly specified in this manual. Do not exceed weight capacity. We cannot be liable for damage or injury caused by improper mounting, incorrect assembly or inappropriate use.
WARNING: CHOKING HAZARD
SMALL PARTS – NOT FOR CHILDREN UNDER 3 YEARS. ADULT SUPERVISION IS REQUIRED.
PACKAGE CONTENTS
NOTE: SOME HARDWARE MAY NOT BE USED
TOOLS NEEDED

DO NOT EXCEED WEIGHT CAPACITY. Failure to do so may result in serious injury.
ASSEMBLY STEPS
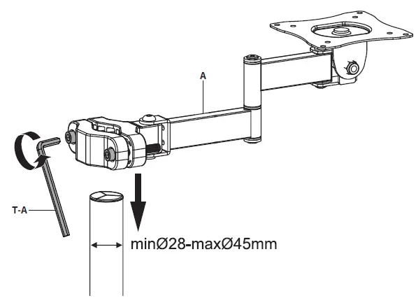
- STEP 1 (Option A)
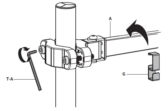
28mm-45mm Diameter Poles Loosen the bolts on Arm (A) using 6mm Allen Wrench (T-A) and slide onto the pole.
Tighten bolts using 6mm Allen Wrench (T-A). Apply Cable Clip (G) to Arm (A).
- STEP 1 (Option B)
46mm-60mm Diameter Poles For pole sizes larger than 45mm, swap pre-installed bolts (A1) with M8x70mm Screws (S-D) using 6mm Allen Wrench (T-A) and slide Arm (A) onto the pole.
Tighten M8x70mm Screws (S-D) using 6mm Allen Wrench (T-A). Apply Cable Clip (G) to Arm (A).
- STEP 1 (Option B)
- STEP 2
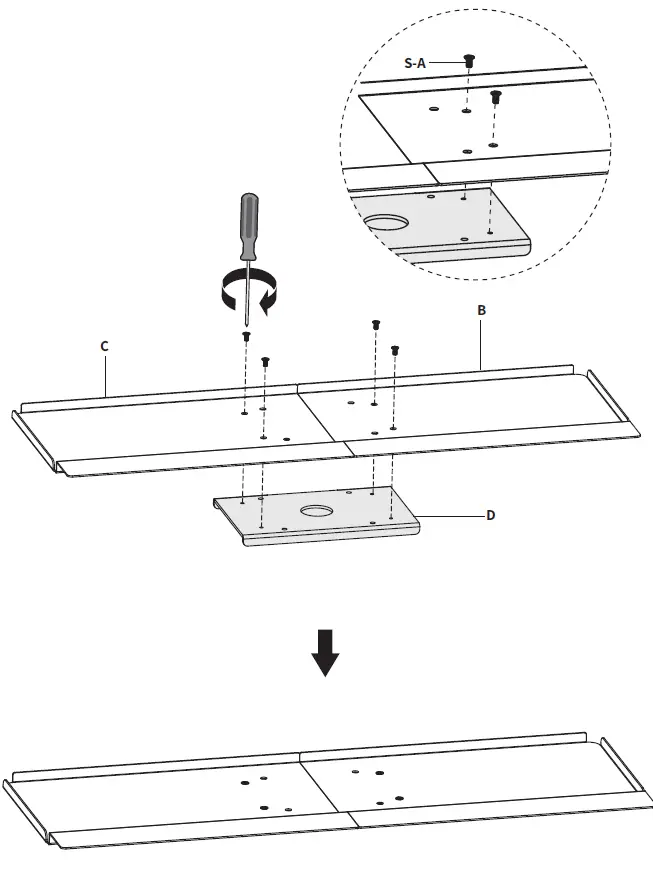
Attach Left Tray (C) and Right Tray (B) with Connecting Plate (D) using M4x8mm Screws (S-A) and a Phillips screwdriver
- STEP 3
Attach Tray Assembly to Arm (A) using M4x12mm Screws (S-B), M4 Nuts (S-C), Wrench (T-B), and a Phillips screwdriver
- STEP 4
Remove protective film from Wrist Pad (F) and place onto the front of the tray assembly. Place Mouse Pad (E) onto the tray assembly.
- STEP 5
Adjust the tilt joint with 6mm Allen Wrench (T-A). Route cables through Cable Clip (G), and adjust as desired.
Love your new VIVO setup and want to share? Tag us in your photo! @vivo_us
Open Monday – Friday 7:00am – 7:00pm CST, our dedicated support team can offer immediate assistance with rapid response times. If any parts are received damaged or defective, please contact us. We are happy to replace parts to ensure you have a fully functioning product
- 309-278-5303 AVG. RESOLUTION TIME (within office hrs): 5M 4S
- www.vivo-us.com Chat live with an agent! AVG. RESOLUTION TIME (within office hrs): < 15 M
- [email protected] AVG. RESPONSE TIME (within office hrs): 1HR 8M
- 23% within < 15m
- 38% within < 30m
- 61% within < 1hr
- 83% within < 2hr
- 92% within < 3hr
FOR MORE VIVO PRODUCTS, CHECK OUT OUR WEBSITE AT: www.vivo-us.com



Tighten M8x70mm Screws (S-D) using 6mm Allen Wrench (T-A). Apply Cable Clip (G) to Arm (A).
















