V I V O MOUNT-KB05ES Black Clamp-on Small Keyboard Tray

- SKU: MOUNT-KB05ES
Scan the QR code with your mobile device or follow the link for helpful videos and specifications related to this product. Instruction Manual https://vivo-us.com/products/mount-kb05e.

WARNING
If you do not understand these directions, or if you have any doubts about the safety of the installation, please call a qualified technician. Check carefully to make sure there are no missing or defective parts. Improper installation may cause damage or serious injury. Do not use this product for any purpose that is not explicitly specified in this manual. Do not exceed weight capacity. We cannot be liable for damage or injury caused by improper mounting, incorrect assembly or inappropriate use.
WARNING: CHOKING HAZARD
SMALL PARTS – NOT FOR CHILDREN UNDER 3 YEARS. ADULT SUPERVISION IS REQUIRED.
PACKAGE CONTENTS
NOTE: 2 Extra screws have been included of each.
- DO NOT EXCEED WEIGHT CAPACITY.
- Failure to do so may result in serious injury.
ASSEMBLY STEPS
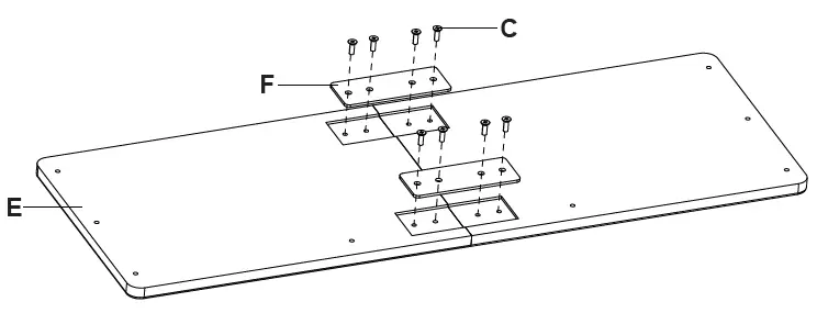
STEP 1
- Assemble the Keyboard Tray (E) using Connecting Plates (F) and M5x12 Flat Head Screws (C), and tighten with a Phillips screwdriver.

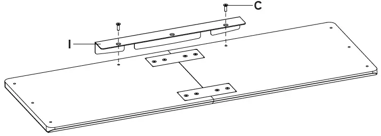
STEP 2
- Attach the Keyboard Stop (I) to the back of the Keyboard Tray (E) using M5x12 Flat Head Screws (C). Tighten with a Phillips screwdriver.

STEP 3
- Assemble Slider Brackets (G) to the Keyboard Tray (E) using M5x12 Screws (B), and tighten with a Phillips screwdriver. The slider brackets should protrude from the back of the keyboard tray.
- NOTE: If the keyboard tray is not sliding in completely, remove the keyboard backstop on the tray. This will allow for an extra 0.75” (19mm) of clearance. If more clearance is needed, change the orientation of the desk having the sync rod facing towards you. This will avoid the crossbar and cable tray entirely.

STEP 4
- Assemble Clamps (H) to the Slider Brackets (G) using M4x7 Screws (A). Tighten with a Phillips screwdriver.
- NOTE: Clamp can be offset using the extra holes in Slider Brackets (B) to allow the tray to be pulled out an extra 1.2” (30mm) when in use. If mounted this way the tray will sit further out from the desk edge.

STEP 5
- Place Pads (D) on the underside of each clamp. Place assembled keyboard mount on the edge of the desk and tighten the clamps.
- NOTE: To ensure the keyboard tray is level, do not over-tighten clamps. Slide the keyboard tray forward/back to the desired position.

Love your new VIVO setup and want to share?
Open Monday – Friday 7:00 am – 7:00 pm CST, our dedicated support team can offer immediate assistance with rapid response times. If any parts are received damaged or defective, please contact us. We are happy to replace parts to ensure you have a fully functioning product. 309-278-5303 AVG. RESOLUTION TIME (within office hrs). www.vivo-us.com. AVG. RESOLUTION TIME (within office hrs): < 15 Chat live with an agent! [email protected].
AVG. RESPONSE TIME (within office hrs): 1HR 8M
- 23% within < 15m
- 38% within < 30m
- 61% within < 1hr
- 83% within < 2hr
- 92% within < 3hr
FOR MORE VIVO PRODUCTS, CHECK OUT OUR WEBSITE AT: www.vivo-us.com.















