VIVO MOUNT-KB05HW White Clamp On Height Adjustable Keyboard Tray

SKU: MOUNT-KB05HW
Scan the QR code with your mobile device or follow the link for helpful videos and specifications related to this product. https://vivo-us.com/products/mount-kb05hw.
NOTE: SOME HARDWARE INCLUDED MAY NOT BE USED
GET IN TOUCH | Monday-Friday from 7:00 am-7:00 pm CST
- [email protected]
- www.vivo-us.com
Chat live with an agent! - 309-278-5303
WARNING!
If you do not understand these directions, or if you have any doubts about the safety of the installation, please call a qualified technician. Check carefully to make sure there are no missing or defective parts. Improper installation may cause damage or serious injury. Do not use this product for any purpose that is not explicitly specified in this manual. Do not exceed weight capacity. We cannot be liable for damage or injury caused by improper mounting, incorrect assembly, or inappropriate use.
WARNING: CHOKING HAZARD
SMALL PARTS – NOT FOR CHILDREN UNDER 3 YEARS. ADULT SUPERVISION IS REQUIRED.
PACKAGE CONTENTS

NOTE: SOME HARDWARE INCLUDED MAY NOT BE USED
DO NOT EXCEED WEIGHT CAPACITY
Failure to do so may result in serious injury.
ASSEMBLY STEPS
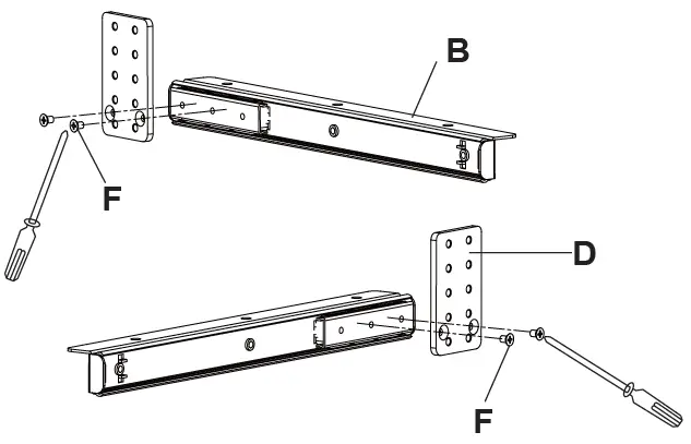
STEP 1
Assemble slider brackets (B) to the support brackets (D) using M4x7 screws (F). Tighten with a Phillips screwdriver.
NOTE:
The clamp can be offset using the extra holes in slider brackets (B) to allow the tray to be pulled out an extra 1.2” (30mm) when in use. If mounted this way the tray will sit further out from the desk edge.
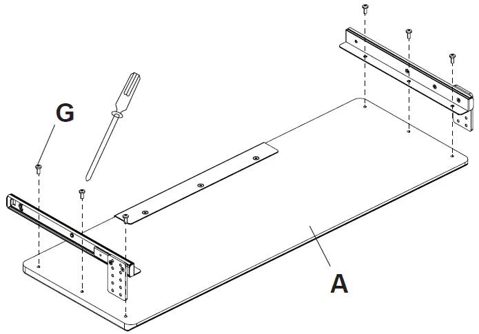
STEP 2
Assemble slider brackets (B) with support brackets (D) to the keyboard tray (A) using M5x12 screws (G), and tighten them with a Phillips screwdriver. The support brackets (D) must be on the opposite end of the center cable guide.
STEP 3
Assemble clamps (C) to support brackets (D) at the desired height using M5x8 screws (H). Tighten with a Phillips screwdriver.
STEP 4
Place pads (E) on the underside of each clamp. Place assembled keyboard mount on edge of the desk and tighten the clamps. NOTE: To ensure the keyboard tray is level, do not over-tighten clamps. Slide the keyboard tray forward/back to the desired position.
Love your new VIVO setup and want to share? Tag us in your photo! @vivo_us.
Open Monday – Friday 7:00 am – 7:00 pm CST
our dedicated support team can offer immediate assistance with rapid response times. If any parts are received damaged or defective, please contact us. We are happy to replace parts to ensure you have a fully functioning product.
AVG. RESPONSE TIME (within office hrs): 1HR 8M
- 23% within < 15m
- 38% within < 30m
- 61% within < 1hr
- 83% within < 2hr
- 92% within < 3hr
www.vivo-us.com
Chat live with an agent!
AVG. RESOLUTION TIME (within office hrs): < 15 M.
- 309-278-5303
- AVG. RESOLUTION TIME (within office hrs): 5M 4S
FOR MORE VIVO PRODUCTS, CHECK OUT OUR WEBSITE AT: www.vivo-us.com.















