V I V O MOUNT-KB07B Silver Under Desk Keyboard Tray

Silver Under Desk Keyboard Tray
Product Information
- SKU: MOUNT-KB07B
- Weight Capacity: 11lbs (5kg)
- Package Contents:
- A (x1) Keyboard Tray
- B (x1) Arm
- C (x1) Clamp
- D (x1) Wrist Pad
- E (x3) Non-Slip Pad
- S-A (x2) M5x6mm Screw
- S-B (x4) M5x12mm Screw
- S-C (x5) ST5x12mm Screw
- T-A (x1) 5mm Allen Wrench
Product Usage Instructions
- Ensure you have at least 16 inches (407mm) of clearance from the front edge of your desktop.
- Loosen Clamp (C) using 5mm Allen Wrench (T-A).
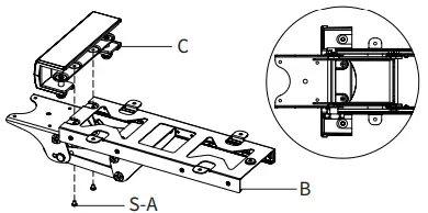
- Assemble Arm (B) to Clamp (C) using M5x6mm Screws (S-A) and a Phillips screwdriver.
- Secure Clamp (C) to the desktop using 5mm Allen Wrench (T-A).
- Using an 11/64 (4.3mm) drill bit, drill pilot holes through Arm (B) into the desktop. Mount Arm (B) in place using ST5x12mm Screws (S-C) and a Phillips screwdriver.
- Assemble Keyboard Tray (A) to Arm (B) using M5x12mm Screws (S-B) and a Phillips Screwdriver.
- To adjust the tray assembly, loosen the knob on the side of Arm (B) and adjust the height and tilt angle as desired, then tighten the knob to lock it into your desired position. Lower the tray below the desktop to store it underneath.
- Slide the mouse pad out from under Keyboard Tray (A). Remove adhesive backing from Wrist Pad (D) and Non-Slip Pads (E) and place them on Keyboard Tray (A).
WARNING: CHOKING HAZARD – SMALL PARTS. NOT FOR CHILDREN UNDER 3 YEARS. ADULT SUPERVISION IS REQUIRED. Failure to follow weight capacity instructions may result in serious injury.
If any parts are received damaged or defective, please contact the support team at [email protected] or call 309-278-5303 for immediate assistance with rapid response times. VIVO is happy to replace parts to ensure you have a fully functioning product.
For more VIVO products, visit our website at https://www.vivo-us.com.
SKU: MOUNT-KB07B
Scan the QR code with your mobile device or follow the link for helpful videos and specifications related to this product. https://vivo-us.com/products/mount-kb07b
GET IN TOUCH I Monday-Friday from 7:00am-7:OOpm CST
[email protected]
www.vivo-us.com Chat live with an agent!
309-278-5303
WARNING!
If you do not understand these directions, or if you have any doubts about the safety of the installation, please call a qualified technician. Check carefully to make sure there are no missing or defective parts. Improper installation may cause damage or serious injury. Do not use this product for any purpose that is not explicitly specified in this manual. Do not exceed weight capacity. We cannot be liable for damage or injury caused by improper mounting, incorrect assembly or inappropriate use.
WARNING: CHOKING HAZARD
SMALL PARTS – NOT FOR CHILDREN UNDER 3 YEARS. ADULT SUPERVISION IS REQUIRED.
PACKAGE CONTENTS

TOOLS NEEDED
DO NOT EXCEED WEIGHT CAPACITY. : Failure todo so may result in serious injury.
ASSEMBLY STEPS
- STEP 1 Make sure you have atleast 16″ (407mm) of clearance from the front edge of your desktop. Loosen Clamp (C) using 5mm Allen Wrench (T-A).

- STEP 2 Assemble Arm (B) to Clamp (C) using M5x6mm Screws (S-A) and a Phillips screwdriver

- STEP 3 Secure Clamp (C) to the desktop using 5mm Allen Wrench (T-A).

- STEP 4 Using a 11/64″ (4.3mm) drill bit, drill pilot holes through Arm (B) into the desktop. Mount Arm (B) in place using ST5x12mm Screws (S-C) and a Phillips screwdriver

- STEP 5 Assemble Keyboard Tray (A) to Arm (B) using M5x12mm Screws (S-B) and a Phillips Screwdriver.

- STEP 6 To adjust the tray assembly, loosen the knob on the side of Arm (B) and adjust the height and tilt angle as desired, then tighten the knob to lock it into your desired position. Lower the tray below the desktop to store it underneath.

- STEP 7 Slide the mouse pad out from under Keyboard Tray (A). Remove adhesive backing from Wrist Pad (D) and Non-Slip Pads (E) and place them on Keyboard Tray (A).

Love your new VIVO setup and want to share?
Tag us in your photo! @vivo_us
Open Monday – Friday 7:00am – 7:00pm CST, our dedicated support team can offer immediate assistance with rapid response times. If any parts are received damaged or defective, please contact us. We are happy to replace parts to ensure you have a fully functioning product.
309-278-5303 AVG. RESOLUTION TIME (within office hrs): 5M 4S
www.vwo-us.com Chat live with on agent! AVG. RESOLUTION TIME (within office hrs) : < 15 M
[email protected]
AVG. RESPONSE TIME (within office hrs): IHR 8M – 23% within < 15m – 38% within < 30m – within < Ihr – 83% within < 2hr – 92% within < 3hr
FOR MORE VIVO PRODUCTS, CHECK OUT OUR WEBSITE AT: www.vivo-us.com























