FURNITURE FSDH-STRAPKIT-6 Super Mini Sliding Barn Door Hardware Kit

INSTALLATION MANUAL

TOOLS REQUIRED

- Plumb Line
- Pencil
- Phillips Head Screwdriver
- 4mm Drill Bit
- Wrench
- Level
- Power Drill
- Tape Measure
INCLUDED IN KIT
| A | Door Roller Hardware | x2 |
| B | Anti-Jump Disk | x2 |
| C | Door Stop Hardware | x2 |
| D | End Cap | x2 |
| E | Mounting Bracket for ¾” and 1″ Doors | x5 ea. |
| F | M6x60 Bolt + Washer | x10 |
| G | Routed Door Guide | x1 |
| H | ST4.2×35 Screw | x2 |
| I | Anchor | x2 |
| J | 1.5mm Allen Key | x1 |
| K | Hole Cover | x4 |
| L | 72″ Rail | x1 |
PLEASE NOTE: The installation manual is a suggested guideline. Adjustments may need to be made based on your specific application.
- Architectural Products by Outwater assumes no liability for improper installation.
UNDERSTANDING YOUR RAIL
INSTALLATION

- Using a pencil, mark the locations where you will drill holes as indicated.

- Using a power drill with a 4mm drill bit, drill holes as indicated.
- Architectural Products by Outwater assumes no liability for improper installation.
- Install the rail, mounting brackets [E], and door stops [C].

NOTE: Door stops [C] are installed on the outermost holes of the rail and shares the same mounting hardware [E].

- Drill holes into the doors as indicated. Attach the roller straps [A].
- It is suggested that the roller strap [A] be mounted 5″ from the edge of the door to the neck of the roller strap.

NOTE: Trimming the rail will alter the position of the roller hardware. Adjust accordingly.
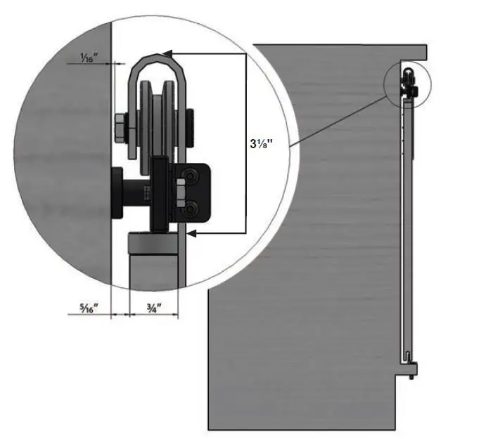
FOR ¾” DOORS

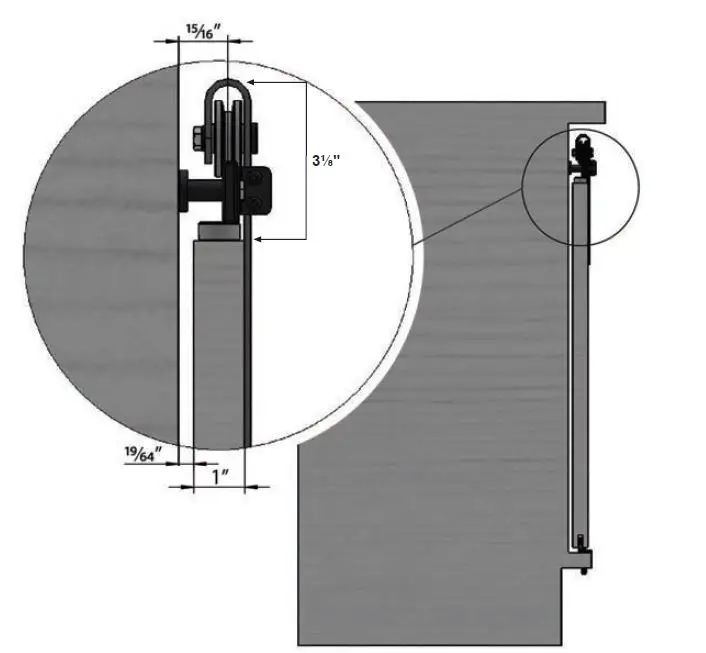
FOR 1″ DOORS

- Allow a minimum 3-1/8″ clearance above the doors.

- Attach the anti-jump disks [B] to the doors.

- Attach the doors to the rail [L] and lock the anti-jump disks [B] into position. Doors should be routed beforehand if using the routed door guide [G].
- If using the routed door guide [G], install at this time.

- Use the hole covers [K] to give the rail a finished look.

- The rail can be trimmed if necessary using a band saw. Use blades suitable for iron or stainless steel depending on your rail.

NOTE: If you are trimming the rail, do so equally. Each rail can be trimmed equally up to 3″ on both sides. However; trimming will alter the position of the roller hardware. Adjust accordingly.
- Once cut, add the end caps [D] to the ends of the rail and secure with a set screw.
























