EMTEK Flat Track Sliding Barn Door Hardware

General Info
- The wall or structure that your system will be mounted on must be designed to support a maximum door weight of 400 lbs.
- Ensure that door panels are constructed with solid, structural material.
- Do not install directly into drywall. Must be installed into wall blocking or header board.
- Check with your contractor and/or your city of residence to confirm accordance with local building codes.
- For best results, seek qualified building professionals for installation.
Tools Required

What’s in the box

Mark for Track
Use the track as a template to mark the center of the holes.
Tracks with splice kits have a unique hole spacing between splice.
Do not install directly into Drywall. Must attach to a pre-installed header board or the wall must be braced internally.
*Header board and anchor screws not included.

Install Optional Soft Open/Close – Part 1
Mount the soft open/close on the bottom of the track and ensure that it is oriented in the correct direction for operation.

Secure Track
Drill 19/64” [7.54mm] pilot holes in marked locations for track fasteners.
Attach track to wall using track brackets and fasteners as shown.

Prep Door for Hangers & Floor Guide

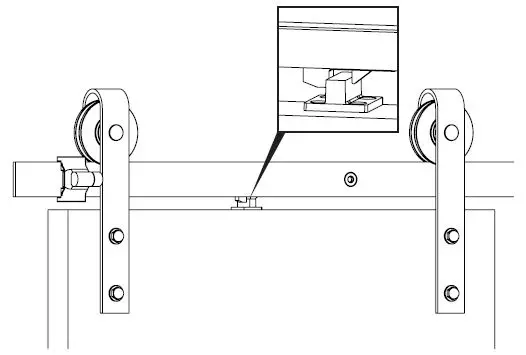
Install Anti-Jump
Install anti-jump flush to front of door.

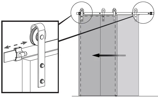
Mount Hangers to Door
Tip: You may need to counterbore the back of the door for thick door applications.

Hang the Door
Prior to hanging door on track rotate anti-jump toward front face of door as shown to disengage.

Adjust the Stops
Tighten set screws. Start with bottom set screws then move to top set screws with sufficient force to drive set screws into bar after final adjustment. Ensure the stops allow for the door to extend the desired length over the door opening. Adjust stops accordingly.

Install Floor Guide
Drill pilot holes for anchors using 11/32” drill bit. Mount floor guide with anchors and screws provided.

Tip: Install floor guide in a position where it won’t be exposed with door in the open or closed position.
Install Optional Soft Open/Close – Part 2
- Move door to desired stop location.
- Place soft catch under soft open/close as shown.
- Mark location of soft catch.
- Remove door from track
- Install soft catch at marked location
- Hang door on track

Copyright © 2021, EMTEK Products, Inc. an ASSA ABLOY Group company. All rights reserved. Reproduction in whole or in part without the express written permission of EMTEK Products, Inc. is prohibited.
WARNING: This product can expose you to chemicals including lead, which is known to the state of California to cause cancer and birth defects or other reproductive harm. For more information go to www.P65Warnings.ca.gov.




















