Cashlay MVSJBMF 8 ft./96 in. I-shaped Sliding Double Barn Door Hardware Kit

Product Content

Tools Needed

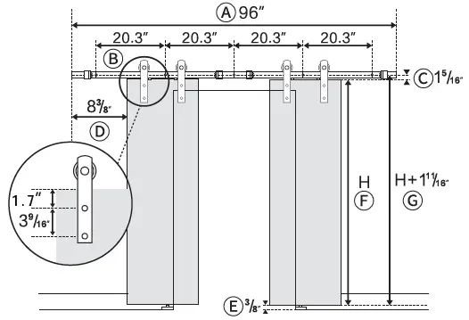
Measurements

- A. Over rail length is 96.
- B. The gap between each pre-drilled hole is 20.3.
- C. Distance from door top side to holes on the wall is 1 he”.
- D. End of the rail is 87s away from the entrance of the door.
- E. Distance from the bottom of the door is e
- F. Door height is H.
- G. The height of holes on the wall is H+1’h6.
Instructions
It is very important to determine whether you will be installing a Header Board prior to installing the track.
Due to many overlapping factors such as the location of wall studs (Our rail comes with pre-drilled holes every 20.3″ on center), the weight of a barn door, and the various types of trim used in homes, we recommend using a Harder Board in all situations.
Installation Instructions
Please install a 1’x 4″ or 1″x 6″ Header Board above the door opening directly into studs. Header Board must be solid wood and measure at least the full length of the track or longer.
Installation
- Place the rail against the wall, and use a pencil to mark whether the holes should be. Mark sure the height of the holes on the wall is H +1’h6.

- We provide 2 kinds of screws for you to install rail onto concrete walls or drywall.
- Concrete wall installation.
Install the anchor to holes on the concrete wall first, then install the lag bolt to the anchor.
- Drywall installation.
Install the lag bolt to the wood stud or headboard directly.
- Concrete wall installation.
- Insert door stoppers into the rail, and install door stoppers between A-B, E-F, G-H, and C-D Door stopper is used to prevent the hangers from coming out of the rail.

- Use a router or circular saw to create a kerf at bottom of the door, along the center to allow the tip of the T-shaped floor guide to fit in between, to keep your door stable and prevent the door bottom swinging back and forth when you slide it open and closed.

- Install the hangers onto the door according to the measurement in the pictures below. Maximum door thickness is 1 3/4″, please add Some bolt washers or cut the long door bolts to a suitable length to fit the door.

- The rubber ends are used to protect the door from touching the rail when sliding the door. You need to drill holes on the door’s top side, please drill the holes 1/2 away from the edge of the door. Then install the rubber ends on the door.

- Hang the door over the rail.

- Turn the rubber ends approximately 180 degrees so that they are stuck between the door and the rail.

- Adjust the 2 door stoppers to find a suitable position, and use the hex key to screw the door stoppers in place.

- Install the floor guide. Put the floor guide on the floor first to fix a suitable position and make a mark so that the tip of the floor guide can work well in the slot. Use suitable drill bits to drill holes on the floor where the mark is, and then install the floor guide.
































