Barn Door Hardware Kit
Installation Guide
Main Components

TOOLS REQUIRED

IMPOR TANT : BEFORE YOU BEGIN
IF INSTALLING DIRECTLY INTO A NON-CONCRETE WALL, DO NOT ATTEMPT TO INSTALL THE RAIL SOLELY TO THE DRYWALL OR ANY WALL SURFACE AS THIS MAY NOT SUPPORT THE WEIGHT OF THE RAIL AND MOUNTED DOOR. THE RAIL MUST BE INSTALLED ONTO A PIECE OF SOLID WOOD BLOCKING (SOLD SEPARATELY). USING MOUNTING SCREWS (ALSO SOLD SEPARATELY) ENSURES THE SOLID WOOD BLOCK IS SECURED TO THE STRUCTURAL SURFACE. USE A STUD FINDER WHERE NECESSARY TO LOCATE STUDS AND SECURE THEM SAFELY. TYPICAL SOLID WOOD BLOCKING SHOULD BE 1″ X 4″ TO THE LENGTH OF THE RAIL. NOTE, THE MAXIMUM THICKNESS OF THE DOOR MUST BE 1 3/8″. IF INSTALLED WITH THE FLOOR-MOUNTED DOOR GUIDE, THE DOOR MUST BE MORTICED 1/4″ WIDE X 3/4″ DEEP CENTRALLY. A SECONDARY WALL-MOUNTED DOOR GUIDE HAS ALSO BEEN PROVIDED FOR NON-MORTICED DOOR INSTALLATION.
Step 1. Door Preparation
doors are pre-routed along the bottom and do not require door preparation.
Mortice 1/4″ wide x 3/4″ deep groove centrally to the bottom of the door for use with the floor-mounted door guide. This will ensure smoothness of door travel side-to-side and will prevent the door from swinging in and out.

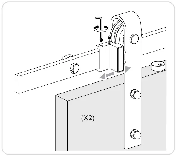
Step 2a. Door Preparation –
Strap Installation for Bent Strap
Position each strap to the front of the door center to the stile or a minimum of 2″ from the edge of the door. Cut a piece of cardboard 2″ high and place it between the wheel (inner groove) and the top of the door to correctly position the height of the straps.
Mark holes with a pencil and pre-drill 3/8″ holes, then secure them into place. Repeat from the second strap.

Step 2b. Door Preparation –
Strap Installation for Top Mount Position each roller a minimum of 4″ from the edge of the door.
Mark the first hole with a pencil and pre-drill 1/8″ holes, then secure it into place. Mark the second hole with the roller in place to ensure the roller is secure. Repeat for the second roller.

Step 3. Door Preparation –
Anti-jump block installation
Position each anti-jump block at least 1″ from the edge of the straps. Tighten slightly to secure into place.

Step 4. CONCRETE Wall Preparation
IF INSTALLING INTO DRYWALL, PLEASE PROCEED TO STEP 7. Position the rail by measuring up from the door height (H) + 1 3/4″ to the center of the track. Also ensure a gap of 3/8″ at the bottom. Ensure the rail is level and leave a minimum of 2″ from the end of the rail to the side of the opening (as shown). If installing with an opening for 80″ standard door size, remove the top trim and cut the side trim horizontally along the height of the opening.
Image for bent strop shown

Step 5. CONCRETE Wall Preparation
Position the rail in place ensuring that it is level, mark the holes on the rail using a pencil, and pre-drill 5/16″ holes into the concrete.

Step 6. CONCRETE Rail Installation
When installing directly into concrete, insert using the provided anchors and carriage bolts (with washers). Ensure to unscrew to separate the carriage bolt and anchor to install correctly, securing a wrench. Ensure to insert both stoppers on either side of the rail inside the first hole.

Step 7. DRYWALL Wall Preparation
When installing into drywall, a piece of 1″ x 4″ solid wood blocking is required to be mounted to the wall before proceeding with the rail installation. Position the solid wood blocking by measuring up from the door height (H) – 1 3/4″ to the center of the track. Also ensure a gap of 3/8″ at the bottom. Lastly, ensure the solid wood blocking is level and leave a minimum of 2″ from the end of the blocking to the side of the opening (as shown). If installing with an opening for 80″ standard door size, remove the top trim and cut the side trim horizontally along the height of the opening.
Image for bent strap shown
Step 8. DRYWALL Wall Preparation
Position the rail on top of the wood blocking ensuring levelness, mark the holes using a pencil, and pre-drill 5/16″ holes into the wood blocking.

Step 9. DRYWALL Rail Installation
When installing into the solid wood block and wall, insert using the provided wall screws. Align each spacer to the rail holes, inserting spacers and screws with a wrench.
Ensure to insert both stoppers on either side of the rail inside the first hole.


Step 10. Hanging the Door
Place the assembled door onto the secured rail and tighten each anti-jump block. Ensure all parts are operating correctly by sliding the door side-to-side.

Step 11. Floor-Mounted Door Guide Installation
Once the door is plumb, position the floor-mounted door guide inside the morticed door, and line up close to the opening. Slide the door side-to-side to ensure functionality for final placement then mark holes with a pencil and pre-drill 1/4″ holes. If drilling directly into a concrete floor, use the provided anchors.
Step 12. OPTIONAL Track Joiner
Note: Track joiner sold separately. Designed to join (2) tracks for wider opening applications. Align the two tracks together. Position the track joiner on the front face of the tracks, with the lip under the bottom edge. Use the Allen key to fasten the four screws in place.

Step 13. Stopper Installation
Slide the door closed and correct the position of both stoppers. Using the provided Allen key, tighten into position.
Image for bent strap shown

Step 14. Fill-in Plug
If your track has 2 holes on each end, it has been prepared for kit expansion. Ask your supplier about a track joiner (sold separately) to expand your kit. If you do not wish to add another kit, use the plugs supplied to fill the holes. This will complete the installation of the Barn Door Kit.




















