steinel L 10 S Sensor Outdoor Light

About this document
- Under copyright. Reproduction either in whole or in part only with our consent.
- Subject to change in the interest of technical progress.
! Hazard warning!
Warning of hazards from electricity!
Warning of hazards from water!
General safety precautions
Failure to observe these operating instructions presents hazards!
These instructions contain important information on the safe use of this product.
Particular attention is drawn to potential hazards.
Failure to observe this information may lead to death or serious injuries.
- Read instructions carefully.
- Follow safety advice.
- Keep instructions within easy reach.
- Working with electrical current may produce hazardous situations. Touching live parts can result in electrical shock, burns or death.
- Work on mains voltage must only be performed by qualified, skilled personnel.
- National wiring regulations and electrical operating conditions must be observed (e.g. D: VDE 0100, A: ÖVE-ÖNORM E8001-1, CH: SEV 1000).
- Only use genuine replacement parts.
- Repairs must only be carried out by companies qualified to do so.
System description
Proper use for L 10 S
- E 27 light source with infrared motion sensor.
- For mounting on outdoor walls.
- Not suitable for connecting to a dimmer.
Operating principle
- The integrated infrared sensor detects the heat radiated from moving objects (e.g. people, animals). The heat detected in this way is converted electronically into a signal that switches the light source ON automatically.
- The most reliable way of detecting motion is to install the unit with the sensor aimed across the direction in which a person would walk.
- Motion detection reach is restricted when the unit is approached head on.
- Obstacles (such as trees, walls or panes of glass) may restrict or prevent the detection of movement.
- Sudden fluctuations in temperature as a result of changes in weather are not distinguished from sources of heat.
Proper use for L 10
- E 27 light source.
- For mounting on outdoor walls.
- Not suitable for connecting to a dimmer.
L 10 S package contents

- E 27 light with infrared motion sensor
- 2 screws
- 2 wall plugs
- 6 lens covers
- 1 safety data sheet
- 1 quick-start guide
Bulbs are not included.
L 10 package contents

- E 27 light
- 2 screws
- 2 wall plugs
- 1 safety data sheet
- 1 quick-start guide
Bulbs are not included.
L 10 S product dimensions



- A Luminaire
- B Connecting terminal
- C Top cover
- D E27 light sourc
- E Sensor unit

- F Time setting
- G Twilight setting
L 10 product components

- A Luminaire
- B Connecting terminal
- C Top cover
- D E27 light source
Electrical connection
Circuit diagram

The mains power supply lead is a 2-core cable:
- L = Phase conductor (usually black, brown or grey)
- N = Neutral conductor (usually blue)
- ↓= Switched phase conductor (usually black, brown or grey)
- PE = Protective-earth conductor (usually green-yellow)
The luminaire can also be connected to the power supply downstream of a mains switch if it is ensured that the mains switch is left ON all the time.
Note:
The light source in this light is interchangeable.

Installation
Hazard from electrical power.
Touching live parts can result in electrical shock, burns or death.
- Switch OFF power and interrupt power supply.
- Using a voltage tester, check to make sure that the power supply is disconnected.
- Make sure power supply remains interrupted.
Risk of damage to property!
Mixing up connection leads may produce a short circuit.
- Identify connection leads.
- Connect the leads correctly.
Preparing for installation
- Check all components for damage. Do not use the floodlight if it is damaged.
- Select an appropriate site to install the product.
- Take reach into consideration.
- Take reach and motion detection into consideration.
- Vibration-free.
- No obstacles in detection zone.
- Not in explosive atmospheres.
- Not on normally flammable surfaces.
- Do not look into the light source from a short distance (< 30 cm).
- Spaced at a distance of at least 50 cm from other LED lights.
L 10 S reach

Detecting movement of persons walking past the L 10 S

Mounting procedure

- Check to make sure the power supply is switched OFF.
- Unscrew retaining screws and dismount luminaire from the wall mount.

- Remove connecting terminal from wall mount.

- Unscrew top cover from the luminaire.

- Fit E27 light source.

- Install top cover.

- Mark drill holes.

- Drill the holes.

- Pierce sealing plug for power supply lead.
- Firmly screw wall mount into place.

- Pierce sealing plug for power supply lead.
- Firmly screw wall mount into place.
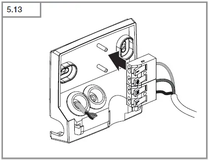
- Lead wires trough the opening for surface mounted wiring.

- Put connecting terminal back in wall mount.

- Connect mains power supply lead as shown in the wiring diagram.
➔ „4. Electrical connection“.
- Mount luminaire on wall mount.
- Screw in retaining screw.

- Switch ON power supply.
- Setting functions.
➔ „6. Function“
Function
L 10 S

- Make settings.
Time setting (F)
The time (stay-ON time) can be set to any period from approx. 5 seconds to a maximum of 60 minutes. Every movement detected re-activates the light.
Note: after the luminaire switches OFF, it takes approx. 1 second before movement can detected again. The E27 light source can then switch ON again in response to movement.
Twilight setting (G)
The response threshold (twilight) can be infinitely varied from approx. 2 to 2,000 lux.
- = daylight mode (depending on ambient light level)
- = night-time operation (approx. 2 lux)
The control dial must be turned to when adjusting the detection zone and performing the functional test in daylight.
Factory settings
- Twilight setting: daylight mode 2,000 lux
- Time setting: 5 seconds
Adjusting the L 10 S detection zone
To rule out inadvertent triggering or target specific danger spots, the detection zone can be limited with lense plastic covers. The lens plastic cover is installed in the design ring.

- Dismount design ring from the sensor unit.

- Install desired amount of the plastic covers to the design ring and connect them.

- Fit design ring with covers back on the sensor unit.

- By rotating the design ring with the installed covers, the detection range is limited.
- Detection range can also be adjusted by cutting the plastic covers.
The shortest time and daylight mode setting is recom-mended when adjusting the detection zone and perform-ing the functional test.
Cleaning and maintenance
The tool requires no maintenance.
Hazard from electrical power.
Contact between water and live parts can result in electric shock, burns or death.
- Only clean tool in a dry state.
Risk of damage to property!
Using the wrong cleaning product can damage the light.
- Clean tool with a moist cloth without detergent.
Disposal
Electrical and electronic equipment, batteries, accessories and packaging must be recycled in an environmentally compatible manner.
Do not dispose of batteries or electrical and electronic equipment as domestic waste.
EU countries only:
Under the current European Directive on Waste Electrical and Electronic Equipment and its implementation in nation-al law, batteries and electrical and electronic equipment no longer suitable for use must be collected separately and recycled in an environmentally compatible manner.
Declaration of Conformity
STEINEL Vertrieb GmbH hereby declares that the L 10 S, L 10 radio equipment type conforms to Directive 2014/53/EU.
The full wording of the EU Declaration of Conformity is available for downloading from the following Internet address: www.steinel.de
Manufacturer’s warranty
This Steinel product has been manufactured with utmost care, tested for proper operation and safety and then sub-jected to random sample inspection. Steinel guarantees that it is in perfect condition and proper working order. The warranty period is 36 months and starts on the date of sale to the consumer. We will remedy defects caused by material flaws or manufacturing faults. The warranty will be met by repair or replacement of defective parts at our own discretion. The warranty shall not cover damage to wear parts, damage or defects caused by improper treatment or maintenance. Further consequential damage to other objects shall be excluded.
Claims under the warranty will only be accepted if the unit is sent fully assembled and well-packed with a brief description of the fault, a receipt or invoice ( date of purchase and dealer’s stamp ) to the appropriate Service Centre.
Repair service:
If defects occur outside the warranty period or are not covered by the warranty, ask your nearest service station for the possibility of repair.
Technical specifications
- Dimensions (H × W× D):
- L 10 S: 255 . 175 . 224 mm
- L 10: 242 . 175 . 224 mm
- Power supply: 220-240 V, 50/60 Hz
- Output: max. 15 W / E27
- Switching capacity L 10 S:
- Incandescent / halogen lamp load: 1,000 W
- Low-voltage halogen lamps: 1,000 VA
- Fluorescent lamps, uncorrected: 500 VA
- Fluorescent lamps, series-corrected: 500 VA
- Fluorescent lamps, parallel-corrected: 500 VA
- Fluorescent lamps, EVG: 1,000 W
- LED lamps < 2 W: 16 W
- 2 W < LED lamps < 8 W: 64 W
- LED lamps > 8 W: 64 W
- Capacitive load: 132 μF
- Mounting height: optimum mounting height: 2 m
- Angle of coverage: L 10 S: 180°
- Sensor reach in installation height 2 m:
- L 10 S: max. 7.5 m
- Twilight setting: L 10 S: 2 – 2,000 lux
- Time setting: L 10 S: 5 s – 60 min
- IP rating IP44
- Ambient temperature: -20 °C to +40 °C
- Protection class: II
- Impact resistance IK03
Troubleshooting
Unit without power.
- Fuse not switched ON or faulty.
- Switch ON fuse.
- Change faulty fuse.
- Break in wiring.
- Check wiring with voltage tester.
- Short circuit in mains power supply lead.
- Check connections.
- Any mains switch OFF
- Switch ON mains switch.
- Unit does not switch ON.
- Wrong twilight setting selected.
- Reset twilight setting.
- Mains switch OFF.
- Turn on mains switch.
- Fuse not switched ON or faulty.
- Switch ON fuse.
- Change faulty fuse.
- Rapid movements being suppressed to minimize malfunctioning, or detection zone too small or incorrectly defined.
- Check and adjust detection zone.
- Unit does not switch OFF.
- Continued movement within the detection zone.
- Check detection zone.
- If necessary, limit or change detection zone.
- Unit switches ON when it should not.
- Floodlight not mounted for detecting movement reliably.
- Securely mount floodlight.
- Movement occurred but not identified by the observer (small object moving in immediate proximity of lamp etc.).
- Check detection zone.
- If necessary, limit or change detection zone.
STEINEL Vertrieb GmbH
Dieselstraße 80-84
33442 Herzebrock-Clarholz
Tel: +49/5245/448-188
www.steinel.de
Contact
www.steinel.de/contact



































