Steinel L 620 CAM SC Sensor LED Outdoor Light
About this document
Please read it carefully and keep it in a safe place.
- Under copyright. Reproduction either in whole or in part only with our consent.
- Subject to change in the interest of technical progress.
Symbols
Hazard warning!
Reference to other information in the document.
General safety precautions
Disconnect the power supply before performing any work on the unit.
- During installation, the electric power cable is connected and must not be live. Therefore, switch off the power first and use a voltage tester to make sure the wiring is off-circuit.
- Installing the camera light involves work on the mains voltage supply. This work must therefore be carried out professionally in accordance with national wiring regulations and electrical operating conditions. ( e.g. DE- VDE 0100, AT- ÖVE / ÖNORM E8001-1, CH- SEV 1000 )
- Only use genuine replacement parts.
- Repairs may only be made by specialist workshops.
L 620 CAM SC
Proper use
- Sensor-switched light with integrated camera and intercom system for installing on outdoor walls
The L 620 CAM SC features a camera with a memory card and intercom system. Both functions can also be controlled via an app.
A passive motion detector is integrated into the L 620 CAM SC. The integrated high-performance infrared sensor detects the invisible heat radiated from moving objects ( people, animals, etc. ). The heat detected in this way is converted electronically into a signal that switches the light ON automatically. Heat is not detected through obstacles, such as walls or panes of glass. Heat radiation of this type will, therefore, not trigger the sensor.
Important:
The most reliable way of detecting motion is to install the camera light with the sensor aimed across the direction in which a person would walk and by ensuring that no obstacles ( such as trees and walls, for example ) obstruct the line of sensor vision. Reach is limited when walking directly toward the light.
Package contents ( Fig. 3.1 )
- Camera light
- Four screws
- Four wall plugs
- Reset key
- Torx spanner
Product dimensions ( Fig. 3.2 )
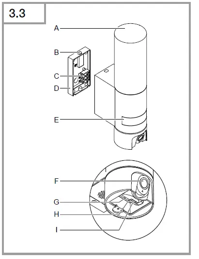
Product components ( Fig. 3.3 )
- A Camera light
- B Lock
- C Connecting terminal
- D Wall mount
- E Sensor unit
- F Camera
- G Reset button
- H Status LED
- I Slot for memory card
Luminous intensity distribution ( Fig. 3.4 )
Electrical connection
- Switch OFF the power supply ( Fig. 4.1 )
Wiring diagram ( Fig. 4.1 )
The supply lead consists of three wires:
- L = phase conductor ( usually black, brown or grey )
- N = Neutral conductor ( usually blue )
= protective-earth conductor ( green/yellow )
If you are in any doubt, identify the conductors using a voltage tester; then disconnect from the power supply again. Connect phase, neutral and protective-earth conductor to the terminal.
Important: Incorrectly wired connections will produce a short circuit later on in the product or your fuse box. In this case, you must identify the individual conductors once again and reconnect them. A mains power switch for turning the unit ON and OFF may of course be installed in the mains supply lead.
The light source of this luminaire cannot be changed. If the light source needs to be replaced ( e.g. at the end of its service life ), the complete luminaire must be replaced.
Connection to a dimmer will result in damage to the camera light.
Mounting
- Check all components for damage.
- Do not use the product if it is damaged.
- When installing the camera light, make sure the installation site is not exposed to vibration.
- Select an appropriate mounting location, taking the reach and motion detection into consideration. ( Fig. 5.1 )
- Select an appropriate mounting location, taking the WLAN speed into consideration. A minimum of 2 Mbps must be available for operation.
Mounting procedure
- Undo retaining screw, detach camera light from the wall mount. To do this, press lock ( Fig. 5.2 )
- Mark drill holes ( Fig. 5.3 )
- Drill holes and insert wall plugs ( Fig. 5.4 )
- Screw down wall mount ( Fig. 5.5 )
- Connect conductors ( Fig. 5.6 )
- Fit the camera light on a wall mount and tighten the retaining screw ( Fig. 5.7 )
- Switch ON power supply ( Fig. 5.7 )
- Make settings ➜ “6. Function” The camera can be aligned by hand. ( Fig. 5.8 )
Function
Factory settings Twilight level: 10,000 lux Time setting: 1 minute Basic light level: 40%

Note:
The camera light needs a stable Wi-Fi connection. The smartphone or tablet used must have access to the Internet and be connected to the same Wi-Fi network as the camera light for the installation process.
Installation
- Download app.
- The camera light is ready for configu-ration as soon as the power supply is switched ON. A signal sounds every 4 seconds during configuration.
- The signal sounds once a second while the camera light is being connected to the smartphone or tablet.
- Now enter the network name and password of the Wi-Fi router into your app.
Camera function
- As soon as the camera has been set up from a smartphone or tablet, it can only be shared with other devices from that device via QR code/serial number.
- Once the sensor has triggered, you will receive a push notification via the app.
- Open the app. You can now use the image display and intercom system.
- The camera films a sequence when the sensor has been triggered. The filmed sequence is saved on the memory card and can be retrieved at any time. The recorded data is only saved on the camera light’s memory card.
Note:
You will find further information on the functions and setting options in the app.
Twilight setting
The chosen response threshold can be infinitely varied from 10 to 10,000 lux.
Time setting
The time you wish the light to stay ON for can be set to 1 minute, 3 minutes, 10 minutes, or 15 minutes. Any movement detected before this time elapses will restart the timer.
Basic light level
The basic light level function provides illumination at approx. 0% to 40% light output when the light level falls below the light-level setting.
Changing the memory card
- Undo retaining screw and remove cover ( Fig. 6.1 )
- Changing memory card ( Fig. 6.2 )
- Fit cover and tighten retaining screw ( Fig. 6.4 )
Restoring factory settings
- Press the reset button for approx. 7 seconds ( Fig. 6.3 )
Note:
Pressing the reset button with the key will return the camera lightly to factory settings.
Once the light has been reset, an acoustic signal will sound every 4 seconds.
- Fit cover and tighten the retaining screw ( Fig. 6.4 )
Maintenance and care
The camera light requires no maintenance.
Weather conditions may affect the way the camera light functions. Strong gusts of wind, snow, rain, or hail may cause the light to come ON when it is not wanted because the sensor is unable to distinguish sudden changes in temperature from sources of heat. The detector lens and camera lens may be cleaned with a damp cloth if they get dirty ( do not use cleaning agents ).
Important note: the control gear cannot be replaced.
Disposal
Electrical and electronic equipment, accessories, and packaging must be re-cycled in an environmentally compatible manner.
Do not dispose of electrical and electronic equipment as domestic waste.
EU countries only:
Under the current European Directive on Waste Electrical and Electronic Equipment and its implementation in national law, electrical and electronic equipment no longer suitable for use must be collected separately and recycled in an environmentally compatible manner.
Declaration of Conformity
Hereby, STEINEL Vertrieb GmbH declares that the radio equipment type L 620 CAM SC is in compliance with Directive 2014/53/EU. The full text of the EU declaration of conformity is available at the following internet address:
www.steinel.de
Manufacturer’s warranty
This STEINEL product has been manufactured with great care, tested for proper operation and safety in accordance with applicable regulations, and then subjected to random sample inspection. STEINEL guarantees that it is in perfect condition and in proper working order. The warranty period is 36 months, starting from the date of sale to the consumer. We will remedy defects caused by material flaws or manufacturing faults. The warranty will be met by repair or replacement of defective parts at our own discretion. The warranty shall not cover damage to wear parts, damage or defects caused by improper treatment or maintenance. Further consequential damage to other objects shall be excluded.
Claims under warranty shall only be accepted if the product is sent fully assembled and well packed complete with receipt or invoice ( date of purchase and dealer’s stamp ) to the appropriate service center or handed into the dealer within the first 6 months.
Repair service:
Please ask your nearest service center how to proceed for repairing faults not covered by the warranty or occurring after the warranty expires.
Legal Notes
Privacy
The L 620 CAM SC has been developed for outdoor use. Laws in your country may restrict the observation of areas outside your home or property. Please familiarise yourself with local legislation. To protect the privacy of others, install the camera so that it is unable to film public places, roads, or your neighbor’s property.
We also recommend that you inform relatives, visitors, and household employees about the L 620 CAM SC and its function.
Safety
Please note that the app will not automatically inform you if the L 620 CAM SC is activated in emergencies or, for instance, in the event of burglaries. If necessary, you must always make an emergency call. STEINEL Vertrieb GmbH will not accept any liability for lacking or incorrect notification or film sequences.
Technical specifications
Camera
| Camera | GB | |
| Resolution | 1920 x 1080 px, dazzle guard | |
| Angle of aperture | 110° horizontally / 90° vertically | |
| Setting angle | 90° horizontally to either side / 20° to 30° vertically | |
| Memory card. | Max. 128 GB (16 GB memory card is included) | |
| Power consumption | 1.53 W | |
Troubleshooting
| 13. Troubleshooting |
| Malfunction Cause Remedy |
| Camera light without ■ Fuse has tripped, not ■ Activate, change fuse, turn power switched ON, break in wiring ON power switch, check wiring with voltage tester ■ Short circuit in mains power ■ Check connections supply lead ■ Mains switch OFF ■ Switch on mains switch |
| Camera light not ■ Incorrect twilight setting ■ Readjust switching ON selected ■ Mains switch OFF ■ Switch ON ■ Fuse has tripped ■ Activate, change fuse, check connection if necessary |
| Camera light not ■ Continued movement within ■ Check detection zone switching OFF the detection zone |
| Camera light ■ Camera light not mounted ■ Securely mount enclosure switches ON without for detecting movement obvious movement reliably ■ Movement occurred, but not ■ Check detection zone identified by the observer ( movement behind the wall, movement of a small object in immediate lamp vicinity, etc. ) |
| Camera light, not ■ Rapid movements are ■ Check detection zone switching ON suppressed to minimize despite movement malfunctioning or detection zone set too small ■ Incorrect twilight setting ■ Readjust selected |
| No access to ■ Wi-Fi router is too far from ■ Use repeater |
| camera light via an app the camera light or building |
| elements, such as walls, are |
| obstructing transmission |
| Smartphone/tablet ■ A terminal device is already ■ Press reset button or scan cannot be connected- connected QR code from connected ed to camera light terminal device |
| No live image ■ Temperature too high ■ If necessary, deactivate transmission manual override and let cool down |






















