STEINEL L 605 S Outdoor Lights with motion detect

About this document
- Under copyright. Reproduction either in whole or in part only with our consent.
- Subject to change in the interest of technical progress.
Gen eral safety precautions
Failure to observe these operating instructions presents hazards!
These instructions contain important information on the safe use of this product. Particular attention is drawn to potential hazards. Failure to observe this information may lead to death or serious injuries.
- Read instructions carefully.
- Follow safety advice.
- Keep instructions within easy reach.
- Working with electrical current may produce hazardous situations. Touching live parts can result in electrical shock, burns or death.
- Work on mains voltage must only be performed by qualified, skilled personnel.
- National wiring regulations and electrical operating conditions must be observed (e.g. DE: VDE 0100, AT: ÖVE-ÖNORM E8001-1, CH: SEV 1000).
- Only use genuine replacement parts.
- Repairs must be made by specialist workshops.
L 605 S, L 605
Proper use
- LED sensor-switched light for indoor and outdoor wall mounting.
- The sensor variants (S variants) additionally contain an infrared sensor for motion detection.
Non-intended use
- The sensor LED spotlight is not dimmable.
Operating principle motion detection
- The integrated infrared sensor detects the heat radiated from moving objects (e.g. people, animals).
- The heat detected in this way is converted electronically into a signal that switches the LED light ON automatically.
- The most reliable way of detecting motion is to install the light with the sensor aimed across the direction in which a person would walk.
- Reach is restricted when the sensor is approached head on.
- Obstacles (e.g. trees, walls etc.) interrupt the line of sensor vision.
- Heat radiation is not detected through obstacles (e.g. walls or panes of glass), the sensor is not triggered.
- Sudden fluctuations in the tempera-ture due to changes in weather are not distinguished sources of heat.
Package contents (Fig. 3.1, 3.2) Product dimensions (Fig. 3.3, 3.4)




Product parts (Fig. 3.5, 3.6)
- LED light
- Clip
- Connecting terminal
- Wall mount
- Sensor unit (only S)
- Time setting (only S)
- Twilight setting (only S)
- Programme setting (only S)
Luminous intensity distribution (Fig. 3.7)
Wiring diagram (Fig. 3.8)
The supply lead is a three-core cable:
- L = phase conductor (usually black, brown or grey)
- N = neutral conductor (usually blue)
- = protective-earth conductor (green/yellow)
A mains switch for switching the product ON and OFF may be installed in the mains supply lead.
Important: The light source of this luminaire is not replaceable; if the light source needs to be replaced (e.g. at the end of its life), replace the complete luminaire.
Technical specifications
- Dimensions (H × W × D): 260 × 78 × 131 mm
- Power supply: 220 – 240 V, 50/60 Hz
- Power consumption (Pon): 11.3 W
- Standby (Psb) (Sensor):
- Luminous flux: 729 lm
- Efficiency: 64.5 lm/W
- Light temperature: 3,000 K (warm white)
- Colour-rendering index: Ra = 82
- ated average lifetime: L70B50 at 25°C: 36,000 hrs
- Colour consistency SDCM: Initial value: 6
- Luminous intensity distribution: LumEdit202101051244_L605
- Sensor technology: L605 S: passive infrared
- Angle of coverage: L605 S: 180°
- Detection reach: L605 S: 10 m tangential
- Mounting height: 2 m
- Twilight setting: L605 S: 10 – 2,000 lux
- Night light: L605 S: 10%
- Time setting: L605 S: 5 sec – 15 min
- Ambient temperature: -10°C to +40°C
- IP rating: IP44
- Protection class: I
- Energy efficiency class: This product contains a light source of energy efficiency class „E“.
Installation



Hazard from electrical power.
Touching live parts can result in electrical shock, burns or death.
- Switch OFF the power and interrupt the power supply.
- Using a voltage, check to make sure the light is disconnected from the power supply.
- Make sure the power supply remains interrupted.
Risk of damage to property!
Mixing up connection leads may produce a short circuit.
- Identify connection leads.
- Re-connect connection leads.
Preparing for installation
- Check all components for damage. Do not use the product if it is damaged.
- Select an appropriate site to install the product.
- Take reach into consideration. (Fig. 4.1)
- Take reach and motion detection into consideration. (Fig. 4.2/4.3)
- Vibration-free.
- No obstacles in detection zone.
- Not in explosive atmospheres.
- Not on normally flammable surfaces.
Mounting procedure
- Check to make sure the power supply is switched OFF. (Fig. 3.8)
- Unscrew locking screw. (Fig. 4.4)
- Disconnect light from the wall mount by pressing the clip. (Fig. 4.4)
- Mark drill holes. (Fig. 4.5)
- Drill holes (Ø 6 mm) and fit wall plugs. (Fig. 4.6)
- Firmly screw wall mount into place. (Fig. 4.7)
- Connect conductors as shown in the wiring diagram. (Fig. 4.8/3.8)
- Fit light on the wall mount. (Fig. 4.9)
- Tighten locking screw. (Fig. 4.9)
- Switch ON power supply. (Fig. 4.9)
Use L 605 S


Factory settings
- Time setting: 5 seconds
- Twilight setting: daylight mode
- Programme setting: Program 1
Time setting (Fig. 5.1)
The time (stay-ON time) can be set to any period from approx. 5 seconds to a maximum of 15 minutes. Every movement detected re-activates the light.
Twilight setting (Fig. 5.1)
The brightness response threshold (twilight) can be infinitely varied from approx. 10 to 2000 lux.
- = daylight mode (depending on ambient light level)
- = night-time operation (approx. 10 lux)
Programme setting (programme 1-4) (Fig. 5.1)
- With soft light start, light output is slowly increased to 100% when the light is switched ON, slowly reduced when the light is switched OFF.
- Night light is continuous night-time illumination at approx. 10% light output. Light is switched to 100% output when movement is identified in the detection zone. The light then switches back to night light.
Program 1
- Soft light start.
- No night light.
Program 2 User-friendly economy program
- Soft light start.
- Night light ON as from a selected brightness response threshold until the middle of the night. The light contains no integrated clock. The middle of the night is determined by the length of the dark phases. The power supply must not be interrupted during the calibration phase.
- During the first night, the night light remains activated throughout the night. The values are saved even in the event of a mains power failure.
- The values are determined over several nights.
Program 3 User-friendly program:
- Soft light start.
- Night light, ON all night as from a selected brightness response threshold.
Program 4 Nightmatic program
- Soft light start.
- No night light.
- No movement evaluation
Light is switched to 100% output when ambient light level falls below brightness response threshold.
Manual override (Fig. 5.2)
In manual override mode, the light stays ON for 4 hours. Then it returns to sensor mode. Manual override mode is activated at the mains power switch (pressing within 0.2 to 1.0 second).
- Activate: 2 × OFF and 2 × ON.
- Deactivate: 1 × OFF and 1 × ON.
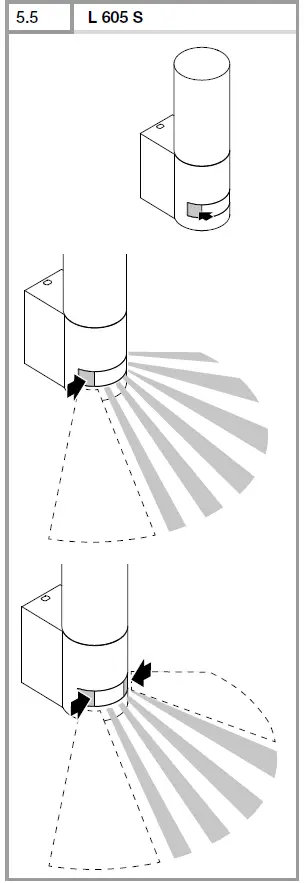
Adjusting the detection zone
To rule out inadvertent triggering or target specific danger spots, the detection zone can be limited with film shrouds. The film shroud is stuck onto the sensor unit.
- Limit the detection zone’s max. reach with the top film shroud. (Fig. 5.3)
- Limit the horizontal detection zone with film-shroud segments cut to size. (Fig. 5.4/5.5)
Cleaning and Maintenance
Hazard from electrical power.
Contact between water and live parts can result in electrical shock, burns or death.
- Light must not be wet-cleaned.
Risk of damage to property!
- Using the wrong detergent can damage the light.
- Make sure detergent does not harm the surface.
- Clean light with a soft cloth and mild detergent.
Important: The control gear is not interchangeable.
Troubleshooting
- Fuse not switched ON or faulty.
- Switch ON fuse.
- Change faulty fuse.
- Break in wiring.
- Check wiring with voltage tester.
- Short circuit in mains power supply lead.
- Check connections.
- Mains switch OFF.
- Switch ON mains switch.
- Wrong twilight setting selected.
- Re-set brightness response threshold
- Light source faulty.
- The light source cannot be changed. Completely replace light
The light does not switch OFF.
- Continued movement within the detection zone.
- Check the detection zone.
- If necessary, limit the detection zone.
- Night light selected.
- Select program without night light.
Light switches ON without any identifiable movement.
- Install light at a non-vibrating site.
- Securely mount enclosure.
- Movement occurring but is not identified by the observer (e.g. movement behind wall, movement of a small object in immediate light vicinity.)
- Check the detection zone.
Disposal
Electrical and electronic equipment, accessories and packaging must be recycled in an environmentally compatible manner. Do not dispose of electrical and electronic equipment as domestic waste.
EU countries only:
Under the current European Directive on Waste Electrical and Electronic Equipment and its implementation in national law, electrical and electronic equipment no longer suitable for use must be collected separately and recycled in an environmentally compatible manner.
Manufacturer’s Warranty
This Steinel product has been manufactured with utmost care, tested for proper operation and safety and then subjected to random sample inspection. Steinel guarantees that it is in perfect condition and proper working order. The warranty period is 36 months and starts on he date of sale to the consumer. We will remedy defects caused by material flaws or manufacturing faults. The warranty will be met by repair or replacement of defective parts at our own discretion. The warranty shall not cover damage to wear parts, damage or defects caused by improper treatment or maintenance. Further consequential damage to other objects shall be excluded. Claims under the warranty will only be accepted if the unit is sent fully assembled and well-packed with a brief description of the fault, a receipt or invoice ( date of purchase and dealer’s stamp ) to the appropriate Service Centre.
Repair service:
If defects occur outside the warranty period or are not covered by the warranty, ask your nearest service station for the possibility of repair.


























