
REMOTE CONTROL

![]()
- For models with integrated DVD players.
- For models with PVR Function.
- For models with USB Playback.
- For models with 3D functions.
- FREEVIEW PLAY: Switch on the TV when on standby or vice versa.
- NETFLIX: Access the Netflix application.
- STANDBY: Switch on the TV when on standby or vice versa.
- NUMBER BUTTONS: 0-9 to select a TV channel directly.
- MUTE: Mute the sound or vice versa.
- TV GUIDE: Opens the 7-day TV guide (digital TV mode).
- YOUTUBE: Access the Youtube App.
- APPS: Access the APPS menu
- SOURCE
: To display the input/source menu. - TV
: T-Switches to the Digital TV source. - VOL (+/): To increase/decrease the sound level.
- FAV: To display the favorites menu.
- INFO: Press once for now/next channel information.
- Press twice for information about the current program.
- CH (+/-): To increase or decrease the channel being watched.
- SUBTITLE
: To switch the dialogue at the bottom of the screen (on/off). - TEXT
: To enter/exit Text. - MENU: To display the OSD menu.
- BACK: To go back to a previous step.
- EXIT: To exit all menus.
- (
): Allows you to navigate the on-screen menus and adjust the system settings to your preference. When there is no menu displayed on the screen, you will be able to adjust the picture/sound settings on the TV, use the button to change the picture settings and the v button to change the sound settings. 
- RECORD/DVD MENU: Access the USB record function/Access the DVD menu of the DVD inserted (must be set to the DVD source).
REC LIST/DVD SETUP: Opens the list of previously recorded items/Access the TV’s DVD setup menu (must be set to the DVD source).
GO TO: To go to a specific chapter. - A-B: Press once to set point, press a second time to return to the point.
- ANGLE: Select an alternative camera angle during playback of the DVD.
- REPEAT: To repeat playback.
Pairing the remote control
- If the TV turns on automatically and the first-time installation screen appears but the TV does not react to the remote control, it will need to be paired with the set. To achieve this, press and hold the center two colored buttons at the bottom of the remote control for a few seconds. The power light will then blink 5 times to confirm the TV and remote control are paired.
- If the TV does not automatically turn on, use the standby button on the set (not the remote control).
- Once on, press the standby button on the TV set once. This will prompt the ‘pairing menu’ to appear, scroll through and highlight ‘Pair your remote’ by pressing the CH+ or CH- TV buttons to scroll up or down. Then press the TV set’s standby button to confirm your selection. Now press and hold the center two colored buttons at the bottom of the remote control for a few seconds to pair with the set. The power light will blink 5 times to confirm the TV and remote control are paired.
What is included in the box?
Accessories
Included with this TV are the following accessories:
- 1x Quick Start Guide
- 1x TV
- 1x Safety Leaflet
- 1 x Remote Control and 2 x AAA Batteries
- 1 x Stand installation pack

Additional Accessories
Should you wish to connect older/analog devices to your television, you can purchase the necessary cables either from your retailer or at www.umc-uk.co.uk/cables
Mini YPbPr Cable
- Required if you wish to connect a device with YPbPr/ Component output to the TV’s Mini YPbPr Input

Mini Composite/AV Cable
- Required if you wish to connect a device with AVIComposite/CVBS output to the TV’s Mini AV Input

RF Cable

- Connecting Component/YPbPr: you will need both the Mini YPbPr Cable and the Mini Composite/AV Cable.
- The YPbPr cable will be used exclusively for video (red/green/blue) and the AV cable will be used for audio (Red/White while Yellow stays unconnected).
- Connecting Composite/AV: Mini Composite/AV Cable will be enough for both video and sound.
Please save your box/packaging as you will need this in the event of warranty/service repair or support. We are unable to carry out a warranty/service if you are unable to package it correctly. The safest way to package your item in the event of warranty/service repair is in its original box/packaging.
Setting up the TV set for the first time
Fitting the stand
- For stand feet installation, there is one type of screw provided as shown below.
- To complete the stand installation you will require a crosshead screwdriver.
- Place the TV set on a flat and clean surface with the panel facing downwards to avoid damage.
- Used for attaching the stand to the TV set (hg (fig.2)

The TV panel must be facing downwards

- Place the TV set on a flat and clean surface with the panel facing downwards to avoid damage, then fix the stand feet shown. The feet are marked L (left) and R (right).

- Secure the stand feet to the underside of the TV set using the 4 screws provided.
Connecting your set
- Connect the TV to your power socket.
- If you wish to use the TV to receive Freeview/Saorview channels, connect the RF input from the TV to your outdoor Digital TV aerial. If you do not wish to receive Freeview/Saorview, skip this step.
Installing batteries
Insert the batteries supplied into the remote control. The remote control should automatically be paired with the TV set. If this is not the case, please refer to the ‘Pairing the remote control’ section of this Quick Start Guide.

- Stop /eject DVD
- Play/Pause DVD
- Volume up and menu right
- Volume down and menu left
- Program/Channel up and menu up
- Program/Channel down and menu down
- Displays Menu/OSD
- Displays the input source menu
- Standby Power On/Off
First time installation
Languages
Select your preferred on-screen display language. This will change the language in which the menus and associated information are displayed. When set up has been completed, this can be changed by selecting Menu > Settings > Language.

Country Selection
- Select the correct flag for the country in which the set will be used in. This will enable the set to correctly install the functions applicable in the country of use.
Network setup
You can connect the TV to your broadband router or wireless network in order to take advantage of the Smart functions. If you connect the TV to your router using an Ethernet cable (recommended) this step will be skipped. Follow the on-screen prompts to connect to your wireless network. You can set up the Network connection later in the network menu.

4. Environment of Use
Home Mode: For normal use, by default, it is set to a power-saving mode which re- duces the energy used by up to 25% (by reducing the power to the LED/LCD panel). This can be changed in the picture mode settings.
NOTE: In Home Mode, the TV will switch itself to standby mode after 4 hours in the event that the buttons on the remote control or TV set are not used.
Store Mode: For store display use. The picture is adjusted to optimum settings. The store demonstration will appear on the screen automatically after two minutes.

TV Installation -Audio
- Depending on how you use/ install your TV, select the appropriate setting. The sound settings on the TV will adjust to suit the type of installation.

Default Source
Select the source which you use the most. If Digital TV (Freeview) is chosen, then at the next step, the set will tune in and default to Digital TV (Freeview). If one of the other sources is selected, then the set will not tune in at this stage and detault to that input. If it is required to tune the set in later, this can be achieved by selecting Menu> Channels
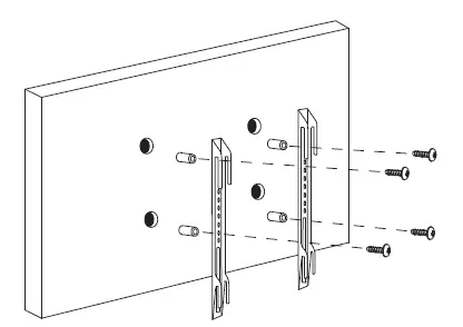
Wall Mounting the TV
- Remove the four screws that are supplied in the wall mounting holes.
- The wall mount can now be easily attached to the mounting holes on the rear of the TV.
- Install the wall mounting bracket to the television as advised by the bracket manufacturer. The picture shows the use of spacers, which are not applicable to all sets/installations.

Image for illustration only. For the dimensions of the VESA mounting please refer to the Technical Specifications section of this document.
Connectivity


The Ethernet/LAN port is used for Freeview HD services and smart functions.
Technical Specification
| Trademark | Sharp | |
| Model ID | LC-24DHG6131KF | LC-24DFG6131KF |
| Energy efficiency class | A | |
| Visible screen size (diagonal) | 60 cm / 23.6 inches | |
| On-mode power consumption | 25.0 W | 25.0W |
| Annual energy consumption *1 | 37kWh | 37kWh |
| Standby power consumption *2 | <0.S0W | |
| Off-mode power consumption | n/a | |
| Screen resolution | 1366 (HJ x 768 (VJ | 1920 (HJ x 1080 (VJ |
| ||
| LC-24DHG6131KF LC-24DFG6131KF | |
| RF | 75 ohm Antenna/ Analog/ DVB |
| Inputs | 2 x HDMI, 2 x USB, 1 x SCART, 1 x Mini Component/YPbPr, 1 x Mini AV IN – Composite Video/CVBS and UR Audio shared for Composite Video and Component/ YPbPr, 1 x RJ45 LAN/Ethernet |
| Sound Outputs | 1 x Digital Optical Audio output, 1 x 3.5mm Headphone |
| Speaker/ Amplifier Watts(RMS) | 2×5/2×3 |
| Voltage and power consumption | AC 220V ~ 240V; S0Hz 25/S0W (eco mode/max) (<05W in Standby) |
| Dimensions including stand Imm) | 554Wx355Hx 142D |
| Net weight (Kgs) | 3.7 |
| Wall Mounting | VESA 100x 100(mm) |
Need help setting up or using your TV?
- Please contact the UK & ROI Helpline
- Telephone: UK 0330 024 0803 or ROI 01443 3323
- The online support at: www.umc-uk.co.uk
- Email support at: [email protected]
Calls to 0330 numbers are charged at standard call rates and are included as part of any bundled minutes with your phone provider.
- Calls to the Raul number are charged at the local call rate.
- The telephone opening hours are Monday to Friday 8.30 am to 6 pm, Saturday 9 am – 5 pm.
- Bank Holidays- 10 am to 4 pm
- Closed Christmas and New Years’ day
The terms HDMI, HDMI High-Definition Multimedia Interface, and the HDMI Logo are trademarks or registered trademarks of HDMI Licensing Administrator, Inc.


























