VENTS CBF LP 110 DC Centrifugal Ceiling Extract Fan User Manual
This user’s manual is a main operating document intended for technical, maintenance, and operating staff.
The manual contains information about purpose, technical details, operating principle, design, and installation of the CBF LP 110 DC (Light) (TH/TP) unit and all its modifications.
Technical and maintenance staff must have theoretical and practical training in the field of ventilation systems and should be able to work in accordance with workplace safety rules as well as construction norms and standards applicable in the territory of the country.
SAFETY REQUIREMENTS
All user’s manual requirements as well as the provisions of all the applicable local and national construction, electrical, and technical norms and standards must be observed when installing and operating the unit.
Disconnect the unit from the power supply prior to any connection, servicing, maintenance, and repair operations.
Only qualified electricians with a work permit for electrical units up to 1000 V are allowed for installation and maintenance. The present user’s manual should be carefully read before beginning works.
- Check the unit for any visible damage of the impeller, the casing, and the grille before starting installation. The casing internals must be free of any foreign objects that can damage the impeller blades.
- While mounting the unit, avoid compression of the casing! Deformation of the casing may result in motor jam and excessive noise.
- Misuse of the unit and any unauthorised modifications are not allowed.
- Do not expose the device to adverse atmospheric agents (rain, sun, etc.).
- Transported air must not contain any dust or other solid impurities, sticky substances, or fibrous materials.
- Do not use the unit in a hazardous or explosive environment containing spirits, gasoline, insecticides, etc.
- Do not close or block the intake or extract vents in order to ensure the efficient air flow.
- Do not sit on the unit and do not put objects on it.
- The information in this user’s manual was correct at the time of the document’s preparation.
- The Company reserves the right to modify the technical characteristics, design, or configuration of its products at any time in order to incorporate the latest technological developments.
WARNING! Similar to the use of any other household electrical appliances when operating this fan, the following basic rules must be followed:
- Never touch the unit with wet or damp hands.
- Never touch the unit when barefoot.
This appliance is not intended for use by persons (including children) with reduced physical, sensory or mental capabilities, or lack of experience and knowledge, unless they have been given supervision or instruction concerning use of the appliance by a person responsible for their safety.
Children should be supervised to ensure that they do not play with the appliance.
The connection to the supply mains must be made through a means of disconnection, which is incorporated in the fixed wiring in accordance with the wiring rules, and has a contact separation in all poles that allows for full disconnection under overvoltage category III conditions.
If the supply cord is damaged, it must be replaced by the manufacturer, its service agent, or similarly qualified persons in order to avoid a safety hazard.
Ensure that the appliance is switched off from the supply mains before removing the guard.
Precautions must be taken to avoid the back-flow of gases into the room from the open flue of gas or other fuel-burning appliances.
THE PRODUCT MUST BE DISPOSED SEPARATELY AT THE END OF ITS SERVICE LIFE.
DO NOT DISPOSE THE UNIT AS UNSORTED DOMESTIC WASTE.
PURPOSE
The centrifugal ceiling extract fan CBF LP 110 DC (Light) (TH/TP) is designed for extract ventilation of small to medium-sized premises.
The unit is rated for continuous operation.
THE UNIT MUST NOT BE OPERATED IN KITCHEN PREMISES.
Transported air must not contain any flammable or explosive mixtures, evaporation of chemicals, sticky substances, fibrous materials, coarse dust, soot and oil particles or environments favourable for the formation of hazardous substances (toxic substances, dust, pathogenic germs)
DELIVERY SET
| NAME | QUANTITY |
| Fan | 1 pc. |
| LED lamp (for fans with the Light option) | 2 pcs. |
| Cable gland | 1 pc. |
| Mounting bracket | 1 pc. |
| Fastening kit | 1 pc. |
| User’s manual | 1 pc. |
| Packing box | 1 pc. |
DESIGNATION KEY

TECHNICAL DATA
The fan is designed for indoor application with the ambient temperature ranging from +1 ˚C up to +40 ˚C.
The unit is rated as a Class I electrical appliance.
Ingress protection rating against access to hazardous parts and water ingress is IP2X.
The unit design is constantly being improved, thus some models may be slightly different from those described in this manual.
OVERALL AND CONNECTING DIMENSIONS OF FANS
| Model | Dimensions [mm] | ||||||||
| Ø d | L1 | L2 | A | B | C | E | H | h | |
| CBF LP 110 DC CBF LP 110 DC TH/TP | 98 | 100 | 40.5 | 330 | 278 | 255 | 395 | 134 | 18 |
| CBF LP 110 DC Light CBF LP 110 DC Light TH/TP | 98 | 100 | 40.5 | 330 | 278 | 255 | 395 | 134 | 57 |
TECHNICAL DATA
| Parameter | CBF LP 110 DC, CBF LP 110 DC TH/TP CBF LP 110 DC Light, CBF LP 110 DC Light TH/TP |
| Frequency [Hz] | 50/60 |
| Voltage [V] | 100-240 |
| Rated fan power [W] | 19 |
| Rated lamp power [W*] | 2 x 10 |
| RPM [min-1] | 1100 |
| Current consumption [A/230 V] (120 V) | 0.18 (0.3) |
| Air flow [m3/h] (CFM) | 187 (110) |
| Sound pressure level at 3 m distance [dBA] (Sones) | from 23 (0.3) up to 25 (0.7) |
| Weight [kg] | 6.4 (5.3*) |
| IP | 2X |
| SEC class | B |
DESIGN AND OPERATING PRINCIPLE
CBF LP 110 DC, CBF LP 110 DC TH/TP
CBF LP 110 DC Light, CBF LP 110 DC Light TH/TP
The fan casing is made of galvanized steel. The fan casing includes an exhaust spigot with a back draft damper to prevent air back flow.
The terminal box comprises the terminals for wiring of the fan and is attached to the fan casing. The decorative grille is fixed to the casing via the springs inserted in the hooks. The front panel is fixed via the grille slots. An electric motor with a centrifugal impeller with forward curved blades is fastened inside of the casing.
The fan is equipped with a timer. After an external switch, e.g. a light switch is turned on, the fan turns on or switches to high speed after countdown of a set turn-on delay time, adjustable from 0 to 3 minutes. After the fan is turned off it keeps running for a set turn-off delay time, adjustable from 1 to 90 minutes and then reverts to the initial operation status.
Depending on the model, the fan is equipped with a light source (LED-lamp), humidity or motion sensors.
Motion sensor (TP)
Upon activation of the motion sensor the fan is turned on and switches to high speed. After no more motion is detected the fan keeps operating for a set turn-off delay time period, adjustable from 1 to 90 minutes, and returns to its original state.
Humidity sensor (TH)
If the set humidity level in the room is exceeded from 50 % to 90 %, the fan turns on or switches to high speed. As the indoor humidity level drops down the fan keeps operating for a set turn-off delay time period, adjustable from 1 to 90 minutes, and then returns to its original state.
MOUNTING AND SET-UP
READ THE USER’S MANUAL BEFORE INSTALLING THE UNIT.
The fan is a component part and is not designed for stand-alone operation.
The fan is designed for ceiling mounting and installation in the space between the joists (the distance between the joists is from 270 mm to 470 mm) using a removable bracket or fixation holes in the fan casing.
The fan installation location must comply with local building codes for this type of product.
Check the fan for mechanical damages prior to mounting.
Before mounting make sure the casing does not contain any foreign objects (e.g. foil, paper).
While installing the unit ensure convenient access for subsequent maintenance and repair.
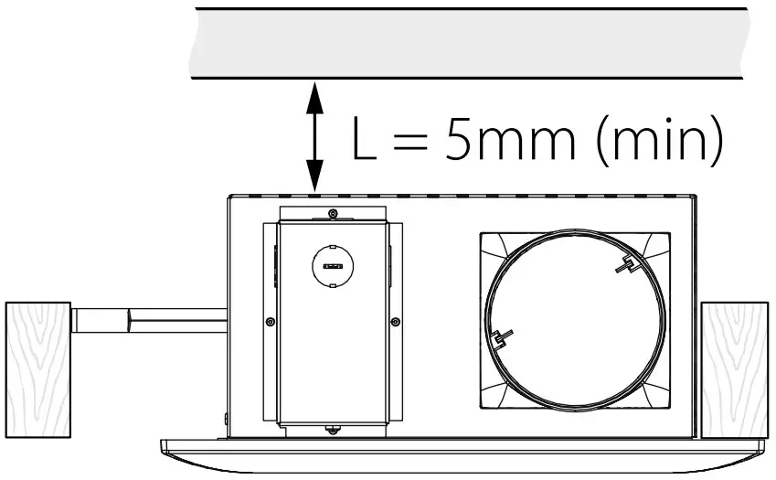
The minimum distance between the unit and the ceiling should be at least 5 mm.

MOUNTING SEQUENCE
- Install the fan in the space between the joists using the screws.

- Connect the fan of a required diameter.
Vertical mounting to joists on the wall is allowed.
- Connect the LED lamps (included in the delivery set) for the Light models. Optional: connect a humidity or motion sensor (sold separately).
For models with the Light option, plug the power connector of the LED lamp into the appropriate socket in the fan terminal box casing.
For models with the option of connecting TH (humidity) or TP (motion) sensors remove the protective cap from the grille before installing the decorative grille. Route the connector of the TH or TP sensor through the opening in the grille and connect it to the corresponding connector on the control unit. Fix the sensor in the grille opening and cover the opening with a protective cap.

- . Fix the decorative grille to the fan casing using the hooks on the casing.


CONNECTION TO POWER MAINS
POWER OFF THE POWER SUPPLY PRIOR TO ANY OPERATIONS WITH THE UNIT.
THE UNIT MUST BE CONNECTED TO POWER SUPPLY BY A QUALIFIED ELECTRICIAN.
THE RATED ELECTRICAL PARAMETERS OF THE UNIT ARE GIVEN ON THE MANUFACTURER’S LABEL
ANY TAMPERING WITH THE INTERNAL CONNECTIONS IS PROHIBITED AND WILL VOID THE WARRANTY.
The fan is rated for connection to single-phase AC 100-240 V 50/60 Hz power mains.
The fan is connected to power mains using insulated, durable and heat-resistant conductors (cable, wires) through the QF automatic circuit breaker with a magnetic trip built into the stationary wiring. The position of the automatic circuit breaker must ensure free access for quick power-off of the unit.
WIRING DIAGRAM OF THE FAN
ACCESS TO THE TERMINAL BOX FOR CONNECTING THE FAN TO POWER MAINS
Remove the decorative grille.
For accessing the connection terminals loosen the screw on the terminal box lid and take the lid off.
Remove the protective cap and install the cable gland.
CONTROL
MICROPROCESSOR CONTROL UNIT WITH INDICATION
The operation of the fan with a DC motor is controlled by a microprocessor control unit. An indicator, control buttons and two connectors for connecting a humidity sensor and a motion sensor are located on the front panel of the control unit.
After the fan is connected to power supply, the indicator displays
for two seconds. After that the light indicator goes off and the fan starts operating in set mode. Once the button
is pressed the indicator displays the turn-off delay timer setting
, the first Setup menu entry. Use
buttons to navigate in the Setup menu. Press
, to select a current entry in the Setup menu. After that the indicator displays the selected parameter value (e.g., turn-off delay timer setting). Use
to change the value. Press
to come back to the Setup menu. If no button is pressed for 60 seconds, the indicator goes down.
Example
The indicator displays
. Once the button
is pressed, the Setup menu list goes one position down and the symbol is displayed (refer to the Setup menu). Once the button
is pressed, the indicator displays the turn-on delay timer setting, which can be edited with the buttons
and . Once the button
is pressed again, the Setup menu is displayed again and the edited value is saved.
To reset the menu to the factory settings , press and hold
and
synchronously. In 5 seconds the indicator displays , and goes off.
The fan keeps running in a regular operation mode with the factory settings
INDICATOR SYMBOLS OF THE MICROPROCESSOR CONTROL UNIT
turn-off delay timer adjustable from 1 to 90 minutes (default setting 15 minutes).
– turn-on delay timer adjustable from 0 to 180 seconds with the increment of 10 seconds (default setting 0).
– humidity setpoint adjustable from 50 % up to 90 % (default setting 75 %).
– access to submenu of the fan operation mode.
Operation mode
– the fan operates without any activation signal from the switch, humidity or motion sensor.
Operation mode
– the fan operates with activation signal from the switch, humidity or motion sensor.
– back to the upper setup menu level.
Once the switch is turned on or the humidity or motion sensor is activated, the fan switches from the mode
to the mode
.
After a signal is no more received from the sensor in case of the indoor humidity normalization, or no more motion is detected in case of the fan shutdown, the fan keeps running for a set turn-off delay time and then switches from the mode
to the mode
.
– the fan is turned off.
«60», «70», «80», «90», «100», «110» – the fan operates in the mode of maintaining a constant air flow with a given value of the air flow rate displayed in cubic feet per minute (CFM).
Example 1
– with these settings, the fan will constantly maintain the air flow rate of 60 CFM. Once the switch is turned on or a sensor is activated, the fan will operate at maximum possible performance. This setting is factory set and is the default setting for fans with a maximum air flow of 110 CFM. For the fans with a maximum air flow – 150 CFM ![]()
Example 2
– with these settings, the fan will be constantly turned off. Once the switch is turned on or a sensor is activated, the fan will switch to maintain the air flow rate of 90 CFM.
By changing the parameters
and
in this way, you can select the desired fan mode.
TECHNICAL MAINTENANCE
DISCONNECT THE UNIT FROM POWER SUPPLY BEFORE ANY MAINTENANCE OPERATIONS!
ENSURE THAT THE UNIT IS SWITCHED OFF FROM THE SUPPLY MAINS BEFORE REMOVING THE GUARD.
The fan maintenance includes regular cleaning of the surfaces of dust and dirt. Replace the filter as required, but at least every 6 months.
The impeller cleaning is shown below. Clean the impeller blades thoroughly every 6 months.
LAMP REPLACEMENT
DISCONNECT THE UNIT FROM POWER SUPPLY BEFORE ANY MAINTENANCE OPERATIONS!
ENSURE THAT THE UNIT IS SWITCHED OFF FROM THE SUPPLY MAINS BEFORE REMOVING THE GUARD.
- Remove the decorative grille:
- Pull the grille to release the springs from the holders on the casing.
- Take out the lamp power socket from the respective socket on the casing.
- Take out the power socket of the sensors from the respective sockets on the control unit (applicable for TH and TP models).

- Take off the surface-mounted luminaire.
Press the holders on the reverse side of the grille frame and take off the surface-mounted luminaire.
- Replace the lamps.
- Reassemble the unit in the reverse order.
TROUBLESHOOTING
| TROUBLE | POSSIBLE REASONS | TROUBLESHOOTING |
| The fan does not get started. | No power supply. | Check the electric connections and the operation status of the circuit breaker. |
| Motor jam. | Turn the fan off. Troubleshoot clogging of the impeller. Restart the fan. | |
| Automatic circuit breaker tripping during the unit turning on. | Over current as a result of short circuit in the electric circuit leads to tripping of the circuit breaker. | Disconnect the fan from power supply and contact the product Seller. Do not turn the fan on again! |
| Low air flow. | Air ducts or other components of the ventilation system are clogged. The impeller is clogged. The air ducts are damaged. The air dampers are closed. | Clean the air ducts, the impeller and other components of the ventilation system. Make sure that the air ducts are not damaged. Make sure that the air dampers and louvre shutters are open. |
STORAGE AND TRANSPORTATION REGULATIONS
- Store the unit in the manufacturer’s original packaging box in a dry closed ventilated premise with temperature range from +5 °C to + 40 °C and relative humidity up to 70 %.
- Storage environment must not contain aggressive vapors and chemical mixtures provoking corrosion, insulation, and sealing deformation.
- Use suitable hoist machinery for handling and storage operations to prevent possible damage to the unit.
- Follow the handling requirements applicable for the particular type of cargo.
- The unit can be carried in the original packaging by any mode of transport provided proper protection against precipitation and mechanical damage. The unit must be transported only in the working position.
- Avoid sharp blows, scratches, or rough handling during loading and unloading.
- Prior to the initial power-up after transportation at low temperatures, allow the unit to warm up at operating temperature for at least 3-4 hours.
MANUFACTURER’S WARRANTY
The product is in compliance with EU norms and standards on low voltage guidelines and electromagnetic compatibility. We hereby declare that the product complies with the provisions of Electromagnetic Compatibility (EMC) Directive 2014/30/EU of the European Parliament and of the Council, Low Voltage Directive (LVD) 2014/35/EU of the European Parliament and of the Council and CE-marking Council Directive 93/68/EEC. This certificate is issued following test carried out on samples of the product referred to above. The manufacturer hereby warrants normal operation of the unit for 24 months after the retail sale date provided the user’s observance of the transportation, storage, installation, and operation regulations. Should any malfunctions occur in the course of the unit operation through the Manufacturer’s fault during the guaranteed period of operation, the user is entitled to get all the faults eliminated by the manufacturer by means of warranty repair at the factory free of charge. The warranty repair includes work specific to elimination of faults in the unit operation to ensure its intended use by the user within the guaranteed period of operation. The faults are eliminated by means of replacement or repair of the unit components or a specific part of such unit component.
The warranty repair does not include:
- routine technical maintenance
- unit installation/dismantling
- unit setup
To benefit from warranty repair, the user must provide the unit, the user’s manual with the purchase date stamp, and the payment paperwork certifying the purchase. The unit model must comply with the one stated in the user’s manual. Contact the Seller for warranty service.
The manufacturer’s warranty does not apply to the following cases:
- User’s failure to submit the unit with the entire delivery package as stated in the user’s manual including submission with missing component parts previously dismounted by the user.
- Mismatch of the unit model and the brand name with the information stated on the unit packaging and in the user’s manual.
- User’s failure to ensure timely technical maintenance of the unit.
- External damage to the unit casing (excluding external modifications as required for installation) and internal components caused by the user.
- Redesign or engineering changes to the unit.
- Replacement and use of any assemblies, parts and components not approved by the manufacturer.
- Unit misuse.
- Violation of the unit installation regulations by the user.
- Violation of the unit control regulations by the user.
- Unit connection to power mains with a voltage different from the one stated in the user’s manual.
- Unit breakdown due to voltage surges in power mains.
- Discretionary repair of the unit by the user.
- Unit repair by any persons without the manufacturer’s authorization.
- Expiration of the unit warranty period.
- Violation of the unit transportation regulations by the user.
- Violation of the unit storage regulations by the user.
- Wrongful actions against the unit committed by third parties.
- Unit breakdown due to circumstances of insuperable force (fire, flood, earthquake, war, hostilities of any kind, blockades).
- Missing seals if provided by the user’s manual.
- Failure to submit the user’s manual with the unit purchase date stamp.
- Missing payment paperwork certifying the unit purchase.
FOLLOWING THE REGULATIONS STIPULATED HEREIN WILL ENSURE A LONG AND TROUBLE-FREE OPERATION OF THE UNIT.
USER’S WARRANTY CLAIMS SHALL BE SUBJECT TO REVIEW ONLY UPON PRESENTATION OF THE UNIT, THE PAYMENT DOCUMENT AND THE USER’S MANUAL WITH THE PURCHASE DATE STAMP
CERTIFICATE OF ACCEPTANCE
| Unit Type | Centrifugal ceiling extract fan |
| Model | CBF LP 110 DC |
| Serial Number | |
| Manufacture Date | |
| Quality Inspector’s Stamp |
SELLER INFORMATION
| Seller | |
| Address | |
| Phone Number | |
| Purchase Date | |
| This is to certify acceptance of the complete unit delivery with the user’s manual. The warranty terms are acknowledged and accepted. | |
| Customer’s Signature | |
INSTALLATION CERTIFICATE
| The CBF LP 110 DC unit is installed pursuant to the requirements stated in the present user’s manual. | ||
| Company name | ||
| Address | ||
| Phone Number | ||
| Installation Technician’s Full Name | ||
| Installation Date: | Signature: | |
| The unit has been installed in accordance with the provisions of all the applicable local and national construction, electrical and technical codes and standards. The unit operates normally as intended by the manufacturer. | ||
| Signature: | ||

WARRANTY CARD
| Unit Type | Centrifugal ceiling extract fan |
| Model | CBF LP 110 DC |
| Serial Number | |
| Manufacture Date | |
| Purchase Date | |
| Warranty Period | |
| Seller |




























