VENTS 100 Ace Domestic Extractor Fan User Manual
Safety
READ THE USER’S MANUAL CAREFULLY BEFORE PROCEEDING WITH INSTALLATION WORKS. COMPLIANCE WITH THE MANUAL REQUIREMENTS ENSURES RELIABLE OPERATION AND LONG SERVICE LIFE OF THE UNIT.
KEEP THE USER’S MANUAL AVAILABLE AS LONG AS YOU USE THE UNIT. YOU MAY NEED TO
REREAD THE INFORMATION ON THE PRODUCT SERVICING.
All user’s manual requirements as well as the provisions of all the applicable local and national construction, electrical, and technical norms and standards must be observed when installing and operating the unit.
Disconnect the unit from the power supply prior to any connection, servicing, maintenance, and repair operations.
Only qualified electricians with a work permit for electrical units up to 1000 V are allowed for installation. The present user’s manual should be carefully read before beginning works.
Check the unit for any visible damage of the impeller, the casing, and the grille before starting installation. The casing internals must be free of any foreign objects that can damage the impeller blades.
While mounting the unit, avoid compression of the casing! Deformation of the casing may result in motor jam and excessive noise.
Misuse of the unit and any unauthorised modifications are not allowed.
Do not expose the unit to adverse atmospheric agents (rain, sun, etc.). Transported air must not contain any dust or other solid impurities, sticky substances, or fibrous materials.
Do not use the unit in a hazardous or explosive environment containing spirits, gasoline, insecticides, etc.
Do not close or block the intake or extract vents in order to ensure the efficient air flow.
Do not sit on the unit and do not put objects on it.
The information in this user’s manual was correct at the time of the document’s preparation.
The Company reserves the right to modify the technical characteristics, design, or configuration of its products at any time in order to incorporate the latest technological developments.
Never touch the unit with wet or damp hands.
Never touch the unit when barefoot.
This unit is not intended for use by persons (including children) with reduced physical, sensory or mental capabilities, or lack of experience and knowledge, unless they have been given supervision or instruction concerning use of the unit by a person responsible for their safety.
Children should be supervised to ensure that they do not play with the unit.
Precautions must be taken to avoid the back-flow of gases into the room from the open flue of gas or other fuel-burning appliances. Connection to the mains must be made through a disconnecting device, which is integrated into the fixed wiring system in accordance with the wiring rules for design of electrical units, and has a contact separation in all poles that allows for full disconnection under over voltage category III conditions.
Ensure that the unit is switched off from the supply mains before removing the guard.
DELIVERY SET
Fan – 1 item
Screws with dowels – 4 items
Plastic screwdriver – 1 item (only for the models with a timer)
Operation manual – 1 item
Packing box – 1 item
BRIEF DESCRIPTION
The product is an axial fan for exhaust ventilation of small and medium-sized premises heated in winter. The design of the fan may include a back valve that prevents air from flowing into the room when the fan is off. The fan is designed for connection to ø100 and 125 mm air ducts. CAUTION! The decorative front panel is available separately.
OPERATION GUIDELINES
The fan is rated for connection to 220…240 V/50 Hz or 12 V/50 Hz single phase AC power mains, depending on the model.
For more detailed information, see the casing label.
Ingress protection rating against access to hazardous parts and water ingress is IP44.
The manufacturer’s recommended operating temperature range is from +1 °C to + 45 °C.
The unit is rated as a Class II (220-240 V/50 Hz) or Class III (12 V/50 Hz) electric appliance.
DESIGNATION KEY

MOUNTING AND SETUP
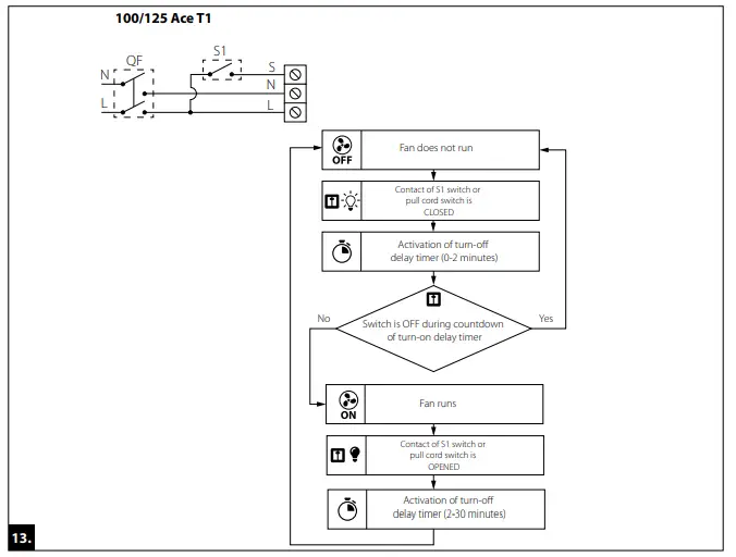
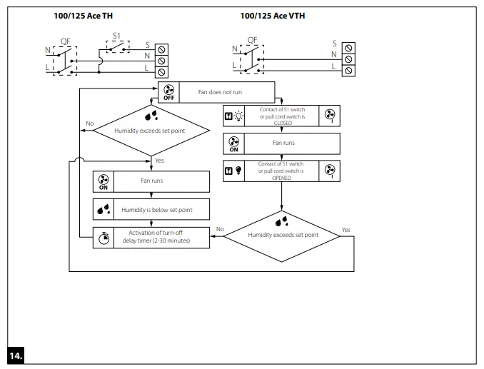
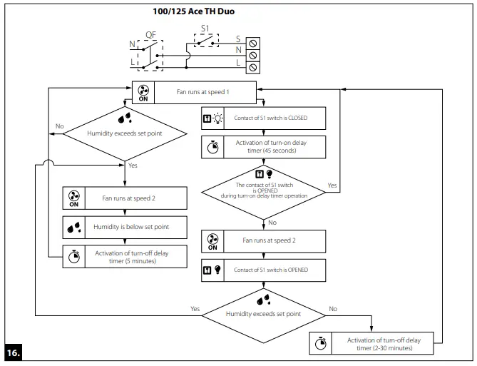
The fan can be mounted to the ceiling or onto a wall with air extraction into a ventilation shaft or a matching diameter round air duct (Fig. 2). The fan installation steps are given on Fig. 3-11. Electric connection diagrams are given on Fig. 12-17. Connection diagram terminal key
- L: line
- N: neutral
- S; timer control line
- S1: external switch
- QF: automatic circuit breaker

WARNING! Fans rated for 12 V (as specified on the fan packing and casing) must be connected to ~12 V electric mains only!
The unit with a degree of protection against access to 2 hazardous parts and ingress of water IP44 may be installed in zones 2 and 3 according to the IEC 60364-7-701:2019.








ELECTRONIC SYSTEM OPERATION ALGORITHM
The T model fans equipped with a timer are activated by control voltage application to input terminal S by an external switch (e.g. indoor light switch). Upon control voltage removal the fan continues to operate for the period of time set by the timer within the range from 2 to 30 minutes.
The VT model fans are activated and deactivated by the internal cord switch.
The fan with a T1 timer. When control voltage is applied to input terminal S by the external switch (e.g. indoor light switch), the turn-on delay timer is activated. The fan blades do not rotate. The turn-on delay time is in the range from 0 to 2 minutes.
The adjustment range can be selected by means of the potentiometer on the timer circuit board. Upon control voltage removal the fan continues to operate for the period of time set by the turn-off delay timer within the range from 2 to 30 minutes
The fan with the Duo T1 timer runs at 1st speed. When the control voltage is applied to the S input, the turn-on delay timer is activated by the external switch from 0 to 2 minutes, and the fan switches to 2nd speed. You can select the control range using a potentiometer on the timer board.
After removing the control voltage, the fan continues to operate for the time specified by the turn-off delay timer, which ranges from 2 to 30 minutes, then switches to 1st speed.
The TH model fans equipped with a timer and a humidity sensor are activated by control voltage application to input terminal S or on exceeding the pre-set humidity level H adjustable within the ~60 % to ~90 % range.
Upon control voltage removal or a decrease of humidity level H the fan continues to operate for the period of time set by the timer within the range from 2 to 30 minutes.
A Duo TH double-speed fan with a timer and humidity sensor is switched to the 2nd speed when the set humidity level in the room (from 60 to 90 %) is exceeded. As the indoor humidity level drops down to the set value, the fan continues to operate for 5 minutes and goes to the 1st speed. The fan can be turned on in manual mode, for example, using a light switch. After turning on the switch, the fan switches to 2nd speed with a time delay of 45 s. After the switch is turned off, the fan will continue to work at the 2nd speed for the time set by the turn-off delay timer, from 2 to 30 minutes, then it will switch to the 1st speed. To set the maximum level of humidity, it is necessary to set the potentiometer regulator to the Hmax position (90 %).
THE TIMER CIRCUIT IS LIVE.
MAKE SURE THE FAN IS DISCONNECTED FROM POWER SUPPLY.

To adjust the fan activation delay time, turn the
potentiometer knob clockwise (+) or counter-clockwise (-) which sets the activation delay time within the range from 0 to 2 minutes.
To adjust the fan deactivation delay time, turn the
potention meter knob clockwise (+) or counter-clockwise (-) which sets the activation delay time within the range from 2 to 30 minutes.
To adjust the humidity sensor threshold value, turn the
potentiometer knob clockwise (+) or counter-clockwise (-) which sets the threshold value within the range from 60 % to 90 %. .
DO NOT USE A METAL SCREWDRIVER, KNIFE, ETC. FOR ADJUSTMENT OPERATIONS NOT TO DAMAGE THE CIRCUIT BOARD
The fan is supplied with a special plastic screwdriver.
Use the screwdriver to adjust the fan activation or deactivation delay or the humidity sensor threshold value.

MAINTENANCE
DISCONNECT THE UNIT FROM POWER MAINS BEFORE ANY MAINTENANCE OPERATIONS!
To clean the unit from any dust and dirt which may accumulate on the surfaces (Fig. 18-21), use a soft cloth and a brush soaked in a mild detergent solution. Avoid spilling liquid on the electrical components. Wipe the cleaned surfaces dry.




TROUBLESHOOTING
| Problem | Possible reasons | Troubleshooting |
| When the unit is connected to power mains, the fan does not rotate and does not respond to any controls. | No power supply. | Make sure the power supply line is connected correctly, otherwise troubleshoot the connection error. |
| Internal connection fault. | Contact the Seller | |
| Low air flow. | The ventilation system is clogged. | Clean the ventilation system. |
| Increased noise, vibration. | The impeller is clogged. | Clean the impeller. |
| The fan is not secured well or is not mounted properly | Troubleshoot the installation error. | |
| The ventilation system is clogged | Clean the ventilation system. |
STORAGE AND TRANSPORTATION REGULATIONS
- Store the unit in the manufacturer’s original packaging box in a dry closed ventilated premise with temperature range from +5 ˚C to +40 ˚С and relative humidity up to 70 %.
- Storage environment must not contain aggressive vapors and chemical mixtures provoking corrosion, insulation, and sealing deformation.
- Use suitable hoist machinery for handling and storage operations to prevent possible damage to the unit.
- Follow the handling requirements applicable for the particular type of cargo.
- The unit can be carried in the original packaging by any mode of transport provided proper protection against precipitation and mechanical damage. The unit must be transported only in the working position.
- Avoid sharp blows, scratches, or rough handling during loading and unloading.
- Prior to the initial power-up after transportation at low temperatures, allow the unit to warm up at operating temperature for at least 3-4 hours.
MANUFACTURER’S WARRANTY
The product is in compliance with EU norms and standards on low voltage guidelines and electromagnetic compatibility. We hereby declare that the product complies with the provisions of Electromagnetic Compatibility (EMC) Directive 2014/30/ EU of the European Parliament and of the Council, Low Voltage Directive (LVD) 2014/35/EU of the European Parliament and of the Council and CE-marking Council Directive 93/68/EEC. This certificate is issued following test carried out on samples of the product referred to above.
The manufacturer hereby warrants normal operation of the unit for 60 months after the retail sale date provided the user’s observance of the transportation, storage, installation, and operation regulations. Should any malfunctions occur in the course of the unit operation through the Manufacturer’s fault during the guaranteed period of operation, the user is entitled to get all the faults eliminated by the manufacturer by means of warranty repair at the factory free of charge. The warranty repair includes work specific to elimination of faults in the unit operation to ensure its intended use by the user within the guaranteed period of operation. The faults are eliminated by means of replacement or repair of the unit components or a specific part of such unit component.
The warranty repair does not include:
- routine technical maintenance
- unit installation/dismantling
- unit setup
To benefit from warranty repair, the user must provide the unit, the user’s manual with the purchase date stamp, and the payment paperwork certifying the purchase. The unit model must comply with the one stated in the user’s manual. Contact the Seller for warranty service.
The manufacturer’s warranty does not apply to the following cases:
- User’s failure to submit the unit with the entire delivery package as stated in the user’s manual including submission with missing component parts previously dismounted by the user.
- Mismatch of the unit model and the brand name with the information stated on the unit packaging and in the user’s manual.
- User’s failure to ensure timely technical maintenance of the unit.
- External damage to the unit casing (excluding external modifications as required for installation) and internal components caused by the user.
- Redesign or engineering changes to the unit.
- Replacement and use of any assemblies, parts and components not approved by the manufacturer.
- Unit misuse.
- Violation of the unit installation regulations by the user.
- Violation of the unit control regulations by the user.
- Unit connection to power mains with a voltage different from the one stated in the user’s manual.
- Unit breakdown due to voltage surges in power mains.
- Discretionary repair of the unit by the user.
- Unit repair by any persons without the manufacturer’s authorization.
- Expiration of the unit warranty period.
- Violation of the unit transportation regulations by the user.
- Violation of the unit storage regulations by the user.
- Wrongful actions against the unit committed by third parties.
- Unit breakdown due to circumstances of insuperable force (fire, flood, earthquake, war, hostilities of any kind, blockades).
- Missing seals if provided by the user’s manual.
- Failure to submit the user’s manual with the unit purchase date stamp.
- Missing payment paperwork certifying the unit purchase.
FOLLOWING THE REGULATIONS STIPULATED HEREIN WILL ENSURE A LONG AND TROUBLE-FREE OPERATION OF THE UNIT.
USER’S WARRANTY CLAIMS SHALL BE SUBJECT TO REVIEW ONLY UPON PRESENTATION OF THE UNIT, THE PAYMENT DOCUMENT AND THE USER’S MANUAL WITH THE PURCHASE DATE STAMP.
Quality Inspector’s Stamp
Seller (name and stamp of the seller)
Manufacture Date
Purchase Date
THE PRODUCT MUST BE DISPOSED SEPARATELY AT THE END OF ITS SERVICE LIFE. DO NOT DISPOSE THE UNIT AS UNSORTED DOMESTIC WASTE.


















