vetus VENT178B2 Extractor Fan

Introduction
A VETUS Extractor Fan type VENT178B is used for ventilating the engine room.
Warning
- To prevent personal injury, always disconnect electrical connections during installation and maintenance.
- Never use the fan in a room if the ambient temperature exceeds 70 degrees C (158 degrees F).
Operating instructions
The fan should be switched on for at least 4 minutes and the room checked for the presence of any vapours before the ship’s engine is started.
Never switch on the fan when refuelling.
Installation examples
The fan can be fitted in a number of different situations.
- Example 1
In this situation, the ship’s engine gets its inlet air separately (via a grille with plenum chamber). The fan is then used to extract hot air from the engine room. this can be done while the engine is running or stopped. See drawing 1, page 10. - Example 2
- Here, the ship’s engine does NOT obtain its inlet air separately. The engine room can only be ventilated by the fan when the engine is stopped. See drawing 2, page 10.
- Always ensure that the ventilation openings are large enough, and that the fan(s) has sufficient capacity. Improperly positioned ventilation openings and insufficient capacity fans can lead to poor functioning of the ship’s engine. Always read the engine supplier’s installation instructions.
N.B.: With a DIESEL engine, the air should preferably enter the engine room low down, and be extracted as high up as possible.
Important
With a PETROL engine, the air should enter from high up in the engine room, and be extracted as low down as possible, where it is most likely that vapour will collect. This point should always be below the top of the engine foundation. However, the duct opening should not be so low that there is a risk of bilge water being sucked into the fan.
Installation
The fan should be positioned where water (sea water) cannot damage the fan (electric motor).
- Fit the fan on a bulkhead or floor, the mounting can be either horizontal or vertical. The bulkhead or floor should be flat where the fan is fitted.
- Drill or saw a 182 mm (7 3/16”) diameter hole in the floor or bulkhead. Using the fan as a guide, drill the holes for its fitting screws or bolts.
- Fit the ventilator with 4 stainless steel bolts or screws, size M6 or 1/4”. Tighten up the screws evenly, but not so tight that they split the mounting flange.
Ventilation Duct
- Use ventilation duct with an internal diameter of 178 mm (7”). This ducting must conform to the following specifications:
- Smooth on the inside
- Resistant to a temperature of 70 degrees C
- Resistant to oil water and fuel
- Resistant to under and over-pressure
- Keep the ventilation duct as short as possible, with as few bends as possible and keep the bend radius as large as possible.
- Fit the duct with a rotating motion to the duct connection. Fix the ventilation duct with 2 stainless steel clamps per connection. A ridge on the duct connector holds the duct in place and stops the duct slipping off after fitting.
Safety
Fit a grille over the extractor opening when the fan does not have a ventilation duct. This will prevent touching the revolving fan blades.
Electrical Connection
- Check that the ship’s voltage is the same as the voltage stated on the fan (12 or 24 Volt).
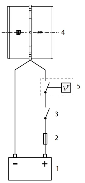
- Connect the fan as shown in the wiring diagram. Red is + (positive), black is – (negative). Fit an 8 Amp fuse (for 12 Volt) or 4 Amp (for 24 Volt) in the + wire. Extend the connector wires if required. The minimum core wire cross- section is 1.5 mm2, the insulation must be resistant to more than 70 degrees C. Use insulated cable shoes. A thermostat (5) can also be included in series with the switch in the circuit.
Technical Data
- Motor : 12 V or 24 V direct current
- RPM : 4,000 RPM, nominal
- Current consumption : 6 Amp for 12 V, 3 Amp for 24 V
- Capacity : Max. 12.2 m3/min (431 CFM)
- Fan housing : NAVIDURIN®
- Fan blade : Polypropylene plastic, 6.5” diameter
- Duct Connector : 178 mm (7”) diameter
- Weight : 1.9 kg (4.2 lbs)
- Max. ambient temp. : 70 degrees C (158 degrees F)
Installation examples

Principal dimensions

Electrical Connection

- Battery
- Fuse
- Switch
- Fan
- Thermostat (optional)
ABOUT COMPANY
- Fokkerstraat 571
- 3125 BD Schiedam
- Holland
- Tel.: +31 (0)88 4884700
- [email protected]
- www.vetus.com




















