SPYDA Ceiling Fan

THE AIR MOVEMENT SPECIALISTS
(This photo is for reference only; it does not mean you are purchasing an identical product.
Fan picture is for illustration purposes only. Styles may vary according to the model.)
Ceiling Fan Installation Manual, Rev 1.0
SPYDA
THE CEILING FAN REVOLUTION
Models:

CAUTION
Read Instructions Carefully For Safe Installation and Fan Operation
MUST BE INSTALLED BY A LICENSED ELECTRICIAN
THANK YOU FOR PURSHING
Thank you for purchasing this quality Ventair ceiling fan. To ensure correct function and safety, please read all instructions before using the product and keep all instructions for future reference.
SAFETY PRECAUTIONS
The information contained in the following pages has been prepared to ensure you of trouble-free operation of your ceiling fan.
- To ensure the success of the installation, be sure to read the instruction and study the diagrams thoroughly.
- All electrical work should only commence after disconnection of the power. Remove fuses or turn off the circuit breaker to ensure all pole isolation of the electrical supply.
- Make sure that your installation site will not allow the rotating fan blades to come in contact with any object and that there is a minimum clearance of 150mm from the blade tip to the wall or ceiling. Please note that the greater the clearance around the fan, the better the airflow will be.
- The fixing point for the fan must be able to support the weight of 4 times that of the net weight of the fan.
Net weights can be found on the next page. If you are mounting the fan to a ceiling junction box, the box and fixing must be able to support the moving weight of the fan and must not twist or work loose. - The fan must be earthed.
- Do not connect the fan motor to a dimmer switch. This may give an unsatisfactory performance (motor hum) and cause damage to the motor.
- It is not recommended that ceiling fans and gas appliances be operated in the same room at the same time.
- The fan must be turned off and stopped completely before reversing the fan direction. This will prevent any damage to the motor of the unit or controller (if installed).
- Do not insert anything into the fan blades while the fan is operating. This will damage the blades and upset the balance of the unit causing the unit to wobble.
- After the fan is completely installed, make sure that all connections are secured and tightened to prevent any problems.
- Because of the fan’s natural movement, some connections may loosen. Check the support connections, brackets and blade attachments twice a year to make sure they are all secured. If they are loose, lighten with a screwdriver.
- Always have your fan installed by a licensed electrician.
- This appliance is not intended for use by persons (including children) with reduced physical, sensory or mental capabilities, or lack of experience and knowledge, unless they have been given supervision or instruction concerning use of the appliance by a person responsible for their safety.
- Children should be supervised to ensure that they do not play with the appliance.
- The fan is to be installed so that the blades are at least 2.1 m or more above the floor.
IMPORTANT:
This fan is suitable for indoor/ fully covered outdoor use only.
An all-pole disconnection switch must be incorporated into the fixed wiring, in accordance with local wiring rules.
SPECIFICATION

PARTS LIST
Unpack the fan and carefully identify the parts. Please refer to Fig 1.


Note: Part List number 9 and 10 is for fan with light model only.
INSTALLATION
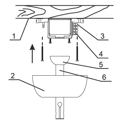
Mounting Plate Hanging System

- Ceiling Joist
- Canopy
- Terminal Block and Mounting Plate
- Earth Wire
- Hanger Ball
- Download
Please ensure the fixing tab fits into the groove of the hanger ball as shown in above diagram. Minor design changes may result in slight variation between the product illustrated and that which is contained in this package.
INSTALLATION ON RAKED CEILING
- Please ensure the fixing tab fits in the grove of the hanger bell as the picture showing.
- Please ensure the fixing lab is set at highest Point.

HOW TO INSTALL THE CANOPY
With the upper canopy about 5mm off the ceiling, secure it into position with canopy screw.

HOW TO CHANGE LED LIGHT COLOUR (DEFAULT COLOUR NATURAL WHITE)
The fan with light attached has three colour options available – Cool White, Natural White, and Warm White. The TRI colour control switch is on the light driver in the upper canopy. When pressed, the light will change colour. Pressing it again will change it again, cycling through all three options.

NOTE:
Please adjust the colour to your preference before installing the canopy.
STEP DIMMING INSTRUCTIONS
Using a Standard Wall Control
1. Flick switch to ‘ON’ – Light will be at 100%.
2. While ‘ON’, flick switch to ‘OFF’ then ‘ON’ again within 2 seconds – Light will be at 75%.
3. Continue same process to reach 50% and 25% light level.

NOTE: If the light switch is ‘OFF’ for more than 2 seconds, it will revert to 100% light setting when next operated.
Using Remote Control (Not Included)

1. Use Eco/Med/High buttons to alter the fan speed.
2. ‘OFF” button will turn the fan off only.
3. Turn Light “ON/OFF” for light.
4. Press the “STEP DIM” button to transition through 75%, 50%, 25% then back to 100% of light output.
WIRING DIAGRAM OF WALL CONTROL TERMINAL
WIRING DIAGRAM OF WALL CONTROL TERMINAL

WARNING: FOR YOUR SAFETY, ENSURE THE MAINS SUPPLY IS SWITCHED OFF TO THE WIRING CIRCUIT BEFORE PERFORMING ANY ELECTRICAL TASKS.
WIRING DIAGRAM FOR MOUNTING BRACKET TERMINAL & WALL CONTROL

WIRING DIAGRAM FOR ISOLATION SWITCH WITH REMOTE CONTROL

INSTALLATION TIPS
The fixing point for the fan must be able to support the weight of 4 times that of the net weight of the fan. If you are mounting the fan to a ceiling junction box, the box and fixing must be able to support the moving weight of the fan and must not twist or work loose.
All pole disconnection switches must be included in the fixed wiring.
- Only use the included wall control plate. Using other wall control plates will void warranty and may damage the fan.
- Do not use a solid state dimmer control.
- Do not use the light switch to control the fan motor.
- The wall control shall fit into existing gang block or wall plate. If you do not flush mount the control, use a standard single gang mounting block. Careful not to mix the supply live and the fan live connection. Reverse connection of the speed control will affect the correct operation of the fan.
- After the wiring connections are completed, ensure that all wires are arranged in a tidy manner, and make sure the ball sits well into the bracket, as it is important to reduce your fan from wobbling.
Step A: Connect the EARTH wire to the terminal port marked •(l)• on the terminal block mounting bracket.
Step B: Connect the supply LIVE wire to the wall controller terminal port labelled “TO 240V/50HZ”.
Step C: Connect a wire from the Fan Live •L” from the terminal block mounting bracket, to the terminal port labelled “FOR FAN-L” on the wall controller.
Step D: Connect a wire from the Light Live” , “from the terminal mounting bracket, to the terminal port labelled “FOR LIGHT-L” on the wall controller. NOTE: The fan light wiring is only applicable to fan models with a light.
Step E: Connect the supply Neutral wire to the terminal port marked •won the terminal block mounting bracket.
Once all the above steps have been followed, you are now ready to restore the mains power supply. Make sure there is nobody near or under the fan, then turn ON the fan (and light switch if included in your model) to test.
LIGHT KIT ASSEMBLY


INSTALL OPTIONAL REMOTE CONTROL

HOW TO OPERATE
To turn the fan on, simply turn the switch knob to the (1,2,3) Position. To turn off, turn the switch knob to the OFF position.
MAINTENANCE AND TROUBLE SHOOTING
- Keep the fan clean. Wipe away dirt with a clean soft cloth, ordinary soap and water, wipe dry. Do not use solvents, etc. (Gasoline or petroleum.)
- Make sure to disconnect the power supply before cleaning and maintenance is carried out.
- Ensure that the fan is switched off from the supply mains before removing the guard.
The points described below should be checked, and corrected if necessary, upon installation and at least once a year thereafter.
Excessive movement and wobbling?
- Check all screws, bolts and nuts are secured tightly.
- Change position of the blades.
- Check blade height. Carefully rotate the fan and measure each blade from a fixed point on the ceiling. (Adjust if necessary, by loosening and re tightening the upper or lower blade screws)

Does the motor, down rod or other components shake or vibrate abnormally? Shaking and abnormal vibration can be caused if the blade holding screws or screws for the suspended parts are loose, or if a blade is deformed. If a blade is deformed, all 3 (or 4) blades should be replaced as a set.
Is there any unusual noise?
Are the blade holding screws or screws for the suspended part loose? Is the canopy in contact
with ceiling surface?
Night Noise:
This is the biggest cause for service calls, which are outside the manufacturer’s warranty. If a fan has a fault, it will always be noticeable. Naturally when everything is quite at night, you will be more inclined to hear small noises, which may not be noticeable at other times. Even slight power fluctuation sand/or mains frequency control signals superimposed in your electricity supply for off-peak hot water control may cause a change in fan motor noise. This is normal.
WARNING:
If at any stage the fan develops excessive wobbling or unusual oscillating movement is observed, immediately stop using the ceiling fan and contact the manufacturer its service agent or suitably qualified persons.
Fan Light:
Except for an actual fault in manufacturing, which is extremely rare, noises and vibrations are often more accentuated when a fan light is fitted. For instance, a fan light glass that has not been tightened or worked loose can cause a rattle. Frequent care and maintenance will reduce this.
Do not dispose of electrical products with household waste. Please check with your local council for advice on disposal or recycling. If electrical appliances are disposed of in landfills or dumps, hazardous substances can leak into the groundwater and get into the food chain, damaging your health and well-being.
4 CAPITAL PLACE CARRUM DOWNS VIC 3201
PHONE: (03} 9775 0556 FAX: (03} 9775 0775
















