212923 Veil Ceiling Fan

Instruction Manual
CAUTION
READ INSTRUCTIONS CAREFULLY FOR SAFE INST ALLATION AND FAN OPERATION.
For customer support, please contact:
Tel: +1 (949) 800 8488
Email: [email protected]
www.beaconlighting.us.
US Patent 8317470, 8807938, 8790085, 9255584, 8851841
THANK YOU FOR PURCHASING
Thank you for purchasing this quality Fanaway product. To ensure correct function and safety, please read and follow all instructions before assembly, installation and use of this ceiling fan. Please keep instructions for future reference.
SAFETY PRECAUTIONS
Read and Save These Instructions
This product conforms to UL standard 507 and CSA STD. C22.2 NO.113.
- WARNING -To avoid possible electrical shock, before installing or servicing your fan, disconnect the power by turning off the circuit breaker of the fuse box to the outlet box.
- WARNING – To reduce the risk of fire, electric shock, or personal injury, mount to outlet box marked “acceptable for fan support of 50 lbs (22.7 kg) or less” and use the mounting screws provided with the outlet box and/or support directly from building structure. Most outlet boxes commonly used for the support of luminares may not be acceptable for fan support and may need to be replaced. Consult a qualified electrician if in doubt.
- WARNING – To reduce the risk of fire or electric shock, do not use this fan with any solid-state speed control device.
- WARNING – To reduce the risk of personal injury, do not bend the blade brackets when installing the blade brackets balancing the blades, or cleaning the fan. Do not insert foreign objects in between rotating fan blades.
- CAUTIONS – All wiring must be in accordance with the National Electrical Code (ANSI/NFPA 70) and local electrical codes. If you are unfamiliar with wiring, use a qualified electrician.
- To reduce the risk of injury to person, the fan must be mounted with a minimum of 7 feet clearance from the bottom edge of the blades to the floor.
- After marking electrical connections, spliced conductors should be turned upward and pushed carefully up into the outlet box. The wires should be spread apart with the grounded conductor and the equipment-grounding conductor on one side of the outlet box.
- This equipment has been tested and found to comply with the limits for a Class B digital device, pursuant to part 15 of the FCC rules. These limits are to provide reasonable protection against harmful interference in a residential installation. This equipment generates, uses and can radiate radio frequency energy and if not installed and used in accordance with the instructions may cause harmful interference to radio communications.
- CAUTION – To reduce the risk of electric shock, disconnect the electrical supply circuit to the fan before installing light kit.
- The light kit plate weight is 8.75 kg.
PARTS LIST
- Unpack your ceiling fan and carefully. Remove all parts and hardware.
- Lay out all the components on a smooth surface and make sure there are no components missing before assembling. If parts are missing, return the complete product to the place of purchase for inspection or replacement.
- Check whether the ceiling fan has been damaged during transport. Do not operate/install any product which appears damaged in any way. Return the complete product to the place of purchase for inspection, repair or replacement.
- Examine and identify the parts. Please refer to Fig 1.


INSTALLING THE MOUNTING BRACKET
If there isn’t an existing outlet box, then install one using the following instructions:
- Disconnect the power by removing the fuses or turning off the circuit breakers.
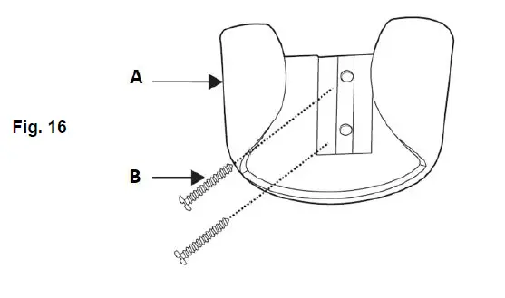
- Secure the outlet box (A) (not included) directly to the building structure. Use appropriate fasteners and materials (not included). The outlet box and its bracing must be able to fully support the weight of the moving fan (at least 50 lbs). Do not use a plastic outlet box.
- Figures below show three different ways to mount the outlet box (A) (not included).

This fan hanging system supports a maximum 15 degree angled ceiling installation. Fig. 4
NOTE: If you are installing the ceiling fan on a sloped ceiling, you may need a longer downrod to maintain proper clearance between the tip of the blade and the ceiling.
NOTE: The ceiling fan must be installed in a location so that the blades are spaced 300mm from the tip of the blade to the nearest objects or walls.
NOTE: For angled ceiling installation, the opening of the mounting bracket (B) must be pointed toward the peak.
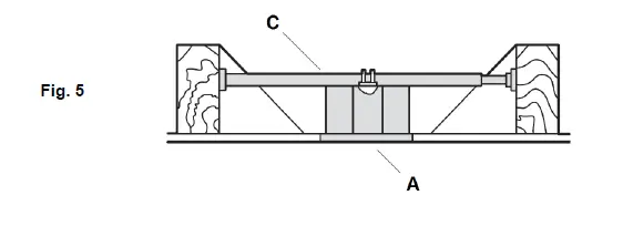
To hang your fan where there is an existing fixture but no ceiling joist, you may need an installation hanger bar (C) as shown in Fig.5. Make sure the hanger bar you purchase has been designed for use with ceiling fans.

INSTALLING THE FAN
INSTALLING THE DOWN ROD (Fig. 6)

1. Remove the ball joint (2) and dowel pin (3) by loosening the set screws (4) from the down rod (6). Remove the hitch pin (9) by removing the lock clip (10). NOTE: Do not discard keep these parts, they are required to reassemble later. (Fig. 6.1)

2. Loosen the set screws (11) on the down rod coupling housing (8). (Fig. 6.2)
3. Carefully feed the fan wires (1) up through the down rod (6). (Fig. 6.3)
4. Assemble the down rod (6) into the down rod coupling housing (8), by inserting and line up the down rod coupling housing holes with the down rod holes and insert the hitch pin (9) and secure with the lock clip (10). (Fig. 6.3)
5. Secure the down rod (6) by tightening the set screws (11). (Fig. 6.4)

6. Insert the decorative cover (7) onto the down rod (6) to cover the down rod coupling housing (8).(Fig. 6.5)
7. Insert the canopy (5) over the down rod (6) and install the ball joint (2) and dowel pin (3) back onto the
FAN INSTALLATION
LIGHT KIT INSTALLATION (Fig.7 & 8)
1. Loosen the screw (1) from the fan bracket. Align the two slot screws with the keyhole slots (2) of the light kit bracket. (Fig. 7)
2. Turn the light kit counterclockwise until the slot screws are firmly at the end of the slots (2).
3. Secure screw (1) to the light kit bracket. Tighten all three screws. Do not over-tighten.

4. Connect the quick connector to the lamp holder part (3). (Fig. 8)
5. Secure the lamp-holder part (3) to the light kit bracket by tightening the 3 screws (4). Do not over-tighten.
6. Install the globes (5) to the lamp holders. Do not exceed the maximum power rating.
7. Install the decorative drops (6) to the light kit.

HANGING THE FAN
Pass the power supply wires (C) from the ceiling outlet box (B) through the center of the ceiling mounting bracket (D).
Install the ceiling mounting bracket (D) on the outlet box (B) with the mounting screws (F) provided with the outlet box and washers (E) provided with fan. Fig. 9

Lift the fan assembly onto the mounting bracket. Ensure the key slot (A) of the hanger ball is positioned on the key pin (B) of the mounting bracket (C) to prevent the fan from rotating when in operation. Fig.10
ELECTRICAL WIRING DIAGRAM
WARNING: To avoid possible electrical shock, be sure you have turned off the power at the main circuit panel.
Follow the steps below to connect the fan to your household wiring. Use the wire connecting nuts supplied with your fan. Secure the connectors with electrical tape. Make sure there are no loose wire strands or connections.


- Connect the household live supply wire (black) to receiver input wire (black, AC IN L) as shown in Fig. 11.
- Connect the household neutral supply wire (white) to the receiver input wire (white, AC IN N).
- Connect the household ground wire to the fan bracket ground wire (green) and fan body ground wire.
- Connect the reveiver output wire (black, TO MOTOR L) to motor live input wire (black, TO MOTOR L).
- Connect the receiver output wire (white, TO MOTOR N) to motor neutral input wire (white, TO MOTOR N)
- Connect the receiver output wire (blue, FOR LIGHT) to fan light live input wire (blue, FOR LIGHT)
- Pull the metal safety cable on the security hook, tight the safety cable (Fig.11a & Fig.11b)
- After connecting the wires, spread them apart so that the green and white wires are on one side of the outlet box and the black and blue wires are on the other side.
- Turn the connecting nuts upward and push the wiring into the outlet box.
- Carefully insert the Remote Receiver above the hanger ball in the remainder spacing in the mounting bracket. Take care not to damage or loosen any of the wiring.
FINISHING THE INSTALLATION
Slide and align the canopy up to the mounting bracket. Ensure all electrical wiring is tucked inside the canopy and that the wires are not damaged during this step. Secure the canopy to the hanger bracket using the screws provided.

USING YOUR CEILING FAN
SETTING DIP SWITCHES
When two or more fans are located near each other, you may desire to have the receiver/transmitter for each fan set to a different code, so that the operation of one fan does not affect the operation of the other fans.
The DIP switches for the receiver are located on the flat surface of the receiver. The DIP switches for the transmitter are in the battery compartment. Fig. 13.
NOTE: Ensure that the power to the supply wires has been turned off before setting the code.

Change the position of the DIP switches in the remote transmitter and the receiver. Make sure that the DIP switches match in the remote receiver and transmitter. If they don’t match, the transmitter will not function. Fig. 14
INSTALLING THE REMOTE BATTERY
1 x 9V DC (size) battery is required to operate the remote control. Remove the battery cover from the back of the remote and 1 x 9V DC (size) battery. Ensure the polarities are correct as shown on the battery connector. (Batteries included.)
OPERATING THE REMOTE:
Before you start using the remote, take the time to read through this section and get familiar with the buttons and function of each button.

LED Indicator
The red LED indicator on the top of the transmitter will flash when the buttons are active.
BUTTONS ON THE REMOTE
HI: Press the button to set fan running at High speed.
MED: Press the button to set fan running at Medium speed.
LOW: Press the button to set fan running at Low speed.
OFF: Press the button to turn OFF the fan.
LIGHT CONTROL BUTTON:
Press the button to turn the light ON/OFF.
Press and hold the button to access the light dimming function.
The remote has memory function. If the fan or light is turned off by the isolating switch, it will memorise and recover the last status when turned on next.
INSTALLING THE TRANSMITTER HOLDER
Install the holder to the wall with two screws provided, hang up the transmitter by the holder.

REVERSING FUNCTION (Fig. 17)
Your ceiling fan can operate in either summer or winter mode.
SUMMER Mode: The reverse switch should be in the SUMMER position to rotate the fan in an anticlockwise direction. The airflow will be directed downwards, for cooling in summer.
WINTER Mode: The reverse switch should be in the WINTER position to rotate the fan in a clockwise direction. The airflow will be directed upwards assisting in the circulation of warm air, for energy conservation in winter.

AFTER INSTALLATION
WOBBLE:
NOTE: ceiling fans tend to move during operation due to the fact that they are mounted on a rubber grommet. If the fan was mounted rigidly to the ceiling it would cause excessive vibration. Movement of a few centimetres is quite acceptable and DOES NOT suggest any problem.
TO REDUCE THE FAN WOBBLE: Please check that all screws which fix the mounting bracket and down rod are secure.
WOBBLE:
NOTE: ceiling fans tend to move during operation due to the fact that they are mounted on a rubber grommet. If the fan was mounted rigidly to the ceiling it would cause excessive vibration. Movement of a few centimetres is quite acceptable and DOES NOT suggest any problem.
TO REDUCE THE FAN WOBBLE: Please check that all screws which fix the mounting bracket and down rod are secure.
NOISE:
When it is quiet (especially at night) you may hear occasional small noises. Slight power fluctuations and frequency signals superimposed in the electricity for off-peak hot water control, may cause a change in fan motor noise. This is normal. Please allow a 24-hour “breaking -in” period, most noises associated with a new fan disappear during this time. All electric motors are audible to some extent. Please note that this is not a product fault, and as such is not covered under warranty.
When it is quiet (especially at night) you may hear occasional small noises. Slight power fluctuations and frequency signals superimposed in the electricity for off-peak hot water control, may cause a change in fan motor noise. This is normal. Please allow a 24-hour “breaking -in” period, most noises associated with a new fan disappear during this time. All electric motors are audible to some extent. Please note that this is not a product fault, and as such is not covered under warranty.
CARE & CLEANING
NOTE: Always turn OFF the power at the mains switch before performing any maintenance or attempting to clean your fan.
1) Every 6 months periodic cleaning of your ceiling fan is the only maintenance required. Use a soft brush or lint free cloth to avoid scratching the paint finish. Please turn OFF electricity power when you do so.
2) Do not soak or immerse your ceiling fan in water or other liquids. It could damage the motor or the blades and create the possibility of an electrical shock.
3) Ensure that the fan does not come in contact with any organic solvents or cleaners.
4) To clean the fan blade, wipe with only a damp clean cloth with NO organic solvents or cleaners.
5) The motor has a permanently lubricated ball bearing so there is no need to oil.

These are approximate measurements. They do not include data for any lamps or fixtures attached to the ceiling fan.
1 year warranty covers the entire fan. Please refer to warranty card for the details.


















