FANAWAY EVO1 LED Ceiling Fan
INTRODUCTION
THANK YOU FOR PURCHASING
Thank you for purchasing this quality Fanaway product. To ensure correct function and safety, please read and keep all instructions before using the product
SAFETY PRECAUTIONS
- WARNING -To avoid possible electrical shock, before installing or servicing your fan, disconnect the power by turning off the circuit breaker of the fuse box to the outlet box.
- WARNING – To reduce the risk of fire, electric shock, or personal injury, mount to outlet box marked “acceptable for fan support of 35 lbs (15.9 kg) or less” and use the mounting screws provided with the outlet box and/or support directly from building structure. Most outlet boxes commonly used for the support of luminaries may not be acceptable for fan support and may need to be replaced. Consult a qualified electrician if in doubt.
- WARNING – To reduce the risk of fire or electric shock, do not use this fan with any solid-state speed control device.
- WARNING – To reduce the risk of personal injury, do not bend the blade brackets when installing the blade brackets balancing the blades, or cleaning the fan. Do not insert foreign objects in between rotating fan blades.
- CAUTIONS – All wiring must be in accordance with the National Electrical Code (ANSI/NFPA 70) and local electrical codes. Electrical installation should be performed by a qualified licensed electrician.
- To reduce the risk of injury to person, the fan must be mounted with a minimum of 7 feet clearance from the bottom edge of the blades to the floor.
- After marking electrical connections, spliced conductors should be turned upward and pushed carefully up into the outlet box. The wires should be spread apart with the grounded conductor and the equipment-grounding conductor on one side of the outlet box.
- This equipment has been tested and found to comply with the limits for a Class B digital device, pursuant to part 15 of the FCC rules. These limits are to provide reasonable protection against harmful interference in a residential installation. This equipment generates, uses and can radiate radio frequency energy and if not installed and used in accordance with the instructions may cause harmful interference to radio communications.
PARTS LIST
- Mounting bracket x 1
- Canopy screws x 4
- Canopyx1
- Down rod with ball joint x 1
- Bolt and pin cover x 1
- Bolt x 1
- Pin x 1
- Top housing x 1
- Blade x 4
- Retraction mechanism x 1
- Lamp base x 1
- LED board x 1
- Lamp shade x 1
- Wood screw x 2
- Machine screw x 2
- Flat washer x2
- Spring washer x 2
- Security Hook x 1
- Wire nutx 6
- LED light cable x1
- Receiver x1
- Remote x 1 set
- LED driver x 1
- LED light extension cable x1

INSTALLING THE MOUNTING BRACKET
If there isn’t an existing outlet box, then install one using the following instructions:
- Disconnect the power by removing the fuses or turning off the circuit breakers.
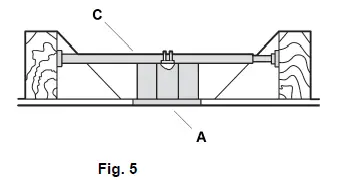
- Secure the outlet box (A) (not included) directly to the building structure. Use appropriate fasteners and materials (not included). The outlet box and its bracing must be able to fully support the weight of the moving fan (at least 35 lbs). Do not use a plastic outlet box.
- Figures below show three different ways to mount the outlet box (A) (not included).
- This fan hanging system supports a maximum 15 degree angled ceiling installation

NOTE:
- If you are installing the ceiling fan on a sloped ceiling, you may need a longer down rod to maintain proper clearance between the tip of the blade and the ceiling.
- The ceiling fan must be installed in a location so that the blades are spaced 300mm from the tip of the blade to the nearest objects or walls.
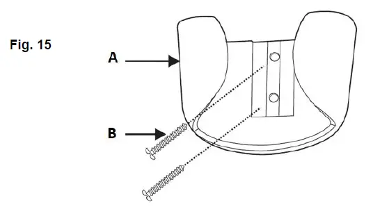
- For angled ceiling installation, the opening of the mounting bracket (B) must be pointed toward the peak.
To hang your fan where there is an existing fixture but no ceiling joist, you may need an installation hanger bar (C) . Make sure the hanger bar you purchase has been designed for use with ceiling fans.
INSTALLING THE DOWN ROD
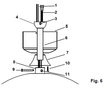
- Remove the ball joint (4) from down rod (6) by loosening the set screw (3), insert the motor wires (1) and LED light cable (2) through the down rod (6).
- Insert the down rod to the coupling (8), line up the coupling holes with the down rod holes and insert the bolt (9). Then insert the pin (10) to the end of the bolt.
- Secure the down rod and coupling by tightening the two set screws (11) on the coupling.
- Feed the bolt and pin cover (7) and the canopy (5) through the down rod.
- Secure the ball joint back to the down rod.

HANGING THE FAN
Pass the power supply wires (C) from the ceiling outlet box (B) through the center of the ceiling mounting bracket (D). Install the ceiling mounting bracket (D) on the outlet box (B) with the mounting screws (F) provided with the outlet box and washers (E) provided with fan. Lift the fan assembly onto the mounting bracket. Ensure the registration slot (A) of the hanger ball is positioned on the stopper (B) of the mounting bracket (C) to prevent the fan from rotating when in operation. 
FAN INSTALLATION
Light kit installation
CAUTION – To reduce the risk of electric shock, disconnect the electrical supply circuit to the fan before installing light kit. Light kit weight: 6 .16 lb.
- Remove the lamp shade (5) from the lamp base (4) by turning it anti-clockwise.
- Loosen the screw (1) from the base bracket (3). Align the two slot screws (2) with the keyhole slots of the lamp base (4).
- Turn the lamp base counter clockwise until the slot screws are firmly at the end of the slots.
- Secure screw (1) back to the base bracket. Tighten all three screws. Do not over-tighten.
- Connect the upper plug (6) from the fan to the lower socket (6) in the LED board (7).
- Finally install the lamp shade to the lamp base by turning it clockwise.

ELECTRICAL WIRING DIAGRAM
WARNING: To avoid possible electrical shock, be sure you have turned off the power at the main circuit panel.
Follow the steps below to connect the fan to your household wiring. Use the wire connecting nuts supplied with your fan. Secure the connectors with electrical tape. Make sure there are no loose wire strands or connections.
- Connect the household live supply wire (black) to receiver input wire (black, AC IN L) as shown in Fig. 10a.
- Connect the household neutral supply wire (white) to the receiver input wire (white, AC IN N).
- Connect the household ground wire to the fan bracket ground wire (green) and fan body ground wire
- Connect the receiver output wire (black, TO MOTOR L) to motor live input wire (black, TO MOTOR L).
- Connect the receiver output wire (white, TO MOTOR N) to motor neutral input wire (white, TO MOTOR N)
- Connect the LED driver power input wires and remote receiver power output wires via the 2-port quick connectors (3);
- connect the LED driver PWM signal input wires and remote receiver PWM signal output wires via the 3-port quick connectors (2)
- also connect the LED driver output wires and LED light wires via the quick connectors (1)
- pull the metal safety cable on the security hook, tight the safety cable (Fig.10a & Fig10b)
- After connecting the wires, spread them apart so that the green and white wires are on one side of the outlet box and the black and blue wires are on the other side.
- Turn the connecting nuts upward and push the wiring into the outlet box.
- Insert the LED driver into the lower layer of the mounting bracket, and then insert the remote receiver into the top layer of the mounting bracket.

Safety cable assembled
FINISHING THE INSTALLATION
Slide and align the canopy up to the mounting bracket. Ensure all electrical wiring is tucked inside the canopy and that the wires are not damaged during this step. Secure the canopy to the hanger bracket using the screws provided.
USING YOUR CEILING FAN
SETTING DIP SWITCHES
When two or more fans are located near each other, you may desire to have the receiver/transmitter for each fan set to a different code, so that the operation of one fan does not affect the operation of the other fans. The DIP switches for the receiver are located on the flat surface of the receiver. The DIP switches for the transmitter are in the battery compartment.
NOTE: Ensure that the power to the supply wires has been turned off before setting the code. Change the position of the DIP switches in the remote transmitter and the receiver. Make sure that the DIP switches match in the remote receiver and transmitter. If they don’t match, the transmitter will not function. 
INSTALLING THE REMOTE BATTERY
2 x AAA 1.5V (size) batteries are required to operate the remote control. Remove the battery cover from the back of the remote and insert 2 x AAA batteries. Ensure the polarities are correct as shown in the battery compartment. (Batteries included.)
OPERATING THE REMOTE:
Before you start using the remote, take the time to read through this section and get familiar with the buttons and function of each button.
- LED Indicator
- The red LED indicator on the top of the transmitter will flash when the buttons are active.
- BUTTONS ON THE REMOTE
- HI: Press this button to set the fan running at High speed.
- MED: Press this button to set the fan running at Medium speed.
- LOW: Press this button to set the fan running at Low speed.
- OFF: Press this button to turn OFF the fan.
Press this button to change the color temperature in the following order
Press this button to turn ON/OFF the light and press and hold the button to access the light dimming function.

INSTALLING THE TRANSMITTER HOLDER
Install the holder to the wall with two screws provided, hang up the transmitter by the holder.
WOBBLE:
NOTE: ceiling fans tend to move during operation due to the fact that they are mounted on a rubber grommet. If the fan was mounted rigidly to the ceiling it would cause excessive vibration. Movement of a few centimetres is quite acceptable and DOES NOT suggest any problem.
TO REDUCE THE FAN WOBBLE: Please check that all screws which fix the mounting bracket and down rod are secure.
NOISE:
When it is quiet (especially at night) you may hear occasional small noises. Slight power fluctuations and frequency signals superimposed in the electricity for off-peak hot water control, may cause a change in fan motor noise. This is normal. Please allow a 24-hour “breaking -in” period, most noises associated with a new fan disappear during this time. All electric motors are audible to some extent. Please note that this is not a product fault, and as such is not covered under warranty.
CARE AND CLEANING
- Periodic cleaning of your ceiling fan is the only maintenance required. Use a soft brush or lint free cloth to avoid scratching the paint finish. Please turn OFF electricity power when you do so.
- Ensure that the product does not come in contact with corrosive chemicals/solvents or abrasive cleaners etc.
- To clean, wipe with a soft damp clean cloth. Do NOT soak or immerse the product in water or other liquids.It could damage the motor or the blades and create the possibility of an electrical shock.
- The motor has a permanently lubricated ball bearing so there is no need to oil.
NOTE: Always turn OFF the power before attempting to clean your fan.
TECHNICAL INFORMATION
| Fan Size | Speed | Volts (V) | Amps (A) | Watts (W) | RPM | CFM | CFM/ W | N.W. (lbs) | G.W. (lbs) | C.F. |
| 48” LD-0003- 15/XXX/LE D/01 | Extra-High | 120 | 0.48 | 56.36W | 240 | 4172.69 | 74.04 | 25.1 | 30.1 | 4.1 |
| Medium High | 120 | 0.33 | 32.59W | 170 | 3029.29 | 92.95 | 25.1 | 30.1 | 4.1 | |
| Low | 120 | 0.21 | 19.37W | 120 | 2115.13 | 109.20 | 25.1 | 30.1 | 4.1 |
WARRANTY
1 year warranty covers the entire fan. Please refer to warranty card for the details.

























