artika FAN-SUR-SL Edwin LED Ceiling Fan

INCLUDED HARDWARE
STEP-BY-STEP INSTALLATION
WARNING
The installer and/or user must read, understand and follow these instructions before installing the product. This product must be properly installed before it is used. If instructions are not followed, the manufacturer will not be held responsible for any problems or product malfunctions. Failure to follow installation and/or operating instructions will the warranty. We recommend that this product be installed by a certified electrician. In some states or provinces, it is legally required that for this type of product be installed by a certified electrician, according to the electrical and building codes effective in the region where the unit is being used.
WARNING:
- Risk of electrical shock. Turn off power at the breaker panel.
- Switch off the main electrical supply from the fuse box/circuit breaker before installing the unit or doing any maintenance.
- Do not use outdoor.
CAUTION
- Caution, mount with the lowest parts at least 2.1 metres above the floor or grade level.
- The setting screws must be securely tightened before operating the fan.
- WARNING: To reduce the risk of fire, electric shock or personal injury, mount the fan only to an outlet box marked acceptable for fan support and use the mounting screws provided with the outlet box.
- Most outlet boxes commonly used for hanging light fixtures are not rated for fan support and may need to be replaced. If in doubt, contact a qualified electrician
- DO NOT USE THIS FAN WITH ANY SOLID-STATE SPEED CONTROL DEVICE
- WARNING: The mounting bracket is not designed to exceed 15.5 kg (35 lbs) of total weight.
- All wiring in accordance with the national Electric Code ANSI/NFPA 70 and local codes.
- To Reduce The Risk Of Personal Injury, Do Not Bend The Blade Brackets When Installing The Brackets, Balancing The Blades, Or Cleaning The Fan. Do Not Insert Foreign Objects In Between Rotating Fan Blades.
MOUNTING BRACKET INSTALLATION
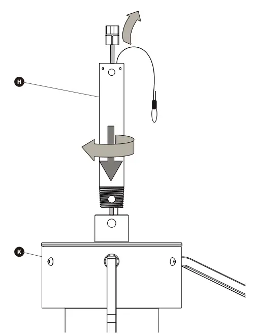
MAIN ROD PREPARATION
MAIN ROD INSTALLATION
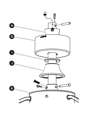
FIXTURE ASSEMBLY

WIRES CONNECTION
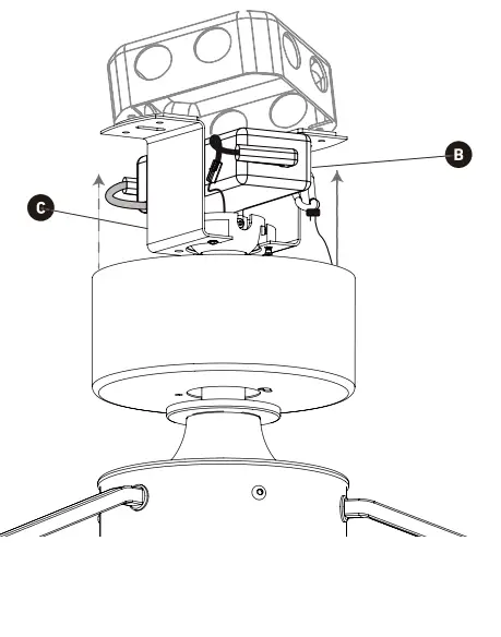
DRIVER INSTALLATION
FINAL INSTALLATION
REMOTE CONTROL FUNCTIONS
NOTE:
- All wiring must be in accordance with the National Electrical Code “ANSI/ NFPA 70-1999” and local electrical codes.
- To reduce the risk of electric shock ensure electricity has been turned off at the circuit breaker or fuse box before beginning.
- After making electrical connections, spliced conductors should be turned upward and pushed carefully up into the outlet box. The wires should be spread apart with the grounded conductor and the equipment-grounding conductor on one side of the outlet box and the ungrounded conductor on the other side of the outlet box.
- Check that the outlet box is securely installed in place such that it is able to support at least the fan weight ( total weight of the fan is approximately 5 KG).
- This product contains a lithium button/coin cell battery. If a new or used lithium button/coin cell battery is swallowed or enters the body, it can cause severe internal burns and can lead to death in as little as 2 hours. Always completely secure the battery compartment. If the battery compartment does not close securely, stop using the product, remove the batteries, and keep it away from
children. If you think batteries might have been swallowed or placed inside any part of the body, seek immediate medical attention. - The cells shall be disposed of properly, including keeping them away from children;
- Even used cells may cause injury.































