minkaAire Artemis XL5 LED Ceiling Fan

This product is protected by the United States Federal and/or State Law including Patent, Trademark, and /or Copyright Laws. ©2017 Minka Lighting Inc. Manual design and all elements of manual design are protected by United States Federal and/or State Law including Patent, Trademark and/or Copyright Laws.
WARRANTY
The Minka-Aire® warranty is for one (1) year from the date of purchase from an authorized Minka-Aire® dealer. This warranty is only valid to the original purchaser or user against all defects in material and workmanship Uight bulbs excluded) for one (1) full year. Additionally, Minka-Aire® warrants the motor only for the lifetime of the Minka Aire ceiling fan (excluding wall controls and electrical components ), to the original purchaser or user.
- The warranty is voided with the use of any non- Minka-Aire®electrical devices, E.g. , wall controls or electrical dimmer switches, etc···
- The warranty is void once the original purchaser or user ceases to own the fan or the fan is moved from its original point of installation.
- The warranty is void with the use of any hanger bracket (non-Minka Aire or non-fan specific) other than the hanger bracket supplied & installed with this specific fan.
Warranty Service Information
To obtain warranty service during the warranty period, the purchaser should return the fan with the sales receipt to the original place of purchase. The authorized Minka-Aire® dealer, at its sole discretion, will either repair or replace the fan after verifying the legitimacy of the warranty claim. Replacement is subject to availability of the same model. If the model is unavailable it will be replaced by one of equal value. This is a limited warranty; the original purchaser or user is responsible for the cost of removal and reinstallation of repaired or replacement product.
To obtain the name of the Minka-Aire® authorized dealer nearest you call the Minka-Aire® customer care department at 1-800-307-326 7 , or contact Minka-Aire® through www.minkagroup.net and select FAQ to answer any questions or if you require additional assistance submit the question from found there.
- Date Purchased
- Store Purchased
- Model Number
- Serial Number
SAFETY RULES
- Before you begin installing the fan, shut power off the circuit breaker of the fuse box.
- Be cautious! Read all instructions and safety information before installing your new fan. Review accompanying assembly diagrams.
- Make sure that all electrical connections comply with local codes, ordinance, or National Electrical Codes, ANSI/NFPA 70. Hire a qualified electrician or consult a do-it-your self wiring handbook if you are unfamiliar with installing electrical wiring.
- Make sure the installation site you choose allows the fan blades to rotate without any obstructions. Allow a minimum clearance of 7 feet from the floor and 18 inches from the top of the blades to the wall.
- If you are mounting the fan to a ceiling fan outlet box, use a U.L Listed metal octagonal outlet box marked’Acceptable For Fan Support’. Secure the box directly to the building structure. The outlet box and its support must be able to support the moving weight of the fan (at least 50 pounds). Do not use a plastic box.
- Caution: To reduce the risk of injury use only the screws provided with the outlet box in conjunction with the lock washers provided with the fan.
- If you are mounting the fan to a joist, make sure it is able to support the moving weight of the fan (at least 50 pounds).
- After you install the fan, make sure that all mounting components are secured to prevent the fan from falling.
- Do not insert anything into the fan blades while the fan is operating.
- Turn the fan off and wait for the blades to stop completely before performing any maintenance or cleaning.
ATTENTION: The Energy Policy Act of 2005 requires this fan to be equipped with a 7 Swatt limiting device, If lamping exceeds 7 5 watts, the ceiling fan’s light kit will shut off automatically.
NOTE: The important safeguards and instructions appearing in this manual are not meant to cover all possible conditions and situations that may occur. It must be understood that common sense,caution and care are factors which can not be built into this product. These factors must be supplied by the person(s) installing, caring for and operating the unit.
NOTE: READ AND SAVE ALL INSTRUCTIONS!
WARNING
TO REDUCE THE RISK OF FIRE,ELECTRIC SHOCK OR OTHER PERSONAL INJURY, MOUNT FAN ONLY TO A U.L LISTED OUTLET BOX OR SUPPORTING SYSTEM MARKED ACCEPTABLE FOR FAN SUPPORT AND USE MOUNTING SCREWS PROVIDED WITH THE OUTLET BOX IN CONJUCTION WITH THE LOCK WASHERS PROVIDED WITH THE FAN. MOST OUTLET BOXS COMMONLY USED FOR THE SUPPORT OF LIGHTING FIXTURES ARE NOT ACCEPTABLE FOR FAN SUPPORT AND NEED TO BE REPLACED. CONSULT A QUALi FiDE ELECTRICIAN IF IN DOUBT.
TO REDUCE THE RISK OF PERSONAL INJURY, DO NOT BEND THE BLADE HOLDERS WHILE INSTALLING BALANCING THE BLADES OR CLEANING THE FAN. DO NOT INSERT FOREIGN OBJECTS BETWEEN ROTATING FAN BLADES. TO REDUCE THE RISK OF FIRE OR ELECTRONIC SHOCK, THIS FAN ONLY CAN USE DL-4S10 REMOTE CONTROL ONLY.
PACKAGE CONTENTS
Unpack your fan and check the contents. You should have the following items:

- Fan blades(S)
- Hanger bracket
- Canopy
- Canopy cover
- Standard downrod assembly(6′)
- Coupling cover
- Fan motor/housing assembly
- Mounting plate
- 17W LED assembly
- Glass shade
- Metal shade
- Transmitter + holder + 2mounting screws + A23 12 volt battery
- A. Mounting hardware:
- Wire nuts(3)
- #8×3/4″Machine screws (2)
- #10×1.5Wood screws (2)
- 4mm Star washers (2)
- Metal washers (2)
Lock washers (2)
- B. Blade attachment hardware:
3/16″x 12.7 mm screws (16) Metal washers (16)
INSTALLING THE FAN
Tools Required: Philips screw driver, slotted screw driver, step-ladder, wire cutters, electrical tape
MOUNTING OPTIONS
If there isn’t an existing mounting box, then read the following instructions. Disconnect the power by removing fuses or turning off circuit breakers. Secure the outlet box directly to the building structure. Use appropriate fasteners and building materials. The outlet box and its support must be able to fully support the moving weight of the fan (at least 50 lbs .Use a UL listed metal outlet box. Do not use a plastic outlet box. 2 and 3 are examples of different ways to mount the outlet box.
Note: You may need a longer downrod to maintain proper blade clearance when installing on a steep, sloped ceiling. Longer downrods are available from your Minka-Aire dealer®.
To hang your fan where there is an existing fixture but no ceiling joist, you may need to install a hanger bar as shown in Fig.4(available at your Minka Aire dealer® or local hardware store).

HANGING THE FAN
WARNING: All of the parts, hardware and components such as the hanger bracket and hanger ball have been provided for your safety and the proper installation of your new ceiling fan. The use of other parts,hardware or components not supplied by Minka Aire® with the fan will void the Minka Aire® Warranty. REMEMBER to turn off the power. Follow the steps below to hang your fan properly
- Step 1.Secure the hanger bracket to the ceiling outlet box using screws and washers included with mounting hardware.(Fig.5)
- Step 2.Lossen the two set screws and remove the hitch pin and lock pin from the top coupling of the motor assembly.<Fig 6)
- Step 3.Remove hanger ball from downrod assembly by loosening set screw,removing the cross pin, and sliding ball off rod.(Fig 7)
- Step 4.Carefully feed fan wires up through the downrod(Fig 8). Thread the rod into the coupling, next line up holes and replace lock pin and hitch pin. Tighten set screws.
- Step5. Slip coupling cover, canopy cover, and canopy onto downrod (Fig.9).Carefully reinstall hanger ball onto rod being sure that cross pin is in the correct position, set screws are tighten and wires are not twisted.
- Step 6. Now lift motor assembly into position and place hanger ball into hanger bracket. Rotate until the check groove has dropped into the registration slot and seats firmly.(Fig 10)Rod should not rotate if this is done correctly.

ELECTRICAL CONNECTIONS
WARNING: To avoid possible electrical shock be sure electricity is turned off at the main fuse or breaker box before wiring.
NOTE: The Aire Control® System for this DC motor fans is equipped with a learning frequency function which has 32 code combinations to prevent potential interference from other remote units.
The frequency on your Receiver and Transmitter units have been preset at the factory. (Fig. 11) No frequency change is necessary, should you desire to install another Minka Aire DC motor fan within the same home or area with a separate frequency code please see the ‘frequency interference’ troubleshooting section of this instruction manual to learn how to change the frequency.
- Step 1. Motor to House Supply Wires Electrical Connections: Connect the WHITE wire (Neutral> from the outlet box to the WHITE wire marked ‘AC in N’ from the motor. Connect the BLACK wire (Hot) from the outlet box to the BLACK wire marked ‘AC in L’ from the motor. Secure all wire connections with the plastic wire nuts provided

- Step 2. If your outlet box has a GROUND wire (Green or Bare Copper) connect this wire to the Hanger Ball and Hanger Bracket Ground wires. If your outlet box does not have a Ground Wire, then connect the Hanger Ball and Hanger Bracket Ground Wires together. Secure wire connection with the plastic wire nut provided.

After all splices are made, check to make sure there are no loose strands. As an additional precaution we suggest to secure the plastic wire connectors to the wires with electrical tape.
FINISHING THE INSTALLATION

- Step 1. Tuck connections neatly into ceiling outlet box.
- Step 2. Remove one screw from the hanger bracket and loosen the other screw around 1/4″.
- Step 3. Align the canopy up to ceiling and over the loose screw. Place the canopy into key hole and rotate canopy clockwise. (Figure 13)
- Step 4.Secure the canopy by use previous removed screw.
- Step 5. Place the canopy cover to the canopy and rotate canopy cover clockwise until it is locked into right position. (Figure 13)
BLADE INSTALLATION
Align and engage the top holes from one of the blades to the upper blade holder tabs. Carefully align the bottom holes from the blade to the holes from the lower blade holder. Secure blade with 3 screws and metal washers provided. Follow the same process for the remaining blades. (Fig. 14)

INSTALLING THE MOUNTING PLATE
- Step 1. Remove 1 of 3 screws from the mounting ring and loosen the other 2 screws. (Do not remove)
- Step 2. Place the key holes from the mounting plate over the 2 screws previously loosened from the mounting ring, turn mounting plate until it locks in place at the narrow section of the key holes. Secure by tightening the 2 screws previously loosened and the one previously removed. (Fig. 15)

INSTALLING THE 17W LED ASSEMBLY
NOTE: Before starting installation, disconnect the power by turning off the circuit breaker or removing the fuse at fuse box.
- Step 1. Remove 1 of 3 screws from the mounting plate and loosen the other 2 screws. (Do not remove)
- Step 2. Raise and hold the 17W LED assembly close to the mounting plate and proceed to do the wire connections. firmly snap the wire connection plugs from the 17W LED assembly and fan together.
- Step 3. Place the key holes from the 17W LED assembly over the 2 screws previously loosened from the mounting plate, turn 17W LED assembly until it locks in place at the narrow section of the key holes. Secure by tightening the 2 screws previously loosened and the one previously removed. (Fig. 16)

INSTALLING THE GLASS SHADE
ATTENTION: The Energy Policy Act of 2005 requires this fan to be equipped with a 7 5 watt limiting device. If lamping exceeds 7 5 watts, the ceiling fan’s light kit will shut off automatically.
Note: If you want to install the fan without 17W LED assembly and the glass shade, please skip this last installation process and proceed to page 11
Raise glass shade up against bottom of fan housing and secure it to fan by turning it clockwise until snug. DO NOT OVERTIGHTEN. (Fig. 17)

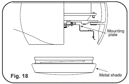
FAN WITHOUT LED AND GLASS
Raise metal shade up against bottom of fan housing and secure it to fan by turning it clockwise until snug. DO NOT OVERTIGHTEN. (Fig. 18)
Note: Installing the metal shade. Make sure the metal shade is securely tighten.

OPERATING THE REMOTE CONTROL/WALL CONTROL
Remote Control only: Install a A2 3 12 volt battery (included). To prevent damage to transmitter remove the battery if not used for long periods of time.
Your DC brushless motor is equipped with a self learning frequency Trequency function remote control. Restore power to ceiling fan and test the transmitter as below for proper operation:
- A.1, 2, 3, 4, 5 and 6 button:
These six buttons are used to set the fan speed as follows:- minimum speed
- low speed
- medium low speed
- medium speed
- medium high speed
- high speed
- B.
Reverse button:
This button is used to change the direction of erotation of the blades; forward arection warm of weather or reverse for cool weather. - C.
button:
This button turns the power Oft and On to the Fan. - D.
Button:
These buttons turn the light ON or OFF and also control the brightness settings of the light. The following instructions apply too ceiling fans that feature a DOWN light
(
button) only or ceiling fans that feature an UP light (
button) and a DOWN light (
button) that are controlled independent of each other: Press and release the button for the desired light to turn the light ON or OFF. Press and hold the button to set the desired light D brightness. getting slight will cycle between bright and dim settings as long as the button is pressed. The light keyy has an automatic auto-resume feature that allows the light to remain at the same brightness as the last time it was turned off.
NOTE: THIS FAN HAS BEEN PRECISION BALANCED AT THE FACTORY AND WILL NOT NEED TO BE BALANCED AGAIN.
Note: The auto learning function will only mandate within 60 seconds when turning the fan’s AC power ON.
- Select desired frequency from the back of transmitter.
- Press the transmitter’s “Off” button, and hold the “Off” button for over 10 seconds. Once the receiver has detected the frequency, the down light of your fan if applicable will blink twice. <There is no indication if your fan is not equipped with a light).
Note: The learning frequency function will continue to retain the last set frequency even when the AC power is shut off.
The DC motor has a built in safety feature against obstruction during operation, if the fan motor senses a obstruction for 60 seconds or more it will get locked and will not rotate until the obstruction has been removed and the power has been disconnected for 5 seconds.
- Over 60W protection: When the receiver detects motor power consumption which is greater than 60W, the receiver’s power will stop and operation will be immediately discontinued.if you want to re-start the fan, Please remove obstacles and disconnect the power by turning off the circuit breaker . And turn the power on after 5 seconds.
- “DIMMER” and “ON/OFF” dip switch: The “DIMMER” selection is the light dimmable selection and is to be used with all bulbs except for CFL bulbs. The “ON/OFF” selection is For CFL bulbs.

Speed settings for warm or cold weather depend on factors such as room size, ceiling height and number of fans.
NOTE: to change the direction of the rotation of the blades the fan must be in operation mode.
Warm Weather (forward)
A DOWNWARD airflow creates a cooling effect as shown in Figure 20. This allows you to set your air conditioner on a warmer setting without affecting your comfort.
Cool Weather (Reverse)
An UPWARD airflow moves warmer air off the ceiling area as shown in Figure 21. This allows you to set your heating unit on a cooler setting without affecting your comfort.

CARE OF YOUR FAN
Here are some suggestions to help maintain your fan.
- Because of the fan’s natural movement some connections may become loose. Check the support connections, brackets and blade attachments twice a year. Make sure they are secure. (It is not necessary to remove fan from the ceiling).
- Clean your fan periodically to help maintain its new appearance over the year. CAUTION; many common household cleaning products contain chemicals that could damage the finish of your fan. Use only a soft lint free cloth and soapy water.
- If your fan is provided with wood veneer blades; you can apply a light coat of furniture polish for additional protection and enhanced beauty. Cover small scratches with a light application of shoe polish.
- Use a lint free lightly damp cloth or duster to remove dust from the blades.
- There is no need to oil your fan. The motor has permanently lubricated bearings.
- If your fan is provided with glass shades, clean with lukewarm soapy water and a soft cloth or sponge. DO NOT IMMERSE GLASS SHADES IN HOT WATER. DO NOT PUT GLASS SHADES INTO AN AUTOMATIC DISHWASHER.
WARNING!
MAKE SURE THE POWER IS OFF AT THE ELECTRICAL PANEL BOX BEFORE YOU ATTEMPT ANY REPAIRS. REFER TO THE SECTION, “ELECTRICAL CONNECTIONS”.
TROUBLESHOOTING
SYMPTOM
Fan will not start
SOLUTION
- Check to make sure the wall switch is turned on.
- Check circuit fuses or breakers.
- Caution! Make sure the power is turned off before performing the following steps.
- Remove canopy and check wire connections.
- Check wall control transmitter connections(if applicable).
- Note: fan must be installed at a maximum distance of 40 feet from the transmitting unit for proper signal transmission between the transmitting unit and the fan’s receiving unit.
SYMPTOM
Fan Sounds Noisy
SOLUTION
- Allow a 24 – hour” break in” period. Most noises associated with a new fan will go away during this time.
- Make sure the screws that attach the fan blade holder to the motor hub is tight.
- Make sure outlet box is secured to building structure, if necessary use the wood screws provided to fruther secure outlet box to joist.
- Make sure hanger bracket is secure to the outlet box,screws are tight.
SYMPTOM
Fan Wobble
SOLUTION
- NOTE:AII blade sets are grouped by weight. Because wood and plastic blades vary in density, the fan may wobble even though blades are matched.
- Make sure outlet box is secured to building structure, if necessary use the wood screws provided to further secure outlet box to joist.
- Make sure hanger bracket is secure to the outlet box, screws are tight.
- If a Balancing kit is provided follow the instructions included with the balancing kit to help correct any excessive wobble
SYMPTOM
Lights shut off and will not come back on
SOLUTION
This unit is equipped with a wattage limiting device. Lamping in excess of 190 watts will disable your ceiling fan’s light kit. To reset your light kit you must turn the power off and re lamp, keeping the wattage under 190 watts. Restor
SYMPTOM
Fans/Light Turn on and Off Unexpectedly
SOLUTION
This is caused by interference. Please see ‘Freduency interference” for step to charge the frequency
SYMPTOM
Frequency Interference
SOLUTION
- Turn the power off to your ceiling fan.
- Please use a small size tool to change the frequency settings on the control system.
- Returm power to the unit.
Note: After the AC power is on, do not press any other button on the transmitter before pressing the ‘Stop• button.doing so will cause the procedure to fail. - Within 60 secounds of turning the fan’s AC power ON. Press the transmitter’s ‘Stop’ button and hold the ‘Stop’ buttor, for 10 seconds.
- Once the receiver has detected the set frequency, the down light of your fan if applicable will blink twice.(there is no indication if your fan is not equipped with a light).
- The receiver has now learn the frequency which has been selected on the transmitter. After completing the steps above.you should be able to operate the ceiling fan and light. If the fan is not responding to the transmitter. please turn the power off to the receiver.and repeat the process.
SPECIFICATIONS
These are typical readings. Your actual fan may vary. They do not include amps and wattage used by the light (s). For any additional information about your Minka Aire’ Ceiling fan, please write to:

PERFORMANCE AND ENERGY INFORMATION


Ceiling fan airflow is measured in cubic feet per minute (CFM). Power use is measured in watts. To maximize energy savings:
- Choose a fan with high airflow efficiency (CFM/watt).
- Use ENERGY STAR®-labeled lighting in your fan.
- Remember to switch off your fan when you leave the room.
Measured according to the ENERGY STAR® approved Solid State test method For any additional information about your Minka Aire• Ceiling fan. please write to:
- 1151 W. Bradford Court Corona, CA 92882
- For Customer Assistance Call: 1-800-307-326 7






















