GAGGENAU AR413122 Remote Fan Unit

General Information
- Keep the instruction manual and the product information safe for future reference or for the next owner.
- The appliance can only be used safely if it is correctly installed according to the safety instructions. The installer is responsible for ensuring that the appliance works perfectly at its installation location.
- This instruction manual is intended for the installer of the optional accessory.
- Only a licensed expert may connect the appliance.
- Switch off the power supply before carrying out any work.
Safe Installation
Follow these safety instructions when installing the appliance
WARNING ‒ Risk of suffocation!
Children may put packaging material over their heads or wrap themselves up in it and suffocate.
- Keep packaging material away from children.
- Do not let children play with packaging material.
WARNING ‒ Risk of electric shock!
It must always be possible to disconnect the appliance from the electricity supply. The appliance must only be connected to a protective contact socket that has been correctly installed.
- The mains plug for the mains power cable must be easily accessible after the appliance is installed.
- If this is not possible, an all-pole isolating switch must be integrated into the permanent electrical installation according to the conditions of overvoltage category III and according to the installation regulations.
- The permanent electrical installation must only be wired by a professional electrician. We recommend installing a residual-current circuit breaker (RCCB) in the appliance’s power supply circuit.
WARNING ‒ Risk of injury!
Changes to the electrical or mechanical assembly are dangerous and may lead to malfunctions.
- Do not make any changes to the electrical or mechanical assembly.
Components inside the appliance may have sharp edges. - Wear protective gloves.
Scope of delivery
- After unpacking all parts, check for any damage in transit and completeness of the delivery.
→ Fig.1
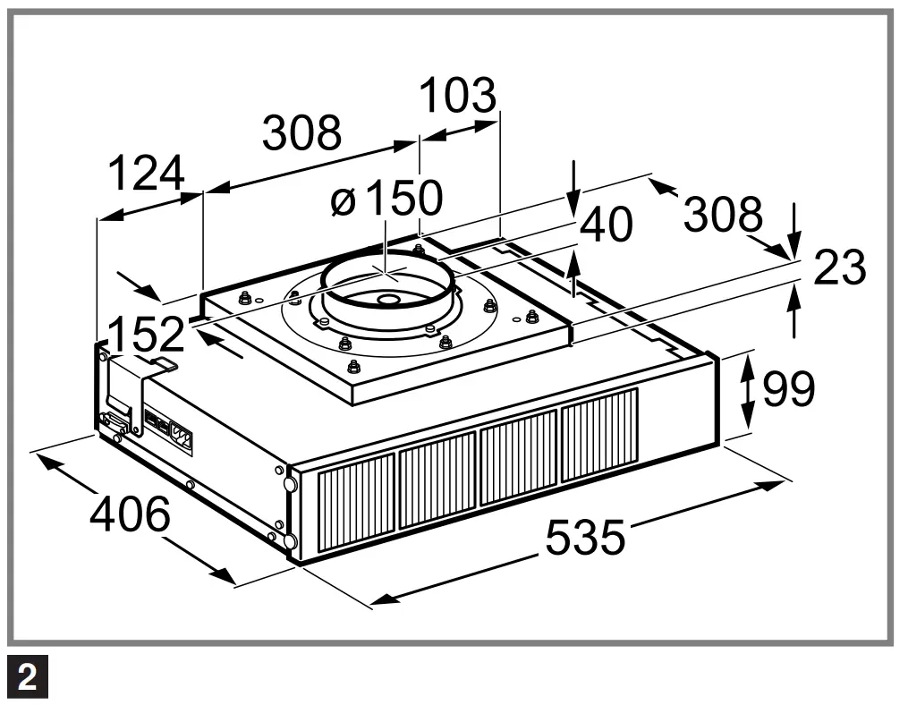
Appliance dimensions
- You will find the dimensions of the appliance here
→ Fig.2
Minimum clearances
- Observe the minimum clearances for the appliance. Observe a minimum clearance of 150 mm between the air outlet and the base panel and the air outlet and the side wall.
→ Fig.3
Optional accessories
This is where you can find an overview of the optional accessories for different installation variants.
- Air collector box for flat ducts
Order number
AD854048
→ Fig. 4
- Air collector box for flat ducts
Order number
AD704050
→ Fig. 5
- Air collector box for round ducts
Order number
AD754048
→ Fig. 6
Information about the electrical connection
In order to safely connect the appliance to the electrical system, follow these instructions.
WARNING ‒ Risk of electric shock! Sharp-edged components inside the appliance may damage the connecting cable.
- Do not kink or trap the connecting cable.
- The connection data can be found on the rating plate.
- This appliance complies with the EC interference suppression regulations.
- The appliance corresponds to protection class 1. You should therefore only use the appliance with a protective earth connection.
- Do not connect the appliance to the power supply during installation.
General information
Follow these general instructions during the installation.
The currently valid building regulations and the regulations of the local electricity and gas suppliers must be observed during installation.
Installation
Checking the wall
- Check whether the wall is vertical and has sufficient load-bearing capacity. The weight of the appliance is approx. 10 kg.
- Ensure that there are no electrical wires, gas pipes or water pipes in the area where holes are to be drilled.
- Drill the hole depth in accordance with the length of the screws.
- Ensure that the wall plugs are firmly in place.
- Use suitable fixing material depending on the construction type, e.g. solid brickwork, plasterboard, porous concrete, Poroton brick.
Checking the unit
- Check whether the fitted unit is level and has sufficient load-bearing capacity.
- Ensure that the clearance between the appliance feet is at least 600 mm.
Preparing the unit
- For a base height lower than 130 mm, provide an opening towards the front.
‒ If required, reinsert the section of the bottom plate following installation.
→ Fig. 7
- Mark the unit cut-out in accordance with the installation diagram and depending on the installation position.
→ Fig. 8
- Establish a cut-out in the bottom plate.
- To change the filter, ensure that the base can be removed or provide an opening of 600×100 mm.
- Make an air outlet in the plinth on the unit.
‒ Provide a minimum air outlet cross-section of approx. 400 cm².
‒ Make the outlet opening in the base panel as large as possible in order to keep draughts and noise to a minimum. - Ensure that the fitted unit is still stable after the cut-outs have been made.
- Seal the cut surfaces so that they are heat-resistant and waterproof.
→ Fig. 9
- Remove any shavings.
Preparing the appliance
- When installing on the unit’s back panel, install the enclosed bracket on the side of the appliance.
→ Fig. 10
Sliding the appliance under the unit
WARNING ‒ Risk of electric shock! Sharp-edged components inside the appliance may damage the connecting cable.
- Do not kink or trap the connecting cable.
- Slide the appliance under the unit.
→ Fig. 11 , → Fig. 12

The appliance has rubber feet. It is not necessary to secure it to the ground.
Screwing the appliance onto the unit back panel
WARNING ‒ Risk of electric shock! Sharp-edged components inside the appliance may damage the connecting cable.
- Do not kink or trap the connecting cable.
- Use screws to secure the appliance to the unit back panel.
- Align the appliance horizontally.
- Observe the minimum clearance between the lower edge of the hob and upper edge of the fan module.
→ Fig. 13
Establishing the piping
- Use the connecting piece or screw an air collector box onto the appliance. “Screwing in accessories”, The air collector boxes are available as optional accessories.
- Secure the exhaust air pipe to the connecting piece and seal it appropriately
Screwing in accessories
- Screw in one air collector box for two flat ducts.
→ Fig. 14 , → Fig. 15

- Screw in one air collector box for two round ducts.
→ Fig. 16
Connecting the appliance
- Use the control cable to connect the remote fan unit and the fan.
→ Fig. 17
- Ensure that the plug connections between the remote fan unit and the fan click into place.
- Insert the mains plug of the remote fan module into the mains socket.
→ Fig. 18
Checking the functionality
- Check the functionality of the appliance.
- If the appliance does not work, check the control cable’s plug connections.
The connection sockets X1 and X2 are identical.
Removing the appliance
WARNING ‒ Risk of injury! Components inside the appliance may have sharp edges.
- Wear protective gloves.
- Disconnect the appliance from the power supply.
- Loosen the control cable.
- Loosen the exhaust connections.
- Pull out the appliance.
Replacing The odour Filter
- Replace the odour filters at least once a year.
→ Fig. 19
- Remove the cover from the fan module.
→ Fig. 20
- Turn both knurled screws.
→ Fig. 21
- Remove the odour filters and dispose of it.
→ Fig. 22
- Remove the new odour filters from the packaging.
- Insert the new odour filters.
- Secure the cover.
Additional Switching Output
The appliance has an additional switching output X16 (potential-free contact) that can be used to connect other appliances, such as a ventilation system that is available at the installation site. The contact is closed when the fan is switched on, and is opened when the fan is switched off.
Work must only be carried out on the additional
switching output by a qualified electrician in accordance with the country-specific requirements and standards.
The switching output is located under a cover. Maximum switching power 30 V/1 A (AC/DC). The signal that is connected to the contact must correspond to protection class 3.
Networked operation
Multiple appliances can be networked together. The lighting and the fan of up to 20 appliances are operated synchronously. A qualified electrician must check that the appliance is working correctly during the initial installation. The total length of all of the network cables must not exceed 40 m.
The failure of an appliance due to a voltage interruption or a network cable being disconnected blocks the fan function for the entire system, and all of the buttons on the appliance flash.
When changing the configuration, an electrician must re-initialise the system.
Networking appliances
Requirement: A qualified electrician networks the appliances.
- Connect the appliances in series via the connector sockets X1 and X2. X1 and X2 are equivalent. The sequence of the networking does not have any effect.
- If the enclosed network cables are too short, use a commercially available network cable (shielded, min. CAT 5).
Re-Initialising The System
Requirement: A qualified electrician carries out the initialisation and the test.
- Unscrew the cover plate.
→ Fig. 23
- Press and hold the reset button until both LEDs
light up continuously.
‒ Press and hold the reset button for approx. 5 seconds.
‒ Release the reset button within 5 seconds.
→ Fig. 24
- Screw on the cover plate.
- Check that the system is working correctly.



















