EH1623
16” (40cm) White Remote Control Wall Fan with 3 Speed Settings and 7.5 Hour Timer
User Manual
Please Retain for Future Reference
IMPORTANT
Installer and Users please note: These instructions should be read carefully and left with the user of the product for future reference. The product and it’s mains lead should be inspected before use for signs of damage. Do not use if there are any signs of damage, and consult your supplier for advice.
PRODUCT SAFETY
- This appliance can be used by children aged from 8 years and above and persons with reduced physical, sensory or mental capabilities or lack of experience and knowledge if they have been given supervision or instruction concerning use of the appliance in a safe way and understand the hazards involved.
- Children shall not play with the appliance.
- Cleaning and user maintenance shall not be made by children without supervision.
- Do not use in close proximity to gas appliances
- Do not use unless correctly installed.
- Do not cover when in use.
- Do not place the mains lead beneath a carpet or rug.
- Do not use the appliance in locations where paint, petrol or other flammable liquids are used or stored.
- Do no insert any object into the appliance through the grilles. This may damage the appliance or result in overheating or electric shock.
- Do not use this appliance in the immediate surroundings of a bath, a shower or a swimming pool.
- The appliance is fitted with an overload cut-out which will operate if the motor overheats or is stalled. If this happens, disconnect from the mains supply immediately, and allow the motor to cool down.
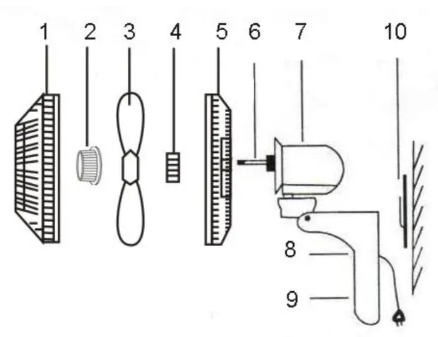
IDENTIFICATION OF PARTS
- Front Grille
- Blade Nut
- Fan Blade
- Guard Mount Nut
- Rear Grille
- Motot Shaft
- Motor Housing
- Fan Body
- Control Panel
- Mounting Plate

ASSEMBLY
- Loosen the guard mount nut (4) from the motor housing (7)
- Attach the rear grille (5) to the motor housing (7)
- Secure the rear guard by attaching the guard mount nut (4) and turning tightly clockwise
- Attach the fan blade (3) to the motor shaft (6) and fasten tightly
- Place the front grille (1) on the rear grille (5) and secure using the clips attached to the front grille (1)

WALL MOUNTING
- Before installation select a suitable location for the fan where it is unlikely to cause an obstruction.
- Draw a vertical centre line approx. 80 mm long on the wall
- Draw 2 horizontal lines 20 mm apart to mark the upper and lower screw holes for the bracket.
- On the upper line mark 2 holes 11 mm either side of the centre line.
- Drill holes on the marked points using a 6 mm (¼”) masonry bit, and insert a wallplug.
- Fix the bracket to the wall and fully tighten all screws.
- Slide the fan onto the bracket.

OPERATION
- Plug the mains lead into a 13 Amp mains socket. If any other appliances are connected to the same extension lead, make sure that it is rated for the total power of all appliances connected.
- If connecting via an extension lead, make sure that the lead is rated at 3 Amps or more, and that it is fully unwound.
- Switch the appliance on at the mains socket.
- Use the On/Speed button to start the fan, initially the fan will operate at low speed. Press the On/Speed button to choose between Low/Medium and High Speed
- The swing button allows the unit to oscillate the fan head to cover a greater area.
- To switch Off push the OFF button.
- The supplied remote control allows control of the On/Off, speed and oscillation but in addition the following extra functions are also available;
- Timer: repeatedly pressing the timer button will cycle through the 0.5,1,2,& 4 hour settings allowing a time selection of between 0.5 & 7.5 hours. At the end of the selected time the fan will stop. For continuous operation do not touch this button.
- Mode: The fan has 3 pre-set modes,
- Normal: for everyday use, and will operate as per the set fan speed.
- Natural: operates to the following pattern depending upon the fan setting:
Sleep: In this operating mode the fan will operate at the set speed for half an hour then drop to the next lowest setting for another half an hour then operate at its lowest speed setting till the fan turns off.- It is normal for the motor to become warm in normal use.
- Unplug the appliance from the mains when not in use.
OPERATING COSTS
At time of going to press, the average cost of electricity is £0.15 per unit (kilowatt-hour). The amount you are being charged will be shown on your electricity bill. At this cost, the EH1623 will cost 14p per day to run on the highest setting.
PAT TESTING
When used in an office environment, this product must be safety-tested yearly by a qualified electrician (PAT Tested) in order to comply with the Electricity at Work Regulations.
We recommend that it is PAT tested regularly when used in a domestic environment.
GENERAL SAFETY REQUIREMENTS
Domestic wiring must be tested periodically by a qualified electrician at least once every 10 years or at every change of occupancy.
For office and retail premises, and buildings such as village halls, the wiring must be inspected at least once every 5 years. It is recommended that all building be fitted with smoke alarms (it is mandatory for new buildings).
MAINTENANCE
Before cleaning, turn the appliance off, and disconnect from the mains supply. The appliance may then be cleaned using a damp cloth with a drop of washing-up liquid to remove any dust or dirt from the case. Do no use stronger detergents or solvents as these may damage the paint finish.
Using a dry 1” (25 mm) paint-brush, remove any dust from the grilles.

If the mains lead is damaged, it must be replaced by the manufacturer or and authorised service centre.
If the mains plug needs to be replaced, proceed as follows;
- Connect the brown wire to the terminal labelled “L”.
- Connect the blue wire to the terminal labelled “N”.
- Make sure that the cord-grip is positioned correctly (over the outer sheath of the cable) and it fully tightened.
DISPOSAL AND RECYCLING
You must not dispose of this appliance with domestic household waste.
Most local authorities have specific collection system for appliances and disposal is free of charge to the end-user.
When replacing an existing appliance with a similar new appliance your retailer may take the old appliance for disposal.
TECHNICAL SPECIFICATION
Dimensions: ……………………………………………………..475x435x260mm
Weight: ……………………………………………………………………………….. 2.03kg
Power Supply: ……………………………………………………………………..230V~
Power Consumption: ………………………………………………… 50W (max)
Air Flow: …………………………………………………………….3479 m3/h (max)
Operating Current: ……………………………………………………………… 0.17A
Air Speed: ……………………………………………………………………… 2.827 m/s
Noise: ……………………………………………………………………………………59dBA
Service Value: ……………………………………………………… 1.44 m3/W.min
SERVICE WARRANTY
Prem-i-Air guarantees the product free from defects in materials and workmanship for a period of 2 years.
Should this appliance be operated under conditions other than those recommended, at voltages other than the voltage indicated on the appliance, or any attempts made to service or modify the appliance, then the warranty will be rendered void. The product you buy may sometimes differ slightly from illustrations. This warranty is in addition to, and does not affect, your statutory rights.
If you have any problems with this product, please call our Help Desk on (0845) 459 4816.

Prem-i-Air Appliances Ltd., Lancots Lane, Sutton, St. Helens, Merseyside, WA9 3EX
Website: www.prem-i-air.com
Get In Touch
Call: 0845 6880112
Email: [email protected]
Our Address
Puravent, Adremit Limited, Unit 5a, Commercial Yard,
Settle, North Yorkshire, BD24 9RH
Sleep: In this operating mode the fan will operate at the set speed for half an hour then drop to the next lowest setting for another half an hour then operate at its lowest speed setting till the fan turns off.

















