anslut 013296 Bathroom Fan

SAFETY INSTRUCTIONS
Read the instructions carefully before use and save them for future reference.
- Disconnect the product from the mains before connecting, maintenance and/or repair.
- Installation, maintenance and/or repairs should be carried out by an authorised electrician and in accordance with these instructions.
- The product is intended to be connected to 230 VAC 1-phase installations that comply with local regulations.
- The product must be connected via a permanently installed automatic fuse with a minimum contact gap of 3 mm on all terminals.
- Check before installation that the impeller and casing are undamaged.
- There must be no foreign objects in the casing that could damage the fan blades.
- The product must only be used for its intended purpose and in accordance with these instructions. Do not make any modifications to the product.
- The product is not intended to be used by persons (children or adults) with any form offunctional disorders, or by persons who do not have sufficient experience or knowledge on how to use it, unless they have received instructions concerning the use of the product from someone who is responsible for their safety.
- Keep children under supervision to make sure they do not play with the product.
- Take the necessary precautions to prevent smoke, carbon monoxide and other flammable products from penetrating into the room through open flues or other fire safety devices. Make sure that the air supply is sufficient for correct combustion and adequate chimney draught, to prevent backward flow.
- The transported medium must not contain dust or other solid particles, sticky substances or fibres. Do not use the product in explosive environments,
e. g. in the vicinity of flammable liquids, gas or dust, or in environments that contain toxic or harmful substances. - Do not block the openings on the product to attempt to direct or adjust the airflow.
- Do not sit or stand on the product, or put any objects on it.
- Follow all the instructions and safety instructions for best results and service life.

TECHNICAL DATA
- Rated voltage: 230 V ~ 50 Hz
- Output: 14W
- Duct: (/)100 mm
- Airflow: 89 m3/h
- Protection rating: IP24
- Operating temperature: 1-45°
- Air temperature in ventilation system <40 ° C
- Control range (humidity sensor 60-95%
- Control range (delay timer) 2-30 min
- Noise level: 33 dB
- Size: W 151 x H 151 x D 140 mm
DESCRIPTION
- Axial fan made of plastic for exhaust air ventilation of small and medium-sized areas.
- The bathroom fancan be provided with cold draught protection, which prevents air flowing in when the fan is switched off.
- The bathroom fan is intended to be connected to a (/J 100 mm air duct.
- The air flow in the system must correspond to the arrow on the fan casing.
CONTROL LOGIC
The bathroom fan with delay timer and humidity sensor starts after the external power switch, e.g. light switch, closes and control voltage is supplied to the terminal LT (ST), or if the air humidity H indoors exceeds the set point value (60 to 90%). When the control voltage is disconnected the bathroom fan continues to run for the set time (2 to 30 minutes). To set the maximum air humidity limit, turn the potentiometer to H max. (90%).
- Set the start delay by turning the potentiometer T clockwise for longer delay, or anticlockwise for shorter delay.
- Set the set point value for the air humidity by turning the potentiometer H clockwise to increase, or anticlockwise to decrease the threshold value for the air humidity.
WARNING: The timer circuit is supplied with mains voltage. Disconnect the power supply from the bathroom fan before installation. Use the supplied plastic screwdriver to turn and adjust the potentiometers
Do not use metal items to set the potentiometers, this could damage the circuit board.
PARTS
- Fan, 1
- Screws with plugs, 4
- Plastic screwdriver, 1
- Covers in black, red, grey and white,
- 4 Cold draught protection,
- Instructions, 1
SIZE
DESIGNATIONS IN WIRING DIAGRAM 
INSTALLATION
The bathroom fan is intended for installation in a wall or ceiling, for connection to (/J 100 mm ducts. 
- Switch off the power supply.
Prepare the installation area.
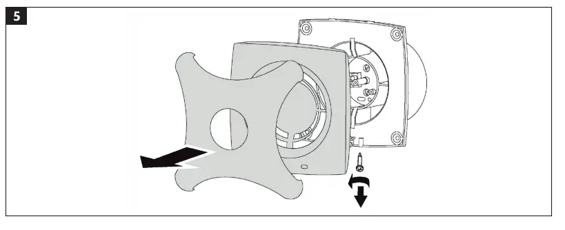
- Remove the front panel from the bathroom fan.

- Marking out the screw holes.

- Drill and plug the screw holes.

- Fit the bathroom fan.

- Connect the fan to the mains and set the delay and humidity sensor.

- Use the supplied plastic screwdriver to adjust.

- Replace the front panel.

- Switch on the power.

MAINTENANCE
NOTE: Disconnect the power supply to the bathroom fan before maintenance and/or repairs.
CLEANING
Remove any dust and dirt from the surface of the bathroom fan at regular intervals.
- Disconnect the power supply to the bathroom fan.
- Remove the front cover.
- Clean the bathroom fan with a cloth moistened with water and a mild detergent. Wipe the surface dry.
- Replace the front cover.
- Switch on the automatic fuse.
WARNING: Make sure no water gets into the electrical components.
TRANSPORT AND STORAGE
- Transport the bathroom fan in the original packaging.
- Store the bathroom fan in the original packaging in a dry, well-vent lated area (temperature 5 to 40 °C, relative humidity max80%).
- Keep the storage area free from dust and fumes that can cause corrosion.


Prepare the installation area.



























