USER’S MANUAL
CBF 110 DC T/TH/TP
CBF 110 DC LIGHT T/TH/TP
CBF 150 DC T/TH/TP
CBF 150 DC LIGHT T/TH/TP
Centrifugal ceiling fan
This user’s manual is a main operating document intended for technical, maintenance, and operating staff.
The manual contains information about the purpose, technical details, operating principle, design, and installation of the CBF DC unit and all its modifications.
Technical and maintenance staff must have theoretical and practical training in the field of ventilation systems and should be able to work in accordance with workplace safety rules as well as construction norms and standards applicable in the territory of the country.
SAFETY REQUIREMENTS
All user’s manual requirements, as well as the provisions of all the applicable local and national construction, electrical, and technical norms and standards, must be observed when installing and operating the unit.
Disconnect the unit from the power supply prior to any connection, servicing, maintenance, and repair operations.
Only qualified electricians with a work permit for electrical units up to 1000 V are allowed for installation. The present user’s manual should be carefully read before beginning work.
Check the unit for any visible damage to the impeller, the casing, and the grille before starting installation. The casing internals must be free of any foreign objects that can damage the impeller blades.
While mounting the unit, avoid compression of the casing! Deformation of the casing may result in motor jams and excessive noise.
Misuse of the unit and any unauthorized modifications are not allowed.
Do not expose the unit to adverse atmospheric agents (rain, sun, etc.).
Transported air must not contain any dust or other solid impurities, sticky substances, or fibrous materials.
Do not use the unit in a hazardous or explosive environment containing spirits, gasoline, insecticides, etc.
Do not close or block the intake or extract vents in order to ensure efficient airflow.
Do not sit on the unit and do not put objects on it.
The information in this user’s manual was correct at the time of the document’s preparation.
The Company reserves the right to modify the technical characteristics, design, or configuration of its products at any time in order to incorporate the latest technological developments.
Never touch the unit with wet or damp hands.
Never touch the unit when barefoot.
This unit is not intended for use by persons (including children) with reduced physical, sensory or mental capabilities, or lack of experience and knowledge unless they have been given supervision or instruction concerning the use of the unit by a person responsible for their safety.
Children should be supervised to ensure that they do not play with the unit.
Connection to the mains must be made through a disconnecting device, which is integrated into the fixed wiring system in accordance with the wiring rules for the design of electrical units and has a contact separation in all poles that allows for full disconnection under overvoltage category III conditions.
If the supply cord is damaged, it must be replaced by the manufacturer, its service agent, or similarly qualified persons in order to avoid a safety hazard.
Ensure that the unit is switched off from the supply mains before removing the guard.
Precautions must be taken to avoid the back-flow of gases into the room from the open flue of gas or other fuel-burning appliances.
THE PRODUCT MUST BE DISPOSED OF SEPARATELY AT THE END OF ITS SERVICE LIFE.
DO NOT DISPOSE OF THE UNIT AS UNSORTED DOMESTIC WASTE.
PURPOSE
The centrifugal ceiling extract fan CBF DC is designed for extracting ventilation of small to medium-sized premises.
The unit is rated for continuous operation.
Transported air must not contain any flammable or explosive mixtures, evaporation of chemicals, sticky substances, fibrous materials, coarse dust, soot, and oil particles, or environments favorable for the formation of hazardous substances (toxic substances, dust, pathogenic germs).
THE UNIT MUST NOT BE OPERATED ON KITCHEN PREMISES.
DELIVERY SET
| NAME | QUANTITY |
| Fan | 1 pc. |
| LED lamp (for fans with the Light option) | 2 pcs. |
| Cable gland | 1 pc. |
| Mounting bracket | 4 pcs. |
| Fastening kit | 1 pc. |
| User’s manual | 1 pc. |
| Packing box | 1 pc. |
DESIGNATION KEY

TECHNICAL DATA
The unit is designed for indoor application at ambient temperatures from +1 °C up to +40 °C.
Ingress protection rating against access to hazardous parts and water ingress is IP2X.
The unit is rated as a class I electric appliance.
The unit design is constantly being improved, so some models may be slightly different from those ones described in this manual.
OVERALL AND CONNECTION DIMENSIONS OF THE FANS

| MODEL | DIMENSIONS, mm | |||||||||||
| D | d | Li | L2 | A | B | C | E | H | h | a | b | |
| CBF 110 DC Til-HilT | 149 | 98 | 100 | 45 | 330 | 258 | 260 | 395 | 188 | 18 | ||
| CBF 110 DC Light TiTH/TP | 149 | 98 | 100 | 45 | 330 | 258 | 260 | 395 | 188 | 62 | 208 | 123 |
| CBF 150 DC T/TH/TP | 149 | – | 50 | – | 330 | 258 | 260 | 395 | 188 | 18 | ||
| CBF 150 DC Light T/TH/TP | 149 | – | 50 | – | 330 | 258 | 260 | 395 | 188 | 62 | 208 | 123 |
| PARAMETER | CBF 110 DC T/TH/TP CBF 110 DC Light T/TH/TP | CBF 150 DC T/TH/TP CBF 150 DC Light T/TH/TP |
| Frequency [Hz] | 50/60 | 50/60 |
| Supply voltage, [V] | 100-240 | 100-240 |
| Fan power consumption [W] | 19 | 26 |
| Lamp power [W]* | 2 x 10 | 2 x 10 |
| RPM [mini] | 1100 | 1100 |
| Current consumption, 230 V (120V) [A] | 0.18 (0.3) | 0.24 (0.39) |
| Air capacity [m3/h (CFM)] | 187 (110) | 254 (150) |
| Noise level, 3 m [dB(A)] (Sones) | from 23 (0.3) up 25 (0.7) | from 23 (0.3) up 29 (1.0) |
| Weight [kg] | 6.4 (5.3*) | 6.2 (5.1*) |
| IP | 2X | 2X |
| SEC class | B | B |
DESIGN AND FUNCTIONING
CBF 110/150 DC T/TH/TP

The fan casing is made of galvanized steel. The fan casing includes an exhaust spigot with a back draft damper to prevent back airflow.
The terminal box comprises the terminals for wiring the fan and is attached to the fan casing. The decorative grille is fixed to the casing via the springs inserted into the holders. The front panel is fixed via the grille slots. A single-phase electric motor with a centrifugal impeller with forwarding curved blades is fastened inside of the casing. Depending on the fan model the fan may be equipped with a LED lamp, a timer, a humidity or motion sensor.
Timer (t)
After an external switch, e.g. a light switch is turned off, the fan is turned on or goes to high speed after a countdown of a set turn-on delay time, adjustable from 0 to 3 minutes.
After the fan is turned off it keeps running for a set turn-off delay time, adjustable from 1 to 90 minutes, and then reverts to the initial operation status.
Motion sensor (tp)
In case of activation of the motion sensor the fan turns on or switches to a higher speed.
After no motion is detected the fan keeps running for a set turn-off delay time, adjustable from 1 to 90 minutes, and then reverts to the initial operation status.
Humidity sensor (th)
If the indoor humidity exceeds the set humidity point adjustable from 50 % up to 90 %, the fan either turns on or goes to a higher speed.
After indoor humidity drops down the fan keeps running for a set turn-off delay time, adjustable from 1 to 90 minutes, and then reverts to the initial operation status.
MOUNTING AND SET-UP
READ THE USER’S MANUAL BEFORE INSTALLING THE UNIT.
The fan is a component part and is not designed for stand-alone operation.
The fan is constructed for ceiling installation in the floor slab and fixation to the inter joist with the distance between the ceiling joists from 270 mm (10 5/8”) up to 680 mm (203/4”) using the removable fixing brackets or the fastening holes in the fan casing.
The installation place must be in compliance with local construction norms for units of this type.
Check the fan for mechanical damages prior to mounting.
Make sure that the casing comprises no foreign objects, such as paper or foil.
While mounting the fan sufficient service access for maintenance or repair operations must be provided.
The minimum gap between the fan and the ceiling is 5 mm (3/16”).
MOUNTING STEPS
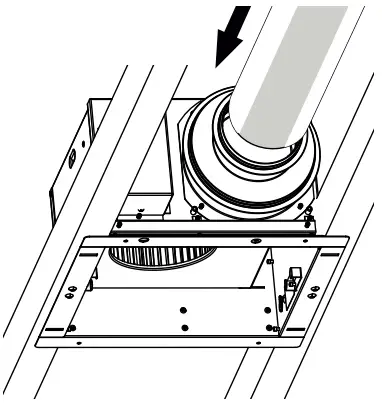
- Attach the fan to the interjoist using the screws.

- Connect the air duct of the required diameter.

- Connect the LED lamps (included in the delivery set) for the Light models.
Option: connect the humidity sensor or the motion sensor (specially ordered accessory).
For the Light models: connect the power socket of the LED lamp and the respective sockets in the terminal box.
For the TH models with a humidity sensor: remove the protective cap from the grille prior to its installation.
Route the contact socket of the sensor TH or TP via the opening in the grille and connect the sensor socket to the respective contact socket on the control unit.
Fix the sensor in the grille opening and cover the opening with a protective cap.
- Install the decorative grille on the fan casing using the holders on the casing.

BASIC FAN INSTALLATION OPTIONS
| Installation between the ceiling joists | Side fixation to one of the ceiling joists |
![]() | |
| Fixation between the ceiling joists using the mounting brackets | Additional fastening holes in the fan casing may be used for mounting purposes |
![]() | ![]() |
CONNECTION TO POWER MAINS
POWER OFF THE POWER SUPPLY PRIOR TO ANY OPERATIONS WITH THE UNIT.
THE UNIT MUST BE CONNECTED TO THE POWER SUPPLY BY A QUALIFIED ELECTRICIAN.
THE RATED ELECTRICAL PARAMETERS OF THE UNIT ARE GIVEN ON THE MANUFACTURER’S LABEL.
ANY TAMPERING WITH THE INTERNAL CONNECTIONS IS PROHIBITED AND WILL VOID THE WARRANTY.
The fan is rated for connection to a single-phase ac 100–240 V 50/60 Hz power supply.
The fan must be connected to power mains using durable, insulated, and heat-resistant conductors (cables and wires) via the circuit breaker QF integrated into the house cabling system.
The external circuit breaker installation place must ensure unhampered access for emergency shutdown of the unit.
WIRING DIAGRAMS

ACCESS TO THE TERMINAL BOX FOR WIRING THE FAN
| Remove the decorative grille. For accessing the connection terminals loosen the screw on the terminal box lid and take the lid off. | Remove the protective cap and install the cable gland. |
![]() | ![]() |
MICROPROCESSOR CONTROL UNIT WITH INDICATION
The DC fan motor is operated by the microprocessor control unit. The front panel of the control unit comprises a light indicator, control buttons and two sockets for connection of the humidity sensor and motion sensor.

After the fan is connected to the power supply, the indicator displays
for two seconds. After that, the light indicator goes off and the fan starts operating in a set mode. Once the button
is pressed, the indicator displays the turn-off delay timer setting
, the first setup menu entry. Use the buttons
or
to navigate in the setup menu. Press the button to select a current entry in the setup menu.
After that, the indicator displays the selected parameter value (e.g., turn-off delay timer setting). Use the buttons
or
to edit the setting. Press the button
to come back to the setup menu. If no button is pressed for 60 seconds, the indicator goes down.
Example
The indicator displays
. Once the button
is pressed, the setup menu list goes one position down and the symbol
is displayed (refer to the setup menu).
Once the button
is pressed, the indicator displays the turn-on delay timer setting, which can be edited with the buttons
or
.
Once the button
is pressed again, the setup menu is displayed again and the edited value is saved. To reset the menu to the factory settings press and hold the buttons
and
synchronously. In 5 seconds the indicator displays
and goes off. The fan keeps running normally with the factory settings.
INDICATOR SYMBOLS OF THE MICROPROCESSOR CONTROL UNIT
: turn-off delay timer adjustable from 1 to 90 minutes (default setting 15 minutes)
: turn-on delay timer adjustable from 0 to 180 seconds with the increment of 10 seconds (default setting 0)
: humidity set point adjustable from 50% up to 90% (default setting 75%)
: access to submenu of the fan operation mode
Operation mode
: the fan operates without any activation signal from the switch, humidity, or motion sensor.
Operation mode
: the fan operates with an activation signal from the switch, humidity, or motion sensor.
: back to the upper setup menu level.
Once the switch is turned on or the humidity or motion sensor is activated, the fan switches from the mode
to the mode
.
After no signal is received more from the sensor in case of the indoor humidity normalization or no motion detection or in case of the fan shut down the fan keeps running for a set turn-off delay time and then switches from the mode
to the mode
.
SETUP OF THE OPERATION MODES
AND ![]()
: the fan is turned off.
“60”, “70”, “80”, “90”, “100”, “110”, “120”, “130”, “140”, “150”: the fan runs to keep permanent air flow with set air capacity settings. The settings are displayed in CFM.
The maximum airflow value is limited to 110 or 150 CFM, depending on the fan model.
“120”, “130”, “140”, and “150” air flow values are not available for the fan with an air capacity of 110 CFM.
Example
: with these activated settings the fan runs to keep the airflow 60 CFM. Once the switch is turned on or a sensor is activated, the fan starts to run at its maximum capacity.
That is a factory setting for the fans with a maximum air capacity of 110 CFM.
is applied for the fans with a maximum air capacity of 150 CFM.
Example 2
: with these activated settings the fan is off. Once the switch is turned on or a sensor is activated, the fan starts running to keep the airflow 90 CFM.
This way by changing the
and
parameters you can set a required operation mode.
TECHNICAL MAINTENANCE
DISCONNECT THE UNIT FROM THE POWER SUPPLY BEFORE ANY MAINTENANCE OPERATIONS!
MAKE SURE THE UNIT IS DISCONNECTED FROM POWER MAINS BEFORE REMOVING THE PROTECTION
The fan maintenance includes regular cleaning of the surfaces of dust and dirt. Replace the filter as required, but at least every 6 months.
The impeller cleaning is shown below. Clean the impeller blades thoroughly every 6 months.

LAMP REPLACEMENT
DISCONNECT THE UNIT FROM THE POWER SUPPLY BEFORE ANY MAINTENANCE OPERATIONS!
MAKE SURE THE UNIT IS DISCONNECTED FROM POWER MAINS BEFORE REMOVING THE PROTECTION
- Remove the decorative grille:
• Pull the grille to release the springs from the holders on the casing.
• Take out the lamp power socket from the respective socket on the casing.
• Take out the power socket of the sensors from the respective sockets on the control unit (applicable for TH and TP models).
- Take off the surface-mounted luminaire.
Press the holders on the reverse side of the grille frame and take off the surface-mounted luminaire.
- Replace the lamps.
- Reassemble the unit in reverse order.
TROUBLES AND TROUBLESHOOTING
| TROUBLE | POSSIBLE REASONS | TROUBLESHOOTING |
| The fan does not get started. | No power supply. | Check the electric connections and the operation status of the circuit breaker. |
| Motor jam. | Turn the fan off. Troubleshoot clogging of the impeller. Restart the fan. | |
| Automatic circuit breaker tripping during the unit turning on. | Overcurrent as a result of a short circuit in the electric circuit leads to tripping of the circuit breaker. | Disconnect the fan from the power supply and contact the product Seller. Do not turn the fan on again! |
| Low airflow. | Air ducts or other components of the ventilation system are clogged. The impeller is clogged. The air ducts are damaged. The air dampers are closed. | Clean the air ducts, the impeller, and other components of the ventilation system. Make sure that the air ducts are not damaged. Make sure that the air dampers and louver shutters are open. |
STORAGE AND TRANSPORTATION REGULATIONS
- Store the unit in the manufacturer’s original packaging box in a dry closed ventilated premise with a temperature range from +5 ˚С to +40 ˚С and relative humidity up to 70 %.
- The storage environment must not contain aggressive vapors and chemical mixtures provoking corrosion, insulation, and sealing deformation.
- Use suitable hoist machinery for handling and storage operations to prevent possible damage to the unit.
- Follow the handling requirements applicable for the particular type of cargo.
- The unit can be carried in the original packaging by any mode of transport provided proper protection against precipitation and mechanical damage. The unit must be transported only in the working position.
- Avoid sharp blows, scratches, or rough handling during loading and unloading.
- Prior to the initial power-up after transportation at low temperatures, allow the unit to warm up at operating temperature for at least 3-4 hours.
MANUFACTURER’S WARRANTY
The product is in compliance with EU norms and standards on low voltage guidelines and electromagnetic compatibility. We hereby declare that the product complies with the provisions of the Electromagnetic Compatibility (EMC) Directive 2014/30/EU of the European Parliament and of the Council, Low Voltage Directive (LVD) 2014/35/EU of the European Parliament and of the Council and CE-marking Council Directive 93/68/EEC. This certificate is issued following a test carried out on samples of the product referred to above.
The manufacturer hereby warrants normal operation of the unit for 24 months after the retail sale date provided the user’s observance of the transportation, storage, installation, and operation regulations. Should any malfunctions occur in the course of the unit operation through the Manufacturer’s fault during the guaranteed period of operation, the user is entitled to get all the faults eliminated by the manufacturer by means of warranty repair at the factory free of charge. The warranty repair includes work specific to the elimination of faults in the unit operation to ensure its intended use by the user within the guaranteed period of operation. The faults are eliminated by means of replacement or repair of the unit components or a specific part of such unit component.
The warranty repair does not include:
- routine technical maintenance
- unit installation/dismantling
- unit setup
To benefit from a warranty repair, the user must provide the unit, the user’s manual with the purchase date stamp, and the payment paperwork certifying the purchase. The unit model must comply with the one stated in the user’s manual. Contact the Seller for warranty service.
The manufacturer’s warranty does not apply to the following cases:
- User’s failure to submit the unit with the entire delivery package as stated in the user’s manual including submission with missing component parts previously dismounted by the user.
- Mismatch of the unit model and the brand name with the information stated on the unit packaging and in the user’s manual.
- User’s failure to ensure timely technical maintenance of the unit.
- External damage to the unit casing (excluding external modifications as required for installation) and internal components caused by the user.
- Redesign or engineering changes to the unit.
- Replacement and use of any assemblies, parts, and components not approved by the manufacturer.
- Unit misuse.
- Violation of the unit installation regulations by the user.
- Violation of the unit control regulations by the user.
- Unit connection to power mains with a voltage different from the one stated in the user’s manual.
- Unit breakdown due to voltage surges in power mains.
- Discretionary repair of the unit by the user.
- Unit repair by any persons without the manufacturer’s authorization.
- Expiration of the unit warranty period.
- Violation of the unit transportation regulations by the user.
- Violation of the unit storage regulations by the user.
- Wrongful actions against the unit were committed by third parties.
- Unit breakdown due to circumstances of insuperable force (fire, flood, earthquake, war, hostilities of any kind, blockades).
- Missing seals if provided by the user’s manual.
- Failure to submit the user’s manual with the unit purchase date stamp.
- Missing payment paperwork certifying the unit purchase.
FOLLOWING THE REGULATIONS STIPULATED HEREIN WILL ENSURE A LONG AND TROUBLE-FREE OPERATION OF THE UNIT.
USER’S WARRANTY CLAIMS SHALL BE SUBJECT TO REVIEW ONLY UPON PRESENTATION OF THE UNIT, THE PAYMENT DOCUMENT, AND THE USER’S MANUAL WITH THE PURCHASE DATE STAMP.
CERTIFICATE OF ACCEPTANCE
| Unit Type | Centrifugal ceiling fan |
| Model | |
| Serial Number | |
| Manufacture Date | |
| Quality Inspector’s Stamp |
SELLER INFORMATION

| Seller | |
| Address | |
| Phone Number | |
| Purchase Date | |
| This is to certify acceptance of the complete unit delivery with the user’s manual. The warranty terms are acknowledged and accepted. | |
| Customer’s Signature | |
INSTALLATION CERTIFICATE

| The unit is installed pursuant to the requirements stated | ||
| in the present user’s manual. | ||
| Company name | ||
| Address | ||
| Phone Number | ||
| Installation Technician’s Full Name | ||
| Installation Date: | Signature: | |
| The unit has been installed in accordance with the provisions of all the applicable local and national construction, electrical and technical codes and standards. The unit operates normally as intended by the manufacturer. | ||
| Signature: | ||
WARRANTY CARD

| Unit Type | Centrifugal ceiling fan |
| Model | |
| Serial Number | |
| Manufacture Date | |
| Purchase Date | |
| Warranty Period | |
| Seller |
V166EN-02
http://vents.ua/




























