USER’S MANUAL
VKMz 100 VKMz 160 VKMz 250 Q
VKMz 100 Q VKMSz 160 VKMz 250
VKMz 125 VKMz 200 Q VKMz 315
VKMz 150 VKMz 200 VKMSz 315
VKMSz 150 VKMSz 200
Centrifugal inline fan
This user’s manual is a main operating document intended for technical, maintenance, and operating staff.
The manual contains information about purpose, technical details, operating principle, design, and installation of the VKMz unit and all its modifications.
Technical and maintenance staff must have theoretical and practical training in the field of ventilation systems and should be able to work in accordance with workplace safety rules as well as construction norms and standards applicable in the territory of the country.
SAFETY REQUIREMENTS
All user’s manual requirements as well as the provisions of all the applicable local and national construction, electrical, and technical norms and standards must be observed when installing and operating the unit.
Disconnect the unit from the power supply prior to any connection, servicing, maintenance, and repair operations.
Only qualified electricians with a work permit for electrical units up to 1000 V are allowed for installation. The present user’s manual should be carefully read before beginning works.
Check the unit for any visible damage of the impeller, the casing, and the grille before starting installation. The casing internals must be free of any foreign objects that can damage the impeller blades.
While mounting the unit, avoid compression of the casing! Deformation of the casing may result in motor jam and excessive noise.
Misuse of the unit and any unauthorised modifications are not allowed.
Do not expose the unit to adverse atmospheric agents (rain, sun, etc.).
Transported air must not contain any dust or other solid impurities, sticky substances, or fibrous materials.
Do not use the unit in a hazardous or explosive environment containing spirits, gasoline, insecticides, etc.
Do not close or block the intake or extract vents in order to ensure the efficient air flow.
Do not sit on the unit and do not put objects on it.
The information in this user’s manual was correct at the time of the document’s preparation.
The Company reserves the right to modify the technical characteristics, design, or configuration of its products at any time in order to incorporate the latest technological developments. Never touch the unit with wet or damp hands.
Never touch the unit when barefoot.
This appliance can be used by children aged from 8 years and above and persons with reduced physical, sensory or mental capabilities or lack of experience and knowledge if they have been given supervision or instruction concerning use of the appliance in a safe way and understand the hazards involved.
Cleaning and user maintenance shall not be made by children without supervision.
Children shall not play with the appliance.
Connection to the mains must be made through a disconnecting device, which is integrated into the fixed wiring system in accordance with the wiring rules for design of electrical units, and has a contact separation in all poles that allows for full disconnection under overvoltage category III conditions.
CAUTION: In order to avoid a safety hazard due to inadvertent resetting of the thermal cutout, this unit must not be supplied through an external switching device, such as a timer, or connected to a circuit that is regularly switched on and off by the utility.
Ensure that the unit is switched off from the supply mains before removing the guard.
The appliance is to be installed so that the blades are more than 2.3m above the floor. Precautions must be taken to avoid the back-flow of gases into the room from the open flue of gas or other fuel-burning appliances.
If the supply cord is damaged, it must be replaced by the manufacturer, its service agent, or similarly qualified persons in order to avoid a safety hazard.
THE PRODUCT MUST BE DISPOSED SEPARATELY AT THE END OF ITS SERVICE LIFE. DO NOT DISPOSE THE UNIT AS UNSORTED DOMESTIC WASTE.
PURPOSE
The VKMz centrifugal fans are designed for ventilation of domestic, public and manufacturing premises heated during winter. The transported air temperature must be within the limits stated in the «Technical data» section.
The fan is designed for horizontal or vertical mounting in an air duct and is used both for supply and exhaust ventilation.
Transported air must not contain any flammable or explosive mixtures, evaporation of chemicals, sticky substances, fibrous materials, coarse dust, soot and oil particles or environments favourable for the formation of hazardous substances (toxic substances, dust, pathogenic germs).
THE UNIT MUST NOT BE OPERATED IN KITCHEN PREMISES.
DELIVERY SET
NAME | NUMBER |
| Fan | 1 pc. |
| Outer fixing bracket | 2 pcs. |
| User’s manual | 1 pc. |
| Packing box | 1 pc. |
DESIGNATION KEY
- Q - equipped with a low-watt motor
- Exhaust spigot diameter
- Fan series
VKMz - centrifugal duct fan in a galvanized case
VKMSz - centrifugal duct fan in a galvanized case with a high-powered motor
To comply with the ErP 2018 regulation, a local demand controller and speed controller must be used.
TECHNICAL DATA
Permitted deviation of mains voltage: ±10 % of the rated voltage.
The fan must be grounded.
Ingress protection rating against access to hazardous parts and water ingress is IPX4.
The unit design is constantly being improved, thus some models, their wiring diagrams and terminal symbols may be slightly different from those described in this manual.
OVERALL AND CONNECTING DIMENSIONS
Model | Dimensions [mm] | |||||||
| ØD | ØD1 | B | B1 | L | L1 | L2 | L3 | |
| VKMz 100 | 99 | 245 | 259 | 299 | 190 | 20 | 20 | 30 |
| VKMz 100 Q | 99 | 245 | 259 | 299 | 195 | 20 | 20 | 30 |
| VKMz 125 | 124 | 245 | 259 | 299 | 190 | 20 | 20 | 30 |
| VKMz 150 | 149 | 274 | 290 | 330 | 170 | 20 | 20 | 30 |
| VKMSz 150 | 149 | 345 | 355 | 395 | 230 | 20 | 20 | 40 |
| VKMz 160 | 159 | 274 | 290 | 330 | 170 | 20 | 20 | 30 |
| VKMSz 160 | 159 | 345 | 355 | 395 | 230 | 20 | 20 | 40 |
| VKMz 200 Q | 198 | 345 | 355 | 395 | 245 | 25 | 25 | 40 |
| VKMz 200 | 198 | 345 | 355 | 395 | 245 | 25 | 25 | 40 |
| VKMSz 200 | 198 | 345 | 355 | 395 | 245 | 25 | 25 | 40 |
| VKMz 250 Q | 248 | 345 | 355 | 395 | 245 | 25 | 25 | 40 |
| VKMz 250 | 248 | 345 | 355 | 395 | 245 | 25 | 25 | 40 |
| VKMz 315 | 313 | 405 | 455 | 415 | 245 | 30 | 25 | 40 |
| VKMSz 315 | 313 | 405 | 455 | 415 | 275 | 30 | 25 | 40 |
DESIGN AND OPERATING PRINCIPLE
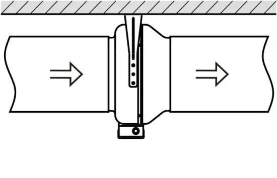
The fan consists of the casing 1, the electric motor attached to the inner fixing bracket 4, the cover 2 that is fixed to the casing with screws 3 (the casing spigot diameter and the cover diameter are equal to the connected air duct diameter), the terminal box 5 that incorporates a terminal block and a capacitor and enables connection of the fan to single-phase power mains.
Fig. 1
6 - outer fixing bracket
7 - screws
8 - bolt
MOUNTING AND SET-UP
READ THE USER’S MANUAL BEFORE INSTALLING THE UNIT.
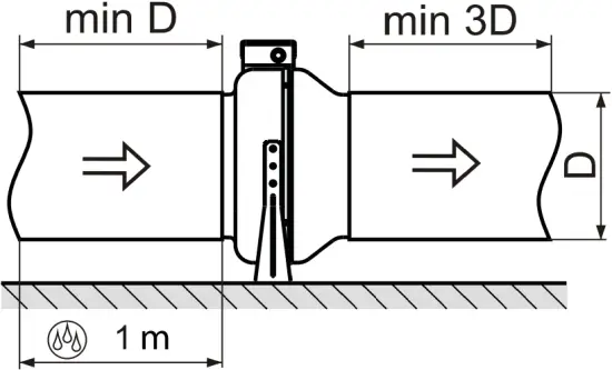
The fans are designed for vertical or horizontal mounting. Air motion in the system must be in compliance with the direction of the arrow on the fan casing. Install a hood on outlet (discharge) spigot side in case of the vertical fan installation. Provide a straight air duct section at least 1 m long on the intake spigot side in case of horizontal fan installation with maximum allowable humidity.
Mounting sequence:
- Remove the bolt from the casing 1 and install the fixing brackets in such a way so that the holes on the fixing brackets are aligned with the heads of the screws 3.
- Fix the fixing brackets on the casing with bolts.
- Drill the holes in the mounting surface to match the fitment holes of the fixing brackets.
- Fix the fan with the screws.
- Connect the air ducts of the respective size to the fan and fix them with clamps.
CONNECTION TO POWER MAINS
DISCONNECT THE POWER SUPPLY PRIOR TO ANY OPERATIONS WITH THE UNIT.
CONNECTION OF THE UNIT TO POWER MAINS IS ALLOWED BY A QUALIFIED
ELECTRICIAN WITH A WORK PERMIT FOR THE ELECTRIC UNITS UP TO 1000 V AFTER CAREFUL READING OF THE PRESENT USER’S MANUAL.
THE RATED ELECTRICAL PARAMETERS OF THE UNIT ARE GIVEN ON THE MANUFACTURER’S LABEL.
ANY TAMPERING WITH THE INTERNAL CONNECTIONS IS PROHIBITED AND WILL VOID THE WARRANTY.
The fan shall be connected to power supply by means of insulated, durable and thermal-resistant cords (cables, wires) through the external circuit breaker with a thermal-magnetic trip built into the stationary wiring to disconnect all the power mains phases.
The rated current must be not below the rated current consumption (refer to the «Technical data» section).
The QF external switch location must ensure free access for quick shutdown of the fan.
The recommended circuit breaker nominal current is 1 A.
The recommended wire cross section is 0.75 mm².
The actual conductor cross-section selection must be based on its type, the maximum permissible heating, insulation, length and installation method (in the air, pipes or inside walls).
Connect the cables to the terminal block incorporated inside the terminal box located on the fan casing in compliance with the fan wiring diagram and the terminal designation.
The terminal designations are shown on the sticker inside the fan casing.
Fan wiring diagram:
TECHNICAL MAINTENANCE
DISCONNECT THE UNIT FROM POWER SUPPLY BEFORE ANY MAINTENANCE OPERATIONS!
MAKE SURE THE UNIT IS DISCONNECTED FROM POWER MAINS BEFORE REMOVING THE PROTECTION
The technical maintenance includes periodic cleaning of the surfaces from accumulated dust and dirt.
Use a soft dry brush or a vacuum cleaner to remove dust.
The impeller blades require thorough cleaning once in 6 months.
To do this, unscrew the self-tapping screws 3 and remove the cover 2 (Fig. 1).
Clean the impeller blades with a soft cloth wetted in mild water detergent solution. Avoid liquid dripping on the motor.
POSSIBLE REASONS AND TROUBLESHOOTING
PROBLEM | POSSIBLE REASONS | TROUBLESHOOTING |
| When switching on the unit the fan does not start. | No power supply. | Check the electrical connections and the power switch status. |
| Motor jamming. | Turn off the fan. Troubleshoot the impeller jamming. Restart the fan. | |
| Circuit breaker tripping during the fan start. | The automatic circuit breaker is triggered by an abnormally high current consumption due to a short circuit. | «Disconnect the fan from power mains and contact the Seller. Do not turn on the fan again!» |
| Low air flow. | Clogging of air ducts or other ventilation system elements. Impeller clogging. Damaged air ducts. Air damper closure. | Clean the air ducts and other ventilation system elements as well as the impeller. Check the air ducts for damage. Make sure the air dampers and louvre shutters are open. |
STORAGE AND TRANSPORTATION REGULATIONS
- Store the unit in the manufacturer’s original packaging box in a dry closed ventilated premise with temperature range from +5 °C to +40 °C and relative humidity up to 70 %.
- Storage environment must not contain aggressive vapors and chemical mixtures provoking corrosion, insulation, and sealing deformation.
- Use suitable hoist machinery for handling and storage operations to prevent possible damage to the unit.
- Follow the handling requirements applicable for the particular type of cargo.
- The unit can be carried in the original packaging by any mode of transport provided proper protection against precipitation and mechanical damage. The unit must be transported only in the working position.
- Avoid sharp blows, scratches, or rough handling during loading and unloading.
- Prior to the initial power-up after transportation at low temperatures, allow the unit to warm up at operating temperature for at least 3-4 hours.
MANUFACTURER’S WARRANTY
The product is in compliance with EU norms and standards on low voltage guidelines and electromagnetic compatibility. We hereby declare that the product complies with the provisions of Electromagnetic Compatibility (EMC) Directive 2014/30/EU of the European Parliament and of the Council, Low Voltage Directive (LVD) 2014/35/EU of the European Parliament and of the Council and CE-marking Council Directive 93/68/EEC. This certificate is issued following test carried out on samples of the product referred to above.
The manufacturer hereby warrants normal operation of the unit for 24 months after the retail sale date provided the user’s observance of the transportation, storage, installation, and operation regulations. Should any malfunctions occur in the course of the unit operation through the Manufacturer’s fault during the guaranteed period of operation, the user is entitled to get all the faults eliminated by the manufacturer by means of warranty repair at the factory free of charge. The warranty repair includes work specific to elimination of faults in the unit operation to ensure its intended use by the user within the guaranteed period of operation. The faults are eliminated by means of replacement or repair of the unit components or a specific part of such unit component.
The warranty repair does not include:
- routine technical maintenance
- unit installation/dismantling
- unit setup
To benefit from warranty repair, the user must provide the unit, the user’s manual with the purchase date stamp, and the payment paperwork certifying the purchase. The unit model must comply with the one stated in the user’s manual. Contact the Seller for warranty service.
The manufacturer’s warranty does not apply to the following cases:
- User’s failure to submit the unit with the entire delivery package as stated in the user’s manual including submission with missing component parts previously dismounted by the user.
- Mismatch of the unit model and the brand name with the information stated on the unit packaging and in the user’s manual.
- User’s failure to ensure timely technical maintenance of the unit.
- External damage to the unit casing (excluding external modifications as required for installation) and internal components caused by the user.
- Redesign or engineering changes to the unit.
- Replacement and use of any assemblies, parts and components not approved by the manufacturer.
- Unit misuse.
- Violation of the unit installation regulations by the user.
- Violation of the unit control regulations by the user.
- Unit connection to power mains with a voltage different from the one stated in the user’s manual.
- Unit breakdown due to voltage surges in power mains.
- Discretionary repair of the unit by the user.
- Unit repair by any persons without the manufacturer’s authorization.
- Expiration of the unit warranty period.
- Violation of the unit transportation regulations by the user.
- Violation of the unit storage regulations by the user.
- Wrongful actions against the unit committed by third parties.
- Unit breakdown due to circumstances of insuperable force (fire, flood, earthquake, war, hostilities of any kind, blockades).
- Missing seals if provided by the user’s manual.
- Failure to submit the user’s manual with the unit purchase date stamp.
- Missing payment paperwork certifying the unit purchase.
FOLLOWING THE REGULATIONS STIPULATED HEREIN WILL ENSURE A LONG AND TROUBLE-FREE OPERATION OF THE UNIT.
USER’S WARRANTY CLAIMS SHALL BE SUBJECT TO REVIEW ONLY UPON PRESENTATION OF THE UNIT, THE PAYMENT DOCUMENT AND THE USER’S MANUAL WITH THE PURCHASE DATE STAMP.
CERTIFICATE OF ACCEPTANCE
| Unit Type | Centrifugal inline fan |
| Model | |
| Serial Number | |
| Manufacture Date | |
| Quality Inspector’s Stamp |
SELLER INFORMATION
| Seller | ||
| Address | ||
| Phone Number | ||
| Purchase Date | ||
| This is to certify acceptance of the complete unit delivery with the user’s manual. The warranty terms are acknowledged and accepted. | ||
| Customer’s Signature | ||
INSTALLATION CERTIFICATE
| The unit _____________________________________ is installed pursuant to the requirements stated in the present user’s manual. | |||
| Company name | |||
| Address | |||
| Phone Number | |||
| Installation Technician’s Full Name | |||
| Installation Date: | Signature: | ||
| The unit has been installed in accordance with the provisions of all the applicable local and national construction, electrical and technical codes and standards. The unit operates normally as intended by the manufacturer. | |||
| Signature: | |||
WARRANTY CARD
| Unit Type | Centrifugal inline fan | |
| Model | ||
| Serial Number | ||
| Manufacture Date | ||
| Purchase Date | ||
| Warranty Period | ||
| Seller |
V05-1EN-12


































