MeTra 99-5840CH Stereo Installation Kit Installation Guide

KIT FEATURES
- ISO DIN radio provision with pocket
- ISO DDIN radio provision
- Touchscreen display for climate and personalization features
- Painted charcoal
KIT COMPONENTS
- A) Radio trim panel with touchscreen display • B) Radio brackets • C) Pocket • D) Engine start/stop circuit board and cover
- E) (4) #8 x 3/8” Phillips truss-head screws • F) (6) #4 x 1/2” Phillips pan-head screws • G) (4) Panel clips • H) USB cable
- I) HVAC interface and wiring harness (not shown) • J) Antenna adapter (not shown)

WIRING & ANTENNA CONNECTIONS
Wiring Harness: Axxess interface built into touchscreen
Antenna Adapter: Included with kit
TOOLS REQUIRED
- Panel removal tool
- Phillips screwdriver
- 9/32” socket wrench
- Cutting tool
- Torx T-10 screwdriver
Attention! Let the vehicle sit with the key out of the ignition for a few minutes before removing the factory radio. When testing the
aftermarket equipment, ensure that all factory equipment is connected before cycling the key to ignition.
DASH DISASSEMBLY
- Open the passenger door and remove the trim panel from the side of the dash. (Figure A)

(Figure A) - Open the glove box and remove the trim panel on the right side. (Figure B)

(Figure B) - Unclip and remove the trim/vent dash panel. (Figure C)

(Figure C) - Remove the rubber tray cover in front of the shifter, and then remove the (2) 9/32” screws exposed. (Figure D)

(Figure D) - Unclip and remove the front side panels from each side of the center console. (Figure E)

(Figure E) - Remove the (2) 9/32” screws from eac side of the center console. (Figure F)

(Figure F)DASH DISASSEMBLY
- Unclip the shifter trim bezel and slightly pull it up to clear the center console trim bezel removal.
- Open the center console storage compartment. Unclip the center console trim bezel, then slide it toward the rear of the vehicle to remove it. (Figure G)

(Figure G)
Note: The complete center console does not need to be removed. but if it is desired to be removed, the Push-to- Start module must be connected when testing the kit. - Remove the plastic tray in front of the shifter.
- Remove the center plastic trim (knockout) between the power outlet and USB jack. (Figure H)

(Figure H)
Ensure that the vehicle is completely off before proceeding onto the following (3) steps: - Remove the (4) 9/32” screws securing the radio/climate control panel, and then unclip, unplug, and remove. (Figure I)

(Figure I) - Remove the (4) 9/32” screws securing the display screen, then unplug and remove. (Figure J)

- Remove the (4) 9/32” screws securing the radio chassis, then unplug and remove. (Figure J)
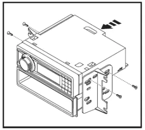
KIT PREPARATION
- Cut and remove the shaded area from the sub-dash to allow clearance for the aftermarket radio. (Figure A) From the factory radio/climate control panel:

(Figure A) - Remove the (10) T-10 Torx screws securing the plastic panel cover to the rear of the panel, and then remove. (Figure B)

(Figure B) - Remove the (5) T-10 Torx screws securing the circuit board, and then remove. (Figure C)

(Figure C) - Remove the rubber button membrane from the back of the engine start/stop switch panel. (Figure D)

(Figure D) - Remove the engine start/stop switch panel. (Figure E)

(Figure E) - Press in on the (2) retaining tabs inside the power outlet to remove the inner portion, and then unsnap the outer ring and cover. (Figure F)

(Figure F)
To the 99-5840CH radio trim panel: - Attach the engine start/stop switch panel, and then the rubber button membrane. (Figure G)

(Figure G) - Secure the engine start/stop circuit board and cover to the switch/cover assembly using the (6) #4 x 1/2” Phillips pan-head screws provided. (Figure H)

(Figure H) - Insert the USB cable into the USB slot, through the rear. (Figure I)

(Figure I) - Attach the (4) panel clips provided. (Figure J)

(Figure J)
KIT ASSEMBLY
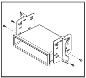
- ISO DIN radio provision with pocket
Secure the radio brackets to the pocket using the (4) #8 x 3/8” Phillips truss-head screws provided. (Figure A)
(Figure A) - Remove the metal DIN sleeve and trim ring from the aftermarket radio.
- Slide the radio into the bracket/pocket assembly, and then secure it using the screws supplied with the radio. (Figure B)

(Figure B)
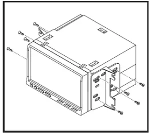
ISO DDIN radio provision
- Secure the radio brackets to the radio using the screws supplied with the radio. (Figure A)

(Figure A)
AXXESS INTERFACE INSTALLATION
INTERFACE FEATURES
- Provides accessory power (12-volt 10-amp)
- Retains R.A.P. (retained accessory power)
- Provides NAV outputs (parking brake, reverse, speed sense)
- Retains audio controls on the steering wheel
- Retains the factory backup camera
- Retains balance
- Micro-B USB updatable
INTERFACE COMPONENTS
- Axxess interface (built into the touchscreen display)
- 5840 harness
- HVAC interface
- HVAC interface harness
- 16-pin harness with stripped leads
- 54-pin backup camera harness
- 4-pin harness with yellow RCA jacks
- Female 3.5mm connector with stripped leads
TOOLS REQUIRED
- Crimping tool and connectors, or solder gun, solder, and heat shrink
- Tape • Wire cutter• Zip ties
CONNECTIONS
From the 16-pin harness with stripped leads to the aftermarket radio:
- Connect the Red wire to the accessory wire.
- Connect the Blue/White wire to the amp turn on wire. This wire must be connected to hear sound from the factory amplifier.
- If the aftermarket radio has an illumination wire, connect the Orange/White wire to it.
- Connect the Gray wire to the right front positive speaker output.
- Connect the Gray/Black wire to the right front negative speaker output.
- Connect the White wire to the left front positive speaker output.
- Connect the White/Black wire to the left front negative speaker output.
- Connect the Green wire to the left rear positive speaker output.
- Connect the Green/Black wire to the left rear negative speaker output.
- Connect the Purple wire to the right rear positive speaker output.
- Connect the Purple/Black wire to the right rear negative output.
The following (3) wires are only for multimedia/navigation radios that require these wires. - Connect the Blue/Pink wire to the VSS/speed sense wire.
- Connect the Green/Purple wire to the reverse wire.
- Connect the Light Green wire to the parking brake wire.
- Tape off and disregard the following (1) wire, it will not be used in this application: Brown.
From the 5840 harness to the aftermarket radio:
- Connect the Black wire to the ground wire.
- Connect the Yellow wire to the battery wire.
- Connect the Blue wire to the power antenna wire.
- Disregard the Red and White RCA jacks labeled “RSE/SYNC/SAT”, they will not be used in this application.
- Disregard the Red and White RCA jacks labeled “FROM 3.5”, they will not be used in this application.
- Tape off and disregard the following (4) wires, they will not be used in this application: Green, Green/Black, Purple, Purple/Black Continued on the next page.
CONNECTIONS (CONT)
54-pin backup camera harness:
There are two different methods for connecting the factory backup camera.
If retaining the camera to the aftermarket radio is desired:
- Connect the Yellow RCA jack the backup camera input from the aftermarket radio. If retaining the camera to the touchscreen display is desired:
- Connect the Yellow RCA jack, to the Yellow RCA jack from the 4-pin harness with yellow RCA jacks labeled “Rearview camera”.
Note: If this method is chosen, the backup camera option must be enabled in Configuration Settings. - Disregard the Yellow RCA jack labeled “AUX video”, it will not be used in this application.
INSTALLATION
It is highly advisable to read the following steps beforehand, to ensure a clear understanding of what is to be expected. The following steps must be done in the order that they are numbered.
With the vehicle completely off:
Touchscreen display
- Connect the 16-pin harness with stripped leads into port “B” in the touchscreen display.
- Connect the 5840 harness to the wiring harnesses in the vehicle. These harnesses are the ones removed in step 13 of dash disassembly. Then insert the 5840 harness into port “A” in the touchscreen display. But do not install this harness until exactly before step 1 from the Programming section. This is a timed process.
- Connect the 4-pin harness with yellow RCA jacks into port “C” in the touchscreen display.
- Disregard ports “D” and “E”, they will not be used in this application.
- Port “F” is an update port for future firmware upgrades.

HVAC interface
- Connect the HVAC interface harness into the HVAC interface, and then to the wiring harnesses in the vehicle. These harnesses are the ones removed in step 11 of dash disassembly.
a. Then connect the 10-pin harness into the engine start/stop circuit board assembly. Attention! There are (2) 10-pin connectors, one in the engine start/stop circuit board assembly, and one in the touchscreen display. Use only the appropriate connector and disregard the other one. If the incorrect port is accidentally used, the vehicle will need to be reset by removing the battery for a couple minutes.
Note: Disregard the 4-pin flat to 4-pin stacked harness, it will not be used in this application. - Connect the 6-pin harness from the 5840 harness to the HVAC interface.
- Connect the female connector from the 54-pin backup camera harness to the wiring harness in the vehicle. This connector is located behind the factory display screen, which was removed in step 12 of dash disassembly.
Note: Disregard the male connector, it will not be used in this application. - Locate the factory antenna connector in the dash and complete all necessary connections to the radio. Use the antenna adapter provided to adapt the factory antenna connector to the aftermarket radio.
PROGRAMMING
- Refer to step 2 from the Installation section.
- Press the push-to-start button to start the vehicle.
Note: If the Push-to-Start module in the center console has been disconnected, reconnect it. - Program the kit:
a. Once the touchscreen display loads up, select the vehicle type.
b. Wait until the radio comes on, and the touchscreen display shows SWC Configured.
This process may take up to 3 minutes.
Note: If the touchscreen display does not load up, or the radio doesn’t come on within - minutes, and/or the touchscreen display does not show SWC Configured, check all connections, then reset the interface and try again. Refer to the Troubleshooting section.
- Cycle the key off. If the driver’s door is closed, open and close the door. Cycle the key back on.
- Test all functions of the installation for proper operation, before reassembling the dash.
FINAL ASSEMBLY
- Connect the USB cable attached to the radio trim panel with touchscreen display, to the USB port in the back of the radio, if applicable.
- Secure the completed assembly into the upper dash using the factory hardware removed in step 12 of dash disassembly.
- Snap the radio trim panel with touchscreen display over the completed assembly, and then reassemble the dash in reverse order of disassembly.
TOUCHSCREEN DISPLAY OPERATION
Climate Control screen

- This is the climate control screen which will be displayed on the touchscreen display. This is considered the Main Menu.
- The upper left tab with (3) arrows will take you to the screen where the Heated/Cooled Seats and Heated Steering are now placed, if applicable.
- The upper right tab with the gear icon will take you to the Configuration Settings screen.
- The climate controls will function in the same manner that they did with the factory climate controls.
TOUCHSCREEN DISPLAY OPERATION (CONT.)
Configuration Settings

- Backlight
- For controlling the color of the buttons and back-light intensity.
- Backup Camera
- Enable/disables the backup camera image to the touchscreen display. Disabled by default.
- Forward Camera
- To direct where the camera image will be shown, or to disable the camera
- Ambient Lighting Color
- For adjusting the ambient light color in the vehicle

STEERING WHEEL CONTROL SETTINGS

- The interface has the ability to change the button assignment for the steering wheel control audio buttons, except Volume-Up and Volume-Down. Follow the prompts on the touchscreen display to remap the steering wheel control audio button(s) to your liking.
Note: The aftermarket radio may not have all of these commands. Please refer to the manual provided with the radio, or contact the radio manufacturer, for specific commands recognized by that particular radio.
Dual Assign

- The interface has the capability to assign two functions to a single button, except Volume-Up and Volume-Down. Follow the prompts on the touchscreen display to program the button(s) to your liking.
Note: Seek-Up and Seek-Down come programmed as Preset-Up and Preset-Down for a long button press.
STEERING WHEEL CONTROL SETTINGS (CONT.)
Select Radio

- To show which brand radio is “auto detected” to the interface, press the “Autodetect” button. The radio detected will have a filled in circle. If the incorrect radio is shown, select the proper radio.
- Following is a list of radio manufacturers that the interface presently acknowledges. Others may be added at a later date. Universal “2 or 3 wire” radios can show up as any of these radio manufacturers.
- Note: If the interface shows an Alpine radio, and you do not have an Alpine radio, that means the interface does not detect a radio connected it, i.e., an open connection. Verify that the 3.5mm jack is connected to the correct steering wheel jack/wire in the radio. ** Note: The AX-SWC-PARROT is required (sold separately). Also, the Parrot radio must be updated to rev. 2.1.4 or higher through www.parrot.com.
† Note: If you have a Clarion radio and the steering wheel controls do not work, change the radio type to the other Clarion radio type; same for Eclipse. ‡ Note: If you have a Kenwood radio and the touchscreen display shows a JVC radio, change the radio type to Kenwood.
TROUBLESHOOTING

Resetting the interface Option # 1
- With everything connected and the car running.
- Hold the bottom (2) buttons for 3 seconds, then release. (Figure A) (The screen will turn black and then put you in the vehicle selection screen)
- Select your vehicle and wait till the “SWC Configured “ appears on the screen.
- Turn ignition off and start vehicle, then test your interface.
Option #2
- With the vehicle running, press the Reset Vehicle Type button mentioned in System Configuration.
- Refer to Programming, step 3, from this point.
If you are having difficulties with the installation of this product, contact our Tech Support line either by phone at 386-257-1187, or email at [email protected]. Before doing so, look over the instruction booklet a second time and ensure that the installation was performed exactly as the instruction booklet is stated. Have the vehicle apart and ready to perform troubleshooting steps before contacting Metra/Axxess Tech Support.













































