MeTra 99-8271 Car Dash Kit Installation Guide
KIT FEATURES
- ISO DIN radio provision with pocket
- ISO DDIN radio provision
99-8271S – Painted in silver
99-8271CHG – Finished in charcoal high gloss
WIRING & ANTENNA CONNECTIONS (sold separately)
Visit metraonline.com for audio and steering wheel interface options.
Antenna adapter: Not required (2010-2013)
- 40-LX11 (2014-up)
TOOLS REQUIRED
- Phillips screwdriver
- Panel removal tool
- 10mm socket wrench
Attention! With the key out of the ignition, disconnect the negative battery terminal before installing this product. Ensure that all installation connections are secure before cycling the ignition to test this product.
KIT COMPONENTS
- A) Radio trim panel

- B) Radio brackets

- C) Pocket

- D) Vent trim panels

- E) Panel clips (4)

- F) #4 x 3/8” Phillips screws (2)

- G) #4 x 1/4” Phillips screws (4)

- H) #8 x 3/8” Phillips screws (4)

DASH DISASSEMBLY
- Unclip and remove the (2) climate control knob trim panels. (Figure A)

- Unclip and remove the climate control (Figure B)

- Remove (4) 10mm bolts securing the radio. (Figure C)

- Unclip and remove the vents from the factory radio panel. (Figure D)

- Remove the (2) Phillips screws securing the trim panel on the top of the factory radio panel. (Figure E)

- Remove the (4) Phillips screws securing the outer a/c vent control wheel trim pieces. 2020-up models will require the included vent trim panels. (Figure F)

- Unclip and remove the hazard switch from the factory radio trim panel. (Figure G)

KIT PREPARATION
- Attach the outer a/c vent control wheel trim pieces to the radio trim panel using the factory hardware. Vent trim panels and (4) #4 x 1/4” Phillips screws have been provided for 2020-up models. (Figure A)

- Attach the trim panel to the top of the radio trim panel using the factory hardware. (Figure B)

Note: (2) #4 x 3/8” Phillips screws are provided “Just in case”. - Attach the a/c vents to the radio trim panel. (Figure C)

- Snap the hazard switch into the rradio trim panel. (Figure D)
- Attach (4) panel clips to the radio trim panel. (Figure D)

KIT ASSEMBLY
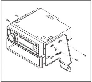
ISO DIN provision with pocket
- Attach the pocket to the radio brackets using the (4) supplied #8 x 3/8” Phillips screws. (Figure A)

- Slide the radio into the bracket/pocket assembly and secure it using screws supplied with the radio, then secure the completed assembly into the dash opening. (Figure B)

- Locate the factory wiring harness and antenna connector in the dash, and complete all necessary connections to the radio. Metra recommends using the proper mating adapter from Metra and/ or AXXESS. Re-connect the negative battery terminal and test the radio for proper operation.
- Snap the radio trim panel over the radio and reassemble the dash in reverse order of disassembly.
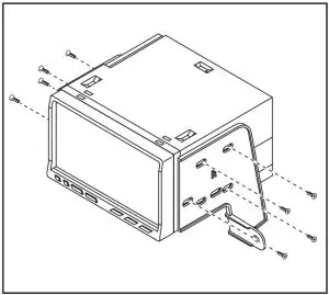
ISO DDIN radio provision
- Secure the radio brackets to the radio using the screws supplied with the radio. (Figure A)

- Secure the completed assembly into the dash opening.
- Locate the factory wiring harness and antenna connector in the dash, and complete all necessary connections to the radio. Metra recommends using the proper mating adapter from Metra and/ or AXXESS. Re-connect the negative battery terminal and test the radio for proper operation.
- Snap the radio trim panel over the radio and reassemble the dash in reverse order of disassembly
Customer Support
Having difficulties? We’re here to help
Contact our Tech Support line at: 386-257-1187
Or via email at: [email protected]
Tech Support Hours (Eastern Standard Time)
- Monday – Friday: 9:00 AM – 7:00 PM
- Saturday: 10:00 AM – 7:00 PM
- Sunday: 10:00 AM – 4:00 PM
KNOWLEDGE IS POWER
Enhance your installation and fabrication skills by enrolling in the most recognized and respected mobile electronics school in our industry.
Log onto www.installerinstitute.edu or call 386-672-5771 for more information and take steps toward a better tomorrow.
Metra recommends MECP certified technicians








































