MeTra 99-7639HG Dash Kit

KIT FEATURES
- ISO DIN radio provision with pocket
- Painted high gloss to match factory finish
KIT COMPONENTS
A) Radio trim panel
B) Radio brackets
C) Pocket
D) (8) #8 x 3/8” Phillips screws
WIRING & ANTENNA CONNECTIONS (sold separately)
- Wiring Harness: 70-7552
- Antenna Adapter: 40-NI12
TOOLS REQUIRED
- Panel removal tool
- Phillips screwdriver
- 12mm socket wrench
- T-20 Torx driver
Attention! Let the vehicle sit with the key out of the ignition for a few minutes before removing the factory radio. When testing the aftermarket equipment, ensure that all factory equipment is connected before cycling the key to ignition.
DASH DISASSEMBLY
- Remove the (2) Phillips screws securing the knee bolster panel below the steering column, and then unclip the panel. It is not necessary to completely remove the panel. (Figure A)
- Unclip and remove the passenger door sill and kick panel. (Figure B)
- Remove the (5) Phillips screws securing the glove box and then remove. There are (2) screws below the glove box, and (3) screws exposed when you open the glove box. (Figures C and D)

- Unclip and remove the (2) side trim panels at the front of the center console, and then remove the (1) Phillips screw exposed behind each panel. Tip: Pull out on the front sides of the console to release for later steps. (Figure E)
- Slide both of the front seats forward and then remove the (2) 12mm bolts from the rear sides of the center console. Slide the seat back once done. (Figure F)
- Unclip and remove either the front console pocket or heated seat controls, depending on options available. (Figure G)

- Unclip and remove the trim panel where the center console and the dashboard meet, and then remove the (2) Phillips screws exposed. (Figure H)
- Slide the center console back, and then unclip and remove the vent panels from each side of the radio/climate control panel. (Figure I)
- Remove the (2) Phillips screws securing the accessory panel below the climate control panel, and then unclip and remove. (Figure J)

- Remove the (2) Phillips screws securing the climate control panel and then remove. (Figure K)
- Remove the (4) Phillips screws securing the radio and then remove. (Figure L)
- Slightly loosen the (8) T-20 Torx screws securing the radio brackets. Remove the (2) T-20 Torx screws securing the “white” climate control module below the radio and then remove. This module will be reused in kit assembly. (Figure M)

KIT ASSEMBLY
- Attach the radio brackets to the radio trim panel using the (4) #8 x 3/8” Phillips screws provided. (Figure A)
- Slide the “white” climate control module removed in dash disassembly into the lower portion of the bracket/panel assembly, and then secure with the factory hardware. (Figure B)
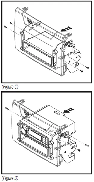
- Secure the pocket to the bracket/panel assembly using the (4) #8 x 3/8” Phillips screws provided. (Figure C)
- Remove the metal DIN sleeve and trim ring from the aftermarket radio.

- Slide the radio into the completed assembly, and then secure it to the assembly using the screws supplied with the radio. (Figure D)
- Locate the factory wiring harness and antenna connector in the dash, and complete all necessary connections to the radio. Metra recommends using the proper mating adapter from Metra and/ or AXXESS. Test the radio for proper operation.
- Reassemble the dash in reverse order of disassembly.

If you are having difficulties with the installation of this product, contact our Tech Support line either by phone at 386-257-1187, or email at [email protected]. Before doing so, look over the instruction booklet a second time and ensure that the installation was performed exactly as the instruction booklet is stated. Have the vehicle apart and ready to perform troubleshooting steps before contacting Metra/Axxess Tech Support.
KNOWLEDGE IS POWER
Enhance your installation and fabrication skills by enrolling in the most recognized and respected mobile electronics school in our industry. Log onto www.installerinstitute.com or call 800-354-6782 for more information and take steps toward a better tomorrow.

























