MeTra 95-7398 Dash Kit

KIT FEATURES
- ISO DDIN radio provision
- Painted scratch resistant matte black with silver vent trim
KIT COMPONENTS
- A) Radio trim panel

- B) Radio brackets

- C) Panel clips (5)

- D) Panel clip legs (3)

- E) #4 Phillips screws (12)

WIRING & ANTENNA CONNECTIONS (Sold Separately)
See metra-online.com or axxessinterfaces.com for audio and SWC interface options Antenna Adapter: 40-KI11
TOOLS REQUIRED
- Panel removal tool
- Socket wrench
- Phillips screwdriver
- Cutting tool
Attention! Let the vehicle sit with the key out of the ignition for a few minutes before removing the factory radio. When testing the aftermarket equipment, ensure that all factory equipment is connected before cycling the key to ignition.
DASH DISASSEMBLY
- Unclip and remove the center dash trim panel which includes the a/c vents. This panel is incredibly difficult to remove. Start from the top clips then work down.

- Remove (4) Phillips screws securing the radio. Slide the radio out, then unplug and remove.

- Remove (4) Phillips screws securing the factory hazard switch panel to the radio trim panel and (1) Phillips screw per a/c vent then unclip and remove the panel and vents from the factory radio trim panel.

KIT PREPARATION
- Cut and remove the area marked in the sub dash and bend metal bracket out of the way to make room for the radio chassis.

- Secure the factory hazard button panel to the radio trim panel using the factory hardware. Screws have also been provided if needed.

- Secure the factory a/c vents to the radio trim panel using the factory hardware. Screws have also been provided if needed.

- Secure the (3) panel clip legs to the radio trim panel with (6) #4 screws provided.

- Attach the (5) supplied panel clips to the panel clip legs and radio trim panel.
KIT ASSEMBLY
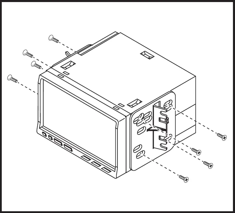
- Attach the radio brackets to the radio using screws supplied with the radio, and then secure into the dash opening.

- Locate the factory wiring harness and antenna connector in the dash, and complete all necessary connections to the radio. Metra recommends using the proper mating adapter from Metra and/or AXXESS. Re-connect the negative battery terminal and test the radio for proper operation.
- Snap the radio trim panel over the radio and reassemble the dash in reverse order of disassembly.
Having difficulties? We’re here to help.
Contact our Tech Support line at:
Tel: 386-257-1187
Or via email at:
Email: [email protected]
Tech Support Hours (Eastern Standard Time)
- Monday – Friday: 9:00 AM – 7:00 PM
- Saturday: 10:00 AM – 7:00 PM
- Sunday: 10:00 AM – 4:00 PM
































