
95-9610B
INSTALLATION INSTRUCTIONS

Porsche Cayenne (958)* 2011-2016
* With fiber optic MOST-25® amp
Visit MetraOnline.com for more detailed information about the product and up-to-date vehicle specific applications
KIT FEATURES
- ISO DDIN radio provision
- Includes an Axxess interface for retaining CAN data information
- Includes an Axxess interface for retaining the fiber-optic MOST-25® amp
- Includes an Axxess interface for retaining steering wheel control functionality
KIT COMPONENTS
- Painted matte black
- A) Radio bezel
- B) Radio brackets
- C) ISO DDIN trim ring
- D) Phillips machine-thread screws (4)
- E) Phillips standard-thread screws (4)
- F) Axxess interface (not shown)
- G) Axxess MOST-25® interface (not shown)
- H) Axxess SWC interface (not shown)

WIRING & ANTENNA CONNETIONS
Wiring Harness: Included with kit Antenna Adapter: Included with kit Steering Wheel Control Interface: Included with kit
TOOLS REQUIRED
- Panel removal tool
- Phillips screwdriver
- Thin flat-blade screwdriver
- T-27 Torx screwdriver
Attention! Let the vehicle sit with the key out of the ignition for a few minutes before removing the factory radio. When testing the aftermarket equipment, ensure that all factory equipment is connected before cycling the key to ignition.
DASH DISASSEMBLY
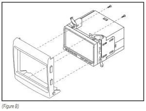
- Unclip, unplug and remove the center a/c vents. There are (6) clips on each vent that secure it to the dash. To release the clips, insert a thin flat-blade screwdriver into the vents, then push on the clips outward. Release the outermost clips first. (Figure A) The clips are located: (1) top, (1) bottom, (2) each side. (Figure B)
- Remove (4) T-27 Torx screws securing the radio. Slide the radio out, then unplug and remove. (Figure C)
Continue to Kit Assembly


KIT ASSEMBLY
| 1. Secure the radio brackets to the radio using screws supplied with the radio. (Figure A) Note: There are (4) Phillips machinethread screws provided in case the radio doesn’t come with screws. | ![]() |
| 2. Place the radio bezel over the radio assembly, then secure using (4) Phillips standard-thread screws provided. (Figure B) Note: An ISO DDIN trim plate is provided for smaller nose radios which produce a gap around the radio. | ![]() |
AXXESS INTERFACE INSTALLATION
INTERFACE FEATURES
- Provides accessory power
- Provides illumination, parking, brake, reverse, and speed sense outputs
- Retains audio controls on the steering wheel
- Retains parking sensor audio
- Retains the factory backup camera
- Retains the factory AUX-IN jack and USB port
- Designed for models with a fiber-optic MOST-25® amplifier
- Retains balance and fade
- Micro-B USB updatable
INTERFACE COMPONENTS
- 9610 interface
- SWC interface
- MOST-25® amp interface
- 9610 harness (labeled LEAD 1547)
- SWC harness (labeled LEAD 1235)
- USB harness
- 3.5mm adapter
- Antenna adapter
TOOLS & INSTALLATION ACCESSORIES REQUIRED
- Crimping tool and connectors, or solder gun, solder, and heat shrink
- Tape
- Wire cutter
- Zip ties
CONNECTIONS
From the 9610 harness to the aftermarket radio, connect the:
- Black wire to the ground wire.
- Yellow wire to the battery wire
- Red wire to the accessory wire.
Note: There will also be a Red accessory wire on the SWC harness to connect. - Blue wire to the power antenna wire.
- Blue/White wire to the amp turn on wire.
- Orange wire to the illumination wire.
- Blue/Pink wire to the speed sense wire.
- Green/Purple wire to the reverse wire.
- Light Green wire to the parking brake wire.
- Yellow RCA jack to the backup camera input.
- Red & White RCA jacks labeled “FRONT LEFT” and “FRONT RIGHT” to the full range front amplifier output jacks. · Red & White RCA jacks labeled “AUX LEFT” and “AUX RIGHT” to the audio AUX-IN jack.
- Disregard the following (8) wires:
Gray, Gray/Black, Green, Green/Black, Purple, Purple/Black, White, White/Black If applicable
From the SWC harness to the aftermarket radio:
- Parrot: Connect the AX-SWC-PARROT (sold separately) to the 3.5mm jack, then to the radio.
- For the radio listed below: Connect the 3.5mm adapter to the 3.5mm jack.
- Eclipse: Brown Brown/White / Brown/White Brown
- Kenwood / JVC (with SWC wire): Blue/Yellow – Brown · Metra OE: Key 1 (Gray) – Brown
- Universal “2 or 3 wire” radio*: Key-A or SWC-1 Brown /Key-B or SWC-2 Brown/White
*After programming, assign SWC buttons within menu. - XITE: SWC-2 Brown
- For all other radios: Connect the 3.5mm jack to the radio.
- Connect the Red wire to accessory power.
INSTALLATION
With the ignition switch in the off position, connect the:
- SWC harness to the SWC interface, then to the 9610 interface.
- 9610 harness to the MOST-25® interface.
a. Remove the dust cover from the fiber-optic port in the MOST-25® interface.
b. Insert the factory fiber-optic cable into the MOST-25® interface. - 9610 harness to the 9610 interface, then to the wiring harness in the vehicle.
- USB harness to the radio, then to the wiring harness in the vehicle.
- Locate the factory antenna connector in the dash and complete all necessary connections to the radio. Use the antenna adapter provided to adapt the factory antenna to the aftermarket radio.
PROGRAMMING
- Open the driver’s door and keep open during the programming process.
- Press and hold the Volume Up button on the steering wheel. For models with a scroll wheel, scroll up quickly.
- Cycle the ignition switch on.
- The LED in the SWC interface will quickly flash Green and Red. (a)
- The LED will go out, then flash Green while the interface programs itself to the vehicle. (b)
- The LED will go out again, then flash Red up to 22 times while the interface programs itself to the radio. (c)
- Once programmed the LED will go out briefly, then turn solid Red. (d)
- Release from holding the Volume Up button. Test all functions of the installation for proper operation. (e)
(a) If the LED doesn’t flash, press the reset button for 3 seconds to reset the interface.
(b) There will be a series of 7 Green flashes, some short, some long. The long flashes represent the wires connected to the interface. The 3rd, 4th, 5th, and 6th flashes should be longer.
(c) The number of flashes identify the radio installed. Refer to the SWC interface Radio Troubleshooting document available from axxessinterfaces.com for more information.
(d) If the LED didn’t turn solid Red, press the reset button for 3 seconds to start the process over again, then resume from step 3.
(e) Refer to the SWC interface documents available from axxessinterfaces.com for customizing the SWC buttons.
FINAL ASSEMBLY
- Slide the radio assembly into the dash, then secure using the factory screws.
- Reassemble the dash in reverse order of disassembly to complete the installation.
If you are having difficulties with the installation of this product, contact our Tech Support line either by phone at 386-257-1187, or email at [email protected]. Before doing so, look over the instruction booklet a second time and ensure that the installation was performed exactly as the instruction booklet is stated. Have the vehicle apart and ready to perform troubleshooting steps before contacting Metra/Axxess Tech Support.
® KNOWLEDGE IS POWER
Enhance your installation and fabrication skills by enrolling in the most recognized and respected mobile electronics school in our industry.
Log onto www.installerinstitute.com or call 800-354-6782 for more information and take steps toward a better tomorrow.
Metra recommends MECP certified technicians
![]()
Metra recommends MECP certified technicians
| © COPYRIGHT 2020 METRA ELECTRONICS CORPORATION | REV. 08/19/20 INST95-9610B |

























