MeTra 99-5854B Single/Double DIN Dash Kit Installation Guide

Ford Fusion* 2013-2019
* With manual climate control
Visit MetraOnline.com for more detailed information about the product and up-to-date vehicle specific applications
KIT FEATURES
• ISO DIN radio provision with pocket
• ISO DDIN radio provision
• Included interface for climate and steering wheel functions
• Painted black
KIT COMPONENTS
• A) Radio trim panel
• B) Radio brackets
• C) Pocket
• D) Heated seat buttons (L & R) Blank panels
• E) #8 x 3/8” Phillips screws (4)
• F) Panel clips (4)
• G) HVAC interface and wiring harness (not shown)
• H) Antenna adapter (not shown)

WIRING & ANTENNA CONNECTIONS
Wiring Harness: Axxess interface built into kit
Antenna Adapter: Included with kit
TOOLS REQUIRED
• Panel removal tool
• Phillips screwdriver
• 9/32” socket wrench
• Cutting tool
Attention! Let the vehicle sit with the key out of the ignition for a few minutes before removing the factory radio. When testing the aftermarket equipment, ensure that all factory equipment is connected before cycling the key to ignition.
DASH DISASSEMBLY
For 2013-2016 models only:
1. Unclip the trim from around the shifter. (Figure A)
2. Unclip the U-shaped trim from the rear of the shifter. (Figure B)

For 2017-2019 models only:
3. Unclip and remove the left and right side panels from the center console, then remove the (2) 9/32” screws exposed. (Figure C)

All models:
4. Unclip the trim surrounding the center dash. (Figure D)

5. Remove (2) 9/32” screws securing the radio/climate control panel, then unclip, unplug, and remove the panel.
6. Remove (4) 9/32” screws securing the display screen, and then unplug and remove the screen.
7. Remove (2) 9/32” screws securing the radio chassis, then unplug and remove the chassis.
KIT PREPARATION
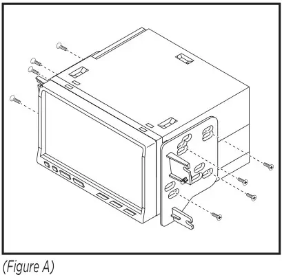
1. Cut and remove the shaded area from the sub-dash to allow clearance for the aftermarket radio. (Figure A)

To the 99-5854B radio trim panel:
2. Attach (4) panel clips provided on to the radio trim panel. (Figure B)

3. For models with heated seats: Clip in the heated seat buttons. (Figure C)

For models without heated seats: Clip in the blank panels. (Figure C)
KIT ASSEMBLY
ISO DIN radio provision with pocket
1. Secure the radio brackets to the pocket using the Phillips screws provided. (Figure A)
2. Remove the metal DIN sleeve and trim ring from the aftermarket radio.
3. Slide the radio into the bracket/pocket assembly, then secure it using the screws supplied with the radio. (Figure B)

ISO DDIN radio provision
1. Secure the radio brackets to the radio using the screws supplied with the radio. (Figure A)

AXXESS INTERFACE INSTALLATION
INTERFACE FEATURES
• Provides accessory power
• Retains R.A.P. (retained accessory power)
• Provides NAV outputs (parking brake, reverse, speed sense)
• Retains audio controls on the steering wheel
• Retains the factory backup camera
• Retains balance and fade
• Allows the override of the STOP/START engine feature
• The factory STOP/START button can resume the STOP/START feature
• Micro-B USB updatable
INTERFACE COMPONENTS
• Axxess interface (built into kit)
• 5854 harness
• HVAC interface
• HVAC interface harness
• 4-pin flat to 4-pin stacked harness
• 16-pin harness with stripped leads
• 14-pin harness with stripped leads
• 54-pin backup camera harness
• 12-pin backup camera harness
• Female 3.5mm connector with stripped leads
TOOLS REQUIRED
• Crimping tool and connectors, or solder gun, solder, and heat shrink
• Tape
• Wire cutter
• Zip ties
CONNECTIONS
From the 16-pin harness with stripped leads to the aftermarket radio:
• Connect the Red wire to the accessory wire.
• If the aftermarket radio has an illumination wire, connect the Orange/White wire to it.
• Connect the Gray wire to the right front positive speaker output.
• Connect the Gray/Black wire to the right front negative speaker output.
• Connect the White wire to the left front positive speaker output.
• Connect the White/Black wire to the left front negative speaker output.
• Tape off and disregard the following (6) wires, they will not be used in this application. Blue/White, Green, Green/Black, Purple, Purple/Black, Brown
The following (3) wires are only for multimedia/navigation radios that require these wires.
• Connect the Blue/Pink wire to the VSS/speed sense wire.
• Connect the Green/Purple wire to the reverse wire.
• Connect the Light Green wire to the parking brake wire
From the 5854 harness to the aftermarket radio:
• Connect the Black wire to the ground wire.
• Connect the Yellow wire to the battery wire.
• Connect the Blue wire to the power antenna wire.
• Connect the Green wire to the left rear positive speaker output.
• Connect the Green/Black wire to the left rear negative speaker output.
• Connect the Purple wire to the right rear positive speaker output.
• Connect the Purple/Black wire to the right rear negative output.
• Disregard the Red and White RCA jacks labeled “RSE/SYNC®/SAT”, they will not be used in this application.
• Disregard the Red and White RCA jacks labeled “FROM 3.5”, they will not be used in this application.
3.5mm jack – steering wheel control retention:
- The 3.5mm jack is to be used to retain audio controls on the steering wheel control.
- Eclipse: Connect the steering wheel control wire, normally Brown, to the Brown/White wire of the connector. Then connect the remaining steering wheel control wire, normally Brown/White, to the Brown wire of the connector .
- Metra OE: Connect the steering wheel control Key 1 wire (Gray) to the Brown wire.
- Kenwood or select JVC with a steering wheel control wire: Connect the Blue/Yellow wire to the Brown wire.
Note: If your Kenwood radio auto detects as a JVC, manually set the radio type to Kenwood. See the instructions under changing radio type. - XITE: Connect the steering wheel control SWC-2 wire from the radio to the Brown wire.
- Parrot Asteroid Smart or Tablet: Connect the 3.5mm jack into the AX-SWC-PARROT (sold separately), and then connect the 4-pin connector from the AX-SWC-PARROT into the radio .
Note: The radio must be updated to rev. 2.1.4 or higher software. - Universal “2 or 3 wire” radio: Connect the steering wheel control wire, referred to as Key-A or SWC-1, to the Brown wire of the connector. Then connect the remaining steering wheel control wire, referred to as Key-B or SWC-2, to the Brown/White wire of the connector. If the radio comes with a third wire for ground, disregard this wire .
Note: After the interface has been programmed to the vehicle, refer to the manual provided with the radio for assigning the SWC buttons. Contact the radio manufacturer for more information.
- For all other radios: Connect the 3.5mm jack into the port on the radio designated for an external steering wheel control interface. Refer to the manual provided with the radio if in doubt as to where the 3.5mm jack goes to.
Backup camera harness:
For models with a 4.2-inch display screen:
• Use the 12-pin backup camera harness.
For models with an 8-inch display screen:
• Use the 54-pin backup camera harness.
From the 14-pin harness with stripped leads to the aftermarket radio:
The following (2) wires are for triggering a relay from the buttons on the face of the kit. The outputs are latching which means they will stay active until the button is pressed again (or until the key has been turned off). This can be used to turn on items such as accent lighting, or fans to cool aftermarket amplifiers.
- Connect the Blue/Red wire labeled “AUX 1” to the negative input from an automotive SPDT relay (sold separately).
- Connect the Blue/Black wire labeled “AUX 2” to the negative input from an automotive SPDT relay (sold separately).
INSTALLATION
Climate control panel
- Connect the 16-pin harness with stripped leads into port A.
- Connect the 14-pin harness with stripped leads into port B.
- Connect the 5854 harness into port C, and then to the wiring harnesses in the vehicle. These harnesses are the ones removed in Dash Disassembly, step 7.
- Port D is a Micro-B USB input for updating the interface.

HVAC interface
5. Connect the HVAC interface harness into the HVAC interface, and then to the wiring harnesses in the vehicle. These harnesses are the ones removed in Dash Disassembly, step 4.
Attention! Disregard the 10-pin connector from the HVAC interface harness, it will not be used in this application.
6. Connect the 4-pin flat to 4-pin stacked harness into the HVAC interface, and then to the passenger airbag light assembly.
7. Connect the 6-pin harness from the 5854 harness to the HVAC interface.
8. For models with a 4.2-inch display screen: Connect the 12-pin backup camera harness to the wiring harness in the vehicle. This harness is the one removed in Dash Disassembly, step 5.
For models with an 8-inch display screen: Connect the female connector from the 54-pin backup camera harness to the wiring harness in the vehicle. This connector is located behind the factory display screen, which was removed in Dash Disassembly, step 5.
Note: Disregard the male connector, it will not be used in this application.
9. Locate the factory antenna connector in the dash and complete all necessary connections to the radio. Use the antenna adapter provided to adapt the factory antenna connector to the aftermarket radio.
PROGRAMMING
- Open the driver’s door, and keep open during the programming process.
- Cycle the ignition on and wait until the climate control lights turn blue.
Note: If the lights don’t turn blue, unplug port C from the tactile panel for a few seconds, then try again. - Test all functions of the installation for proper operation, before reassembling the dash.
Note: The compass in the driver’s information center will no longer be functional.
FINAL ASSEMBLY
- Secure the completed assembly into the upper dash using the factory hardware removed in Dash Disassembly, step 7.
- Snap the radio trim panel over the completed assembly, then reassemble the dash in reverse order of disassembly to complete the installation.
The buttons (on the right side of the steering wheel) will be used to enter, navigate, and make changes to the menu. The display on the climate knobs will be used to view the menu.
- With the driver’s door open, press and hold the OK button, then cycle the key on.
- Press the seek buttons (left and right arrows) to toggle through the menu options available. Refer to the Menu Options table for a list of options, and description of each option.
- Press the volume buttons (up and down arrows) to toggle through the sub-menu options available. Refer to the appropriate Sub-Menu Options table for the item in interest.
- Once an item has been chosen to change, press the OK button.
- Navigate to “d o”, then press the OK button to exit the Configuration Menu.
- If no activity after 10-seconds the Configuration Menu will close.
Menu Options

Sub-Menu Options



- If the steering wheel controls don’t work, change the radio type to the opposite radio type.
- If the display shows 5 (JVC), change the radio type to 2 (Kenwood).
- If the display shows Alpine, but an Alpine radio isn’t installed, make sure the 3.5mm jack is plugged in.
- AX-SWC-PARROT required (sold separately). The software in the radio must be rev. 2.1.4 or higher.


If you are having difficulties with the installation of this product, contact our Tech Support line either by phone at 386-257-1187 ext. 8300, or email at [email protected].
Before doing so, look over the instruction booklet a second time and ensure that the installation was performed exactly as the instruction booklet is stated. Have the vehicle apart and ready to perform troubleshooting steps before contacting Metra/Axxess Tech Support.

KNOWLEDGE IS POWER
Enhance your installation and fabrication skills by enrolling in the most recognized and respected mobile electronics school in our industry.
Log onto www.installerinstitute.com or call 800-354-6782 for more information and take steps toward a better tomorrow.

Metra recommends MECP certified technicians
The World’s best kits. ®
metraonline.com
© COPYRIGHT 2020 METRA ELECTRONICS CORPORATION
REV. 11/16/20 INST99-5854B


















