Metra 95-3305 Double DIN Installation Multi Kit

KIT FEATURES
95-3305:
- ISO DDIN radio provision
KIT COMPONENTS
- A1) ISO DDIN radio housing
- B1) ISO DDIN radio brackets

WIRING & ANTENNA CONNECTIONS
Wiring Harness:
- Please visit metraonline.com for harness options
Antenna Adapter:
- Please visit metraonline.com for antenna adapter options
TOOLS REQUIRED
- Panel removal tool
- Phillips screwdriver
- 7mm & 10mm Socket Wrench
- Torx driver
- Allen wrench
CAUTION! Metra recommends disconnecting the negative battery terminal before beginning any installation unless the vehicle manufacturer recommends against so. Please check with your local Dealership for more information. All accessories, switches, climate controls panels, and especially air bag indicator lights must be connected before reconnecting the battery or cycling the ignition. Also, do not remove the factory radio with the key in the on position, or the vehicle running. It would be best to remove the key from the ignition and then wait a few seconds before removing the factory radio.
Dash Disassembly
Buick Lucerne 2006-2011/Chevrolet Impala 2006-2013, Impala Limited (Fleet) 2014, Monte Carlo 2006-2007
- Unclip and remove the trim panel around the radio and A/C control. (Figure A)
- Remove (6) 7mm screws to extract the radio and A/C control from the sub dash. (Figure B)
Continue to kit assembly
Chevrolet Avalanche 2007-2013, Silverado (excluding classic models) 2007-2013, Tahoe/Suburban 2007-2014, Silverado 2500/3500 2014 / GMC Yukon 2007-2014, Sierra (excluding classic models) 2007-2013, Sierra 2500/3500 2014
- Unclip and remove the radio trim panel. (Figure A)
- Remove (2) 7mm screws securing the switch panel below the climate controls. Unplug and remove the switch panel. (Figure B)
- Remove (2) 7mm screws securing climate controls. Unplug and remove climate controls. (Figure B)
- Remove (4) 7mm screws securing the radio. Unplug and remove the radio. (Figure C)
Continue to kit assembly

Dash Disassembly Chevy Express/GMC Savana 2008-up
- Remove (2) 10mm bolts from below the knee bolster under the steering column and remove the panel. (Figure A)
- Remove (2) 10mm bolts from the panel below the passenger dash airbag and remove the panel.(Figure B)
- Unsnap and remove the radio and instrument cluster panel. (Figure C)
Note: To access the radio it may not be necessary to completely remove the radio and instrument cluster panel. - Remove (4) 7mm bolts to remove the radio. (Figure D) Continue to kit assembly

Dash Disassembly Suzuki XL-7 2007-2009
- Press in on sides of the shifter boot to release it from the shifter trim panel. (Figure A)
- Lift the boot up to access the Allen screw securing the shifter knob to the shifter lever. Loosen the Allen screw and remove the shifter knob. (Figure B)
- Remove (1) Torx screw from the shifter trim panel. (Figure C), then using the panel removal tool unsnap the shifter trim panel. Unplug and remove the panel. (Figure D)
- Using a panel removal tool unsnap the radio trim panel. Unplug and remove the panel. (Figure E)
- Remove (4) 7mm screws securing the radio. Unplug and remove the radio.
Continue to kit assembly

Dash Disassembly Chevy Equinox/Pontiac, Torrent 2007-2009
- Unsnap the panel below the power window switch and remove it. (Figure A) Note: This allows you to unplug the window switch easier.
- Unsnap and remove the entire panel surrounding the radio and shifter. (Figure B, next page)
- Remove (4) 7mm screws securing the radio. Unplug and remove the radio. (Figure C, next page)
Continue to kit assembly
Dash Disassembly Buick Enclave 2008-2012/Chevy Traverse 2009-2012/GMC Acadia 2007-2012/Saturn Outlook 2007-2010
- Unclip the radio trim panel including the climate controls.
- Unplug the climate controls and remove the panel.
- Remove (4) 7mm screws securing the radio. Unplug and remove the radio.
Continue to kit assembly
Hummer H2 2008-2009
- Unclip the radio trim panel including the A/C vents.
- Unplug any harnesses connected to the panel, and then remove the panel. (Figure A)
- Remove (4) 7mm screws securing the climate controls.
- Unplug and remove the climate controls.
- Remove (4) 7mm screws securing the radio. Unplug and remove the radio.
Continue to kit assembly
Dash Disassembly Chevrolet Captiva 2012-up/Saturn Vue 2008-2010
- Unclip and remove the trim panel on top of the radio trim panel. (Figure A)
- Remove (2) Phillips screws exposed under panel previously removed. (Figure B)
- Unclip and remove the radio trim panel including the A/C vents. (Figure B)
- Unclip and remove the trim panel surrounding the shifter including the climate controls. (Figure C)
- Remove (4) 7mm screws securing the radio. Unplug and remove the radio.
Continue to kit assembly
Kit Assembly
ISO DDIN radio provision
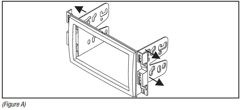
- Slide the ISO DDIN radio brackets into the radio housing, aligning the holes in the radio housing to the clips on the brackets. (Figure A)
- Slide the radio unit into the completed assembly, and then secure using the screws supplied with the radio. (Figure B)
- Locate the factory wiring harness and antenna connector in the dash and complete all necessary connections to the radio. Metra recommends using the proper mating adapter from Metra or AXXESS. Re-connect the negative battery terminal and test the radio for proper operation.
- Reassemble the dash in reverse order of disassembly.
Suzuki XL-7 only: Trim the top corners of the radio housing. (Figure C)

DIN radio provision with pocket
- Remove the metal DIN sleeve from the aftermarket radio.
- Slide the sleeve into the radio housing and secure by bending the metal locking tabs down. (Figure A)
- Slide the radio into the sleeve until it clicks in. (Figure B)
- Locate the factory wiring harness and antenna connector in the dash and complete all necessary connections to the radio. Metra recommends using the proper mating adapter from Metra or AXXESS. Re-connect the negative battery terminal and test the radio for proper operation.
- Reassemble the dash in reverse order of disassembly. Suzuki XL-7 only: Trim the top corners of the radio housing. (Figure C)

ISO DIN radio provision with pocket
- Remove the metal DIN sleeve and trim ring from the aftermarket radio.
- Secure the ISO DIN radio brackets to the radio with the screws supplied with the radio. (Figure A)
- Slide the radio into the radio housing until the side clips engage. (Figure B)
- Snap the ISO DIN trim plate into the radio housing.(Figure B)
- Locate the factory wiring harness and antenna connector in the dash and complete all necessary connections to the radio. Metra recommends using the proper mating adapter from Metra or AXXESS. Re-connect the negative battery terminal and test the radio for proper operation.
- Reassemble the dash in reverse order of disassembly. Suzuki XL-7 only: Trim the top corners of the radio housing. (Figure C)

IMPORTANT
If you are having difficulties with the installation of this product, please call our Tech Support line at 1-800-253-TECH. Before doing so, look over the instructions a second time, and make sure the installation was performed exactly as the instructions are stated. Please have the vehicle apart and ready to perform troubleshooting steps before calling.
KNOWLEDGE IS POWER
Enhance your installation and fabrication skills by enrolling in the most recognized and respected mobile electronics school in our industry. Log onto www.installerinstitute.com or call 800-354-6782 for more information and take steps toward a better tomorrow.
FAQs
Please contact Metra’s Customer Service Department at 1-800-523-2492 (M-F 7am – 5pm CST) or visit metraonline.com for assistance.
No, the Metra kit is designed for a specific brand and model radio. Please contact Metra’s Customer Service Department at 1-800-523-2492 (M-F 7am – 5pm CST) or visit metraonline.com for assistance.
Yes, you must remove the factory radio from the dash to install this kit.
Yes, please visit metraonline.com for harness options.
Yes, please visit metraonline.com for antenna adapter options.
No, you will need to reuse your existing mounting bracket or purchase one separately from your local dealership parts department.
Bluetooth connectivity: A dual double DIN enables Bluetooth pairing between your smartphone and your car. This indicates that you can stream your preferred music directly from your smartphone.
The majority of current automobiles have double-DIN stock stereos, though single-DIN systems can be installed in their stead if necessary. No matter the size of the new stereo installation, installation kits are advised.
A typical car radio’s body size. Single DIN radios are 2×7″, whereas double DIN radios are 4×7″. The DIN standard guarantees compatibility when aftermarket radio/CD players are used in place of factory ones, but new or modified dashboard trim might be necessary. the DIN connector and DIN standard.
Simply said, the term “double DIN” describes the size of your head unit, which is two times as large as a single DIN. Deutsches Institut für Normung, or DIN, is a German organization that creates industrial standards and formerly established the benchmark for all automobile radios.
A double DIN head unit comes with a wealth of features that make it worthwhile to spend the money. You can anticipate features like a CD/DVD player, USB and SD connections, Bluetooth, and Aux.
It must be replaced with another single DIN unit if it is a single DIN head unit and is around 7 inches long by 2 inches tall. Your radio is double DIN if it is around 7 inches long and 4 inches height.
Download PDF Link; Metra Double DIN Installation Multi Kit pdf

































