WUI75X15HZ 15 Inch Ice Maker
Instruction Manual
WUI75X15HZ 15 Inch Ice Maker
WARNING
Electrical Shock Hazard
Disconnect power before servicing.
Replace all parts and panels before operating.
Failure to do so can result in death or electrical shock.
- Disconnect power to ice maker
Unplug ice maker or disconnect power.
WARNING
Crush Hazard
Articulated hinges are self closing and many pinch points exist prior to cabinet installation.
Do not remove hinge covers until product is ready to be installed.
Failure to follow these instructions can result in crush, cut, or pinch injuries. - Remove hinge cover screws
Remove the screws attaching top and bottom hinge covers using a 3/16ʺ hex driver.
- Remove hinge covers
Using pliers, remove the hinge covers from the top and bottom hinges.
NOTE: Save the hinge covers for future use. Reinstall the hinge covers if product is removed from cabinet installation.
- Lay down ice maker
Lay down the ice maker as shown in the illustration. Be sure to cover the floor with cardboard or hardboard to avoid damaging the floor.
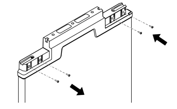
- Remove stainless steel panel screws
Remove the screws holding the stainless steel panel from the bottom of the door. Set the stainless steel panel and screws aside. For custom panel model, remove the screws and the top metal bracket using the Phillips screwdriver. Set the screws and bracket aside.
- Remove plastic screw cover
Remove the plastic screw cover from the inside of the hinges and set aside.
- Remove end caps
Remove the top and bottom plastic end caps from the door and set them aside.
- Unscrew door hinge screws
Unscrew the door hinge screws completely from top and bottom hinges and set them aside.
- Remove door
Remove the door and set it aside. Swap the hinge screws to the opposite side.
WARNING
Crush Hazard
Articulated hinges are self closing and many pinch points exist prior to cabinet installation.
Do not operate or close the hinges while they are removed from the ice maker.
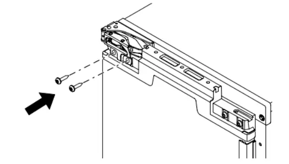
Failure to follow these instructions can result in crush, cut, or pinch injuries. - Remove screws and hinges
Remove the screws and hinges from the cabinet with the Torx T25 screwdriver and set them aside.
- Remove screw cap cover
Remove the screw cap cover and replace on the other side.
Preparing the Bottom Hingesb
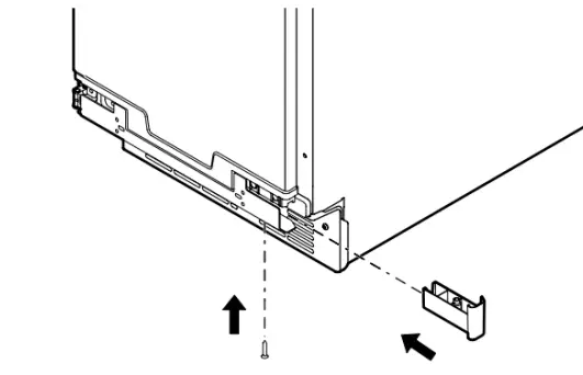
- Unscrew and remove grill cover
Unscrew and remove the grill cover using a Torx T20 screwdriver.
Set grill cover and screws aside.
- Remove screw covers
Remove the screw covers and place them on the other side as shown in the illustrations.
- Reinstall grill cover
Reinstall the grill cover.
Reversing the Hinges and End Caps
- Install hinge screws
Install the hinge screws (previously set aside in step 10) halfway on the desired side of the cabinet.
- Flip top hinge
Take the original top hinge, flip it, and place it in the bottom hinge position on the opposite side. Slide onto the cabinet hinge screws.
The hinge tabs on the hinges should always face towards each other.
- Flip bottom hinge
Take the original bottom hinge, flip it, and place it in the top hinge position on the opposite side. Slide onto the cabinet hinge screws.
- Tighten hinge screws
Fully tighten the top and bottom hinge screws.
Final Door Placement
NOTE: Before placing the door back on the ice maker, check all installed parts to ensure there are no exposed screws, all screw cover caps are on, and the door is facing the correct way with the stainless steel side facing out.
- Slide door onto hinges
Slide the door onto the hinges. Using Torx T25 screwdriver, install the screws (removed in step 8) onto the door.
- Reinstall screw covers
Reinstall the plastic screw covers to original locations on the hinges.
- Reinstall end caps
Reinstall the top and bottom end caps on the door (the top-right end cap is now the bottom-left end cap and vice versa).
NOTE: For custom wood installation, skip this step.
- Place panel back on door
Place the steel door panel back on the door once all screws are tightened. For custom door panel, skip this step.
- Screw hex screws back in
Screw the two hex-head screws back in at the bottom of the door.
For custom door panel, skip this step.
- Return ice maker to upright position
Return the ice maker back to upright position.
Reverse Door Catch

- Remove white screws
Remove the white decorative screws from the opposite side of the door and set aside. - Remove door catch screws
Remove the screws from the magnetic door catch and place the door catch and the screws on the opposite side of the door. - Install white screws on opposite side
Install the white decorative screws on the opposite side of the door.
WARNING
Electrical Shock Hazard
Plug into a grounded 3 prong outlet.
Do not remove ground prong.
Do not use an adapter.
Do not use an extension cord.
Failure to follow these instructions can result in death, fire, or electrical shock. - Plug in ice maker
Plug ice maker into a grounded 3–prong outlet.
Troubleshooting
See your Owner’s Manual or visit our website and reference Frequently Asked Questions to possibly avoid the cost of a service call.

®/™ ©2021 Whirlpool. All rights reserved. Used under license in Canada.
Tous droits réservés. Utilisé sous licence au Canada.
Todos los derechos reservados. Se usa bajo licencia en Canadá.
Crush Hazard






















WARNING


















