MeTra 99-7819 Single-Double DIN Dash Kit Instruction Manual
KIT FEATURES
- ISO DIN radio provision with pocket
- ISO DDIN radio provision
- Radio replacement pocket assembly
- Textured to match the factory finish
KIT COMPONENTS
- A)Radio trim panel

- B) Radio replacement pocket assembly

- C)Pocket

- D)Radio brackets

- E)Climate control brackets

- F) (10)#8×3/8”Phillips screws

WIRING & ANTENNA CONNECTIONS
(sold separately)
- Wiring Harness: 70-1721
- Antenna Adapter:40-HD10
DASH DISASSEMBLY
- Remove(2)Philips screws from under the instrument cluster and remove the trim. (Figure A)
- Unclip and remove the trim panel between the instrument cluster and the NAV screen trim panel. (Figure A)

- Unclip and remove the NAV screen trim panel. (Figure B)

- Remove(4) screws and remove the NAV screen. (Figure C)

- Remove(4) screws and remove the NAV screen bracket. (Figure D)

- Remove the side trim panels from the sides of the radio. (Figure E)

- Remove(4) screws and remove the trim from around the radio including the ashtray. (Figure F)

- Remove(4) screws and remove the radio climate assembly. (Figure G)

- Remove(2)Philips screws to remove the climate control from the radio/bracket assembly. (Figure H)

KIT PREPARATION
- Attach the climate control brackets to the radio replacement pocket assembly with(2)of the included #8×3/8” screws. (Figure A)

- Place the climate controls between the climate control brackets and secure with the factory hardware. (Figure B)

- Re-connect the climate control and secure the new assembly in to the dash with factory hardware.
KIT ASSEMBLY
ISO DIN radio provision with pocket
- Attach the radio brackets to the radio trim panel using(4)#8×3/8”Phillips screws supplied. (Figure A)

- Attach the pocket to the bracket assembly using the(4) supplied #8×3/8”Phillips screws. (Figure B)

- Remove the metal DIN sleeve and trim ring from the after market radio.
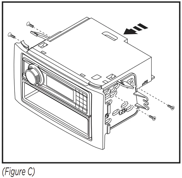
- Slide the radio in to the completed assembly, and then secure it to the assembly using the screws supplied with the radio (Figure C)

- Locate the factory wiring harness and antenna connector in the dash, and complete all necessary connections to the radio. Metra recommends using the proper mating adapter from Metra and/ or AXXESS. Test the radio for proper operation.
- Re assemble the dash in reverse order of disassembly
ISO DDIN radio provision
- Attach the radio brackets to the radio trim panel using(4)#8×3/8”Phillips screws supplied. (Figure A)

- Slide the radio in to the completed assembly, and then secure it to the assembly using the screws supplied with the radio. (Figure B)

- Locate the factory wiring harness and antenna connector in the dash, and complete all necessary connections to the radio. Metrare commends using the proper mating adapter from Metra and/ or AXXESS. Test the radio for proper operation.
- Reassemble the dash in reverse order of disassembly.
IMPORTANT
If you are having difficulties with the installation of this product, please call our Tech Support line at 1-800-253-TECH. Before doing so, look over the instructions a second time, and make sure the installation was performed exactly as the instructions are stated. Please have the vehicle apart and ready to perform troubleshooting steps before calling.
KNOWLEDGE IS POWER
Enhance your installation and fabrication skills by enrolling in the most recognized and respected mobile electronics school in our industry.
Log onto www.installerinstitute.com or call 800-354-6782 for more information and take steps toward a better tomorrow.
Metra recommends MECP certified technicians
































