MeTra 99-6520B DIN Dash

KIT FEATURES
- ISO DIN radio provision with pocket
- ISO DDIN radio provision
- Included interface retains factory screen
- Painted matte black to match factory finish
Note:
Does not retain sound from “Driver Convenience Group”
KIT COMPONENTS

- A) Radio trim panel
- B) Radio brackets
- C) A/C button housing
- D) Pocket
- E) Console bracket
- F) #8 x 3/8″ Phillips pan-head screws (6)
- G) Panel clips (2)
- H) Climate extension harness (not shown)
- I) Axxess interface and harness (not shown)
WIRING & ANTENNA CONNECTIONS
Wiring Harness: Interface and harnesses included Antenna Adapter: 40-EU10 (sold separately) AXXESS Steering Wheel Control Interface (sold separately)
TOOLS REQUIRED
- Panel removal tool
- Phillips screw driver
ATTENTION:
With the key out of the ignition, disconnect the negative battery terminal before installing this product. Ensure that all installation connections, especially the air bag indicator light, must be secure before cycling the ignition to test this product.
NOTE:
Refer also to the instructions included with the aftermarket radio.
DASH DISASSEMBLY
- Using the panel removal tool, carefully unclip and remove the trim panel along the top of the glove box over to the passenger’s side A/C vent.

- Unsnap and remove the small trim panel to the left of the hazard button.

- Remove (2) Phillips screws securing the radio/climate control panel, then unclip, unplug and remove the panel.
Note: A climate extension harness is provided to relocate the climate controls to a lower position in the center console. - Remove (4) Phillips screws securing the radio chassis. Slide the chassis out, then unplug and remove the chassis.
Note: The white 4-pin harness will be reused in Kit Assembly. - Pull up on shift knob to remove.


- Unclip and remove the shifter trim panel, including the cup holders from the top of the center console.

- Push down and then pull back and out on the pocket in the front of the console.
Note: You may need to pull the console side panels outward at the same time as pulling out on pocket. - Remove the (2) metal panel clips on the front side of the pocket and save for Kit Preparation.
KIT PREPARATION
- Attach the console bracket to the back of the A/C button housing using (4) #8 x 3/8″ Phillips screws provided with this kit.

- Install the (2) metal panel clips saved from the pocket disassembly onto the console bracket.

- Using the climate extension harness provided with this kit, connect the A/C button housing assembly to the factory wiring harness in the vehicle.
- Secure the A/C button housing into the pocket space in the front of the center console.

ISO DIN radio provision with pocket
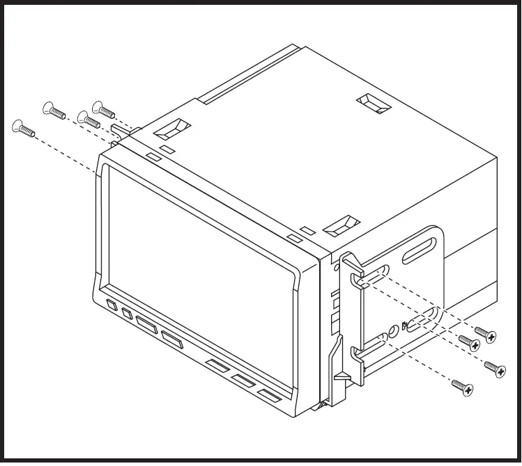
- Secure the radio brackets to the pocket using the (2) #8 x 3/8″ Phillips screws provided with this kit.
Note: Pins on the brackets will align with the front mounting hole of pocket. - Remove the metal DIN sleeve and trim ring from the aftermarket radio.
- Slide the radio into the bracket/pocket assembly, then secure it to the assembly using the screws supplied with the radio.

ISO DDIN radio provision
- Break the small locating pin from the inside surface of each bracket.

- Secure the radio brackets to the radio using the screws supplied with the radio.

AXXESS INTERFACE INSTALLATION
INTERFACE FEATURES
- Provides accessory power (12-volt 10-amp)
- Retains R.A.P. (retained accessory power)
- Used in amplified and non-amplified systems
- Provides NAV outputs (parking brake, reverse, V.S.S.)
- Prewired for an AXXESS steereing wheel control interface
- Retains balance and fade
- Ability to add an aftermarket backup camera or additional video input
- Retains the factory display screen
- Micro “B” USB updatable
Note:
Does not retain sound from “Driver Convenience Group”
INTERFACE COMPONENTS
- Axxess interface
- 16-pin harness with stripped leads
- 6520 harness
TOOLS REQUIRED
- Crimping tool and connectors, or solder gun, solder, and heat shrink
- Tape
- Wire cutter
- Zip ties
- Small flat-blade screwdriver
CONNECTIONS
From the 16-pin harness with stripped leads to the aftermarket radio, connect as indicated:
- Red wire to the accessory wire.
Note:
If also installing an AXXESS steering wheel control interface (sold separately, there will be a Red wire on the 6520 harness to connect as well.
- Orange/White wire to the illumination wire, if applicable.
- Blue/White wire to the amp turn-on wire, if equipped with a factory amplifier.
The following (3) wires are for aftermarket multimedia/navigation radios that require these wires:
- Blue/Pink wire to the speed sense wire.
- Green/Purple wire to the reverse wire.
- Light Green wire to the parking brake wire.
Tape off and disregard the following (9) wires, they will not be used in this application: Brown, White, White/Black, Gray, Gray/Black, Purple, Purple/Black, Green, Green/Black.
From the 6520 harness to the aftermarket radio, connect as indicated:
- Black wire to the ground wire.
- Yellow wire to the battery wire.
- Gray wire to the right front (+) speaker output.
- Gray/Black wire to the right front (-) speaker output.
- White wire to the left front (+) speaker output.
- White/Black wire to the left front (-) speaker output.
- Green wire to the left rear (+) speaker output.
- Green/Black wire to the left rear (-) speaker output.
- Purple wire to the right rear (+) speaker output.
- Purple/Black wire to the right rear (-) speaker output.
- Yellow RCA jack labeled (2) to either an aftermarket backup camera, or an AUX video input.
Disregard the Yellow RCA jack labeled (1), it will not be used in this application.
Note: There is also a set of Green, Green/Black, Violet, Violet/Black wires coming from the Black 18-pin connector that goes to the interface, tape off and disregard these wires, they will not be used in this application.
From the 12-pin 6520 harness connector:
- If the vehicle is not equipped with steering wheel controls, disregard this connector entirely.
- If the vehicle has steering wheel controls, the 12-pin 6520 connector is to be used along with the optional AXXESS steering wheel control interface (sold separately) to retain steering wheel controls.
- Attach the 12-pin connector from the 6520 harness to the AXXESS steering wheel control interface (sold separately).
- Please verify AXXESS steering wheel control interface connections for your vehicle by visiting www.axxessinterfaces.com, and using the vehicle fit guide to find a vehicle specific instruction.
INSTALLATION
Attention
For models with a 8-inch screen, update the interface via the Axxess Updater available at axxessinterfaces.com. Select “8-inch screen” once prompted to. Instructions to update the interface are available at the end of this instruction booklet.
With the key in the off position:
- Connect the 16-pin harness with stripped leads, and the 6520 harness, into the interface.
- Connect the factory “White” 4-pin harness removed in step 4 of Dash Disassembly to the “Black” connector from the interface.
Note: The display screen will not function without this connection. - Connect the 6520 harness to the wiring harness in the vehicle.
- Locate the factory antenna connector in the dash and complete all necessary connections to the radio. Metra recommends using the proper mating adapter from Metra.
Note: If an AXXESS steering wheel control interface (sold separately) will be used, do not connect it until the interface is programmed and fully functional.
PROGRAMMING
- When the interface first boots up, the factory screen will go through a boot up sequence for a few moments. Do not touch any controls during this process.
- Test all functions of the installation for proper operation, before reassembling the dash. For amplified models, also refer to the “Audio Level Adjustment” section.
FINAL ASSEMBLY
- Secure the completed assembly to the dash using the factory hardware.
- Attach the (2) panel clips provided to the 99-6520B radio trim panel, then reassemble the dash in reverse order of disassembly using the 99-6520B panel.
AUDIO LEVEL ADJUSTMENT
For models with a factory amplifier:
- With the vehicle and radio turned on, turn the volume up 3/4 of the way.
- With a small flat-blade screwdriver, adjust the potentiometer clockwise to raise the audio level; counterclockwise to lower the audio level.
- Once at a desired level, audio level adjustment is complete.
FACTORY 4.3 INCH SCREEN OPERATION

- Radio button – Show the current time
- Player button – Not used in this application
- Climate button – Takes you to the climate screen
- Setting button – Takes you to the setting screen
- More button – Shows the outside temperature and current time
- Screen Off – Turns the display off
- Once in the setting screen, scroll down to the Customize button. Pressing the button will take you to the video option screen.

- Once in the customize menu, you can select to make the Video Input 2 either:

- Not Used
- Back-up (Backup Camera) is controlled by data and will only activate when you put the vehicle in reverse.
- AUX input is controlled by data and will only work while the vehicle is in park.

- After you have made your selection, tap the “Done” button located on the upper left hand corner of the screen to exit.
- The About button will display the current software of the kit, and also the VIN of the vehicle. (Figure D)

FACTORY 8 INCH SCREEN OPERATION

- Enter the settings menu by tapping the gear icon in the upper left corner of the screen.

- Once in the setting menu, scroll down and tap the Customize button to enter the customize menu.

- Once in the customize menu, you can select to make the Video Input 2 either:
- Not Used
- Reverse (Backup Camera) is controlled by data and will only activate when you put the vehicle in reverse.
- AUX input is controlled by data and will only work while the vehicle is in park.

- Tapping the About button will display the current version number of the kit, and the VIN number of the vehicle. Tap the OK button to exit.
- After you have made your selection, tap either the X or Back (left arrow) button one time to return to the previous menu, or two times to return to the main menu.
UPDATING THE INTERFACE
- Download and install the Axxess Updater from axxessinterfaces.com.
- Connect the USB-MINI-CAB update cable (sold separately) between the interface and the computer. The cable will connect into the Micro-B USB port inside the interface.
- From the Start Menu of the computer, click on “Axxess Updater”, and then click “Update Firmware”. The interface will begin to update at this point.
Note:
Please note which firmware downloaded to the interface. This will help in troubleshooting, if need be.


Note: A climate extension harness is provided to relocate the climate controls to a lower position in the center console.
Note: The white 4-pin harness will be reused in Kit Assembly.


Note: You may need to pull the console side panels outward at the same time as pulling out on pocket.

Note: Pins on the brackets will align with the front mounting hole of pocket.























