Metra DP-7528 Single or Double DIN Dash Panel Instruction Manual
KIT FEATURES
- ISO DIN radio provision with pocket
- ISO ODIN radio provision
- Textured to match the factory dash.
- Can also be used as a factory dash replacement with factory Mazda radios.
KIT COMPONENTS

- A) Radio housing
- B) Radio trim panel
- C) Radio brackets
- D) Pocket
- E) #8 x 3/8″ Phillips screws (10)
- F) Panel clips (2)
- G) #8 x 1/2″ Phillips screws (2)
WIRING & ANTENNA CONNECTIONS (sold separately)
Wiring Harness: 70-7901
Visit metraonline.com for audio/video and steering
wheel control interface options.
Antenna Adapter: Not required
TOOLS REQUIRED
- Panel removal tool
- Phillips screwdriver
Attention! With the key out of the ignition, disconnect the negative battery terminal before Installing this product. Ensure that all Installation connections are secure before cycling the ignition to test this product.
DASH DISASSEMBLY
From the center console:
- Unclip ashtray to reveal (1) Phillips screw and remove. (Figure A)
- Open storage compartment and remove (2) Phillips screws. (Figure B)
- Locate the (2) Phillips screws on the front sides of the gear shifter trim panel and remove. (Figure C )

- Unscrew gear shift knob. (Figure D)
- Unplug (2) connectors and remove the center console. (Figure E)

From the factory radio assembly:
- Unclip and remove center air vents to reveal (2) screws at the top of the radio trim panel. Remove the (2) screws. (Figure F)
- Unplug and remove the radio trim panel. (Figure G)
- Remove the (4) Phillips screws and pull out the radio assembly. (Figure H)

- Remove (2) Phillips screws from the support bar on top of radio trim. Save bar for kit preparation. (Figure I)
- Remove (2) Phillips screws to remove the hazard switch. Save switch for kit preparation. (Figure J)
- Remove (1) screw from each air vent retaining clip. Keep together for (Figure I) kit preparation. (Figure K)

KIT PREPARATION
- Secure the support bar to the top of the radio housing using the (2) screws removed in step 4. (Figure A)
- Secure the hazard switch using the (2) #8 x 1/2″ Phillips screws provided. (Figure B)
- Transfer the retaining clips to the corresponding locations on the radio housing using screws removed in step 6. (Figure C)

- Attach the radio trlmplate to the radio housing using (6) of the supplied #8 x 3/8″ Philips screws. (Figure D)
- Attach the (2) panel clips to the radio housing. (Figure E)

KIT ASSEMBLY
ISO DIN radio provision with pocket
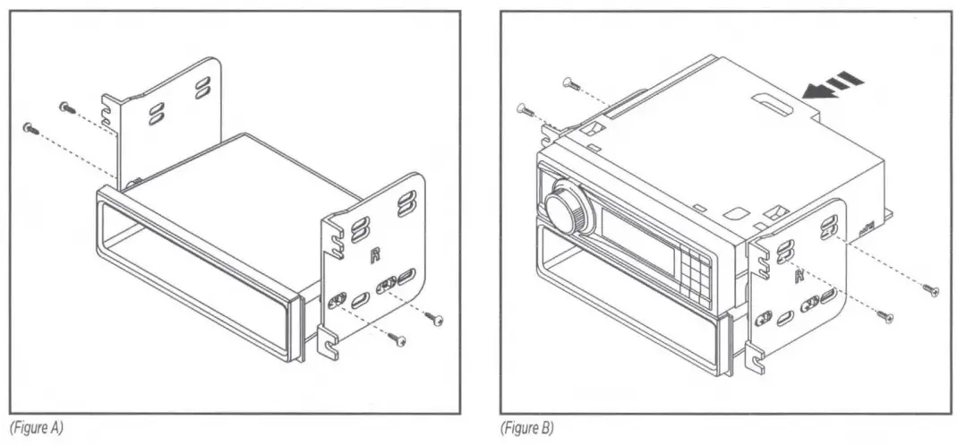
- Attach the pocket to the radio brackets using (4) of the supplied #8 x 3/8″ Phillips screws. (Figure A)
- Slide the radio into the bracket/pocket (iii. assembly and secure it using the screws supplied with the radio. (Figure B)
- Locate the factory wiring harness and antenna connector in the dash, and complete all necessary connections to the radio. Metra recommends using the proper mating adapter from Metra -~ and/or AXXESS.
- Slide the radio into the sub dash and secure it using the factory hardware.
- Reassemble the dash in reverse order of (Figure 8) disassembly using the new 7528 radio housing.

ISO ODIN radio provision
- Attach the radio brackets to the radio using the screws supplied with the radio. (Figure A)
- Locate the factory wiring harness and antenna connector in the dash, and complete all necessary connections to the radio. Metra recommends using the proper mating adapter from Metra and/or AXXESS.
- Slide the radio into the sub dash and secure it using the factory hardware.
- Reassemble the dash in reverse order of disassembly using the new 7528 radio housing.

Having difficulties? We’re here to help.
Contact our Tech Support line at:
386-257-1187
Or via email at:
[email protected]
Tech Support Hours (Eastern Standard Time)
Monday -Friday: 9:00 AM – 7:00 PM
Saturday: 10:00 AM- 7:00 PM
Sunday: 10:00 AM -4:00 PM
KNOWLEDGE IS POWER
Enhance your installation and fabrication skills by enrolling in the most recognized and respected mobile electronics school In our industry. Log onto www.installerinstituto.edu or call 386-672-5771 for more information and take stops toward a better tomorrow
Metra recommends MO certified technicians


























