MeTra DP-7414 Dash Kit

Nissan Sentra2000-2006
Visit MetraOnline.com for more detailed information about the product and up-to-date vehicle specific applications
KIT FEATURES
- ISO DDIN radio provision
- Textured
KIT COMPONENT
- A) Radio housing

- B) Climate control trim panel

- C) Radio brackets

- D) Climate control bracket set #1

- E) Climate control bracket set #2

- F) Climate control cable clamp bottom (2)

- G) Climate control cable clamp top (2)

- H) #8 x 3/8” Phillips screws (8)

- I) #6 x 7/8” Phillips screws (4)

- J) Speed clips (2)

- K) Metal panel clips (4)

- L) Plastic panel clips (2)

WIRING & ANTENNA CONNECTIONS
(sold separately)
Wiring Harness: Visit metraonline.com for audio/ video and steering wheel control interface options. Antenna Adapter: Not required
TOOLS REQUIRED
- Panel removal tool
- Phillips screwdriver
- Socket wrench
Attention! With the key out of the ignition, disconnect the negative battery terminal before installing this product. Ensure that all installation connections are secure before cycling the ignition to test this product.
DASH DISASSEMBLY
- Open the storage compartment above the radio, and pull out on the lip of the compartment to remove the compartment/AC vent assembly. (Figure A)

- Below the climate control, unclip and remove the trim panel around the pocket. (Figure B)

- Disconnect the (2) climate control cables from under the dash on the driver’s side above the accelerator pedal.
Note: Observe the route that the cables take through the dash so you can put them back in the same place in Kit Assembly (Figure C, D)

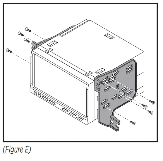
- Remove (4) screws securing the radio/ climate-control/pocket assembly (two on top, two on bottom), then unplug and remove the entire assembly. (Figure E)

- Remove (4) Phillips screws securing the climate control to the sub dash. (Figure F)

- Twist the climate control inside the dash cavity and pull out to remove.
Note: Observe the route that the cables take through the dash so you can put them back in the same place in Kit Assembly.
Continue to Kit Preparation
KIT PREPARATION
- Cut the sub-dash in the shaded areas indicated to allow for the relocation of the climate controls. (Figure A)

- Attach the (2) orange plastic panel clips to the climate control trim panel. (Figure B)

- Attach the (4) metal panel clips to the radio housing. (Figure C)

Continue to Kit Assembly
KIT ASSEMBLY
- Attach climate control bracket set #1 to the climate control using the factory hardware. (Figure A)

- If the locations where the climate control cables attach to the controls are broken, use the supplied climate control cable clamps. Use a top and bottom and (2) #6 x 7/8”Phillips screws per cable to secure to the controls. (Figure B)

- Attach climate control bracket set #2 to the sub dash using (2) factory screws up top and the supplied (2) speed clips and (2) #8 x 3/8” Phillips screws provided down low. (Figure C)

- Secure the climate control to bracket set #2 in the sub dash using (4) #8 x 3/8” Phillips screws provided. (Figure D)

- Re attach the climate control cables under the driver’s side of the dash.
- Attach the radio brackets to the radio using screws supplied with the radio. (Figure E)

Continued on the next page - Secure the radio/bracket assembly to bracket set #2 and the sub dash using (2) #8 x 3/8”at the top and (2) factory screws at the bottom. (Figure F)

- Locate the factory wiring harness and antenna connector in the dash, and complete all necessary connections to the radio. Metra recommends using the proper mating adapter from Metra and/ or AXXESS. Re-connect the negative battery terminal and test the radio for proper operation.
- Reassemble the dash in reverse order of disassembly using the DP-7414 radio trim panel and climate control trim panel.
Having difficulties? We’re here to help
Contact our Tech Support line at:
386-257-1187
Or via email at:
[email protected]
Tech Support Hours (Eastern Standard Time)
Monday – Friday: 9:00 AM – 7:00 PM
Saturday: 10:00 AM – 7:00 PM
Sunday: 10:00 AM – 4:00 PM
KNOWLEDGE IS POWER Enhance your installation and fabrication skills by enrolling in the most recognized and respected mobile electronics school in our industry. Log onto www.installerinstitute.edu or call 386-672-5771 for more information and take steps toward a better tomorrow.
Metra recommends MECP
certified technicians











































