MeTra 95-6549 Double Din Dash Kit

KIT FEATURES
- ISO DDIN radio provision
- Complete center dash panel for a factory look
KIT COMPONENTS

- A) Radio/climate control panel
- B) Radio brackets
- C) Tray
- D) Storage pocket
- E) Dummy panel
- F) Climate control spacers
- G) (6) #8 x 3/8″ Pan-head Phillips screws
- H) (4) #8 x 5/8″ Pan-head Phillips screws
- I) (3) #8 x 1/2″ Truss-head Phillips screws
WIRING & ANTENNA CONNECTIONS (sold separately)
Wiring Harness: Visit metraonline.com for audio/ video and steering wheel control interface options. Antenna Adapter: Not required
TOOLS REQUIRED
- Panel removal tool
- Phillips screwdriver
- 3/8′ socket wrench
- Cutting tool
- Grinding tool
- 1/8″ drill bit
Attention! With the key out of the ignition, disconnect the negative battery terminal before installing this product. Ensure that all installation connections are secure before cycling the ignition to test this product.
DASH DISASSEMBLY
- Unclip the top cover from the instrument panel, then remove (2) Phillips screws exposed.
- Remove the ashtray, then remove (1) Phillips screw exposed.
- Starting from the bottom edge of the radio/climate control panel, unclip, unplug, and remove the panel.
- Remove (2) 3/8″ screws securing the radio to the dash. Slide the radio out, then unplug and remove the radio.

KIT PREPARATION
- Remove (4) Phillips screws securing the climate control panel to the dash, then temporarily move it out of the way in preparation for the next step.
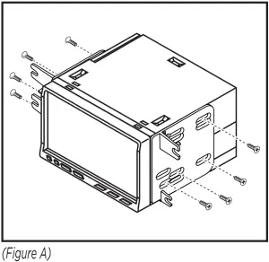
- Cut the shaded area in the sub-dash to allow room for the radio assembly. (Figure A)

Note: Some radios may require more cutting than shown. Cut as needed to allow room for the aftermarket radio.Note: The dash cut goes through the center of the lower left mounting hole. (See detail)From the factory radio/climate control panel:
- Unclip and remove the a/c vents. (Figure B)

- Unclip and remove the cigarette lighter/ switch panel.
- Remove the (2) panel clips.To the 95-6549 radio/climate control panel:
- Clip in the a/c vents.
- Clip in the cigarette lighter/switch panel.
- Attach the (2) panel clips.
- Clip in either the storage pocket or dummy panel to replace the factory ashtray.
- Secure the tray to the radio climate/control panel using the (2) #8 x 3/8″ Phillips pan-head screws provided. (Figure C)

- Grind down the climate control panel locater pins. (Figure D)

- 1997-1999: Place the climate control spacers onto the back of the climate control panel, then secure the climate control panel back to the vehicle using the (4) #8 x 5/8″ pan-head screws screws provided. (Figure E)

2000-2002: Secure the climate control panel to the 6549 panel using the (4) #8 x 3/8″ Phillips pan-head screws provided.
KIT ASSEMBLY
- Secure the radio brackets to the radio using the screws supplied with the radio. (Figure A)

- Locate the factory wiring harness and antenna connector in the dash and complete all necessary connections to the radio. Metra recommends using the proper mating adapter from Metra and/or Axxess. Test the radio for proper operation.
- Secure the radio assembly to the dash using (1) factory screw in the top right. Drill an 1/8″ hole in the (3) remaining screw holes in the brackets, then use the (3) #8 x 1/2″ Phillips truss-head screws provided to fully secure the radio.
- Reassemble the dash in reverse order of disassembly to complete the installation.
Having difficulties? We’re here to help.
![]() | Contactour TechSupport lineat: 386-257-1187 |
![]() | Or via email at: [email protected] |
Tech Support Hours (Eastern Standard Time)
Monday – Friday: 9:00 AM – 7:00 PM
Saturday: 10:00 AM – 7:00 PM
Sunday: 10:00 AM – 4:00 PM
® KNOWLEDGE IS POWER
Enhance your installation and fabrication skills by enrolling in the most recognized and respected mobile electronics school in our industry. Log onto www.installerinstitute.edu or call 386-672-5771 for more information and take steps toward a better tomorrow.
Metra recommends MECP certified technicians
© COPYRIGHT 2021 METRA ELECTRONICS CORPORATION
![]()



























