Installation instructions for 95-8160G
Lexus LS430 2001-2006 (without factory NAV) 95-8160G
KIT FEATURES
- Double DIN radio provision
- Painted gray to match the factory color and finish
KIT COMPONENTS
- A) Radio housing

- B) Brackets

- C) Panel clip brackets (2)

- D) Panel clip bracket screws (4) #4 x 3/8”

- E) Panel clips (2)

- F) (4) #8 x 3/8” truss-head Phillips screws

WIRING & ANTENNA CONNECTIONS (sold separately)
Wiring Harness:
- TYTO-01 Axxess Interface
Antenna Adapter:
- 40-LX10 antenna adapter and 44-EC204 antenna extension
Dash Disassembly
1. Remove the heated seat switch panel. (Figure A)
2. Remove the three screws below the tray assembly. Unclip and remove try assembly. (Figure B)
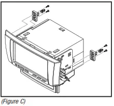
3. Remove two 10mm bolts securing the factory radio. (Figure C)
Kit Assembly
Double DIN radio provision
1. Attach the brackets to the radio housing trim panel using the (4) #8 x 3/8” screws supplied.
(Figure A)
2. Slide the radio into the bracket/ radio housing assembly and secure to the assembly using the screws supplied with the radio. (Figure B)
3. Mount the two-panel clip brackets to the radio housing using the supplied (4) #4 x 3/8” screws. (Figure C)
4. Attach the (2) white plastic panel clips to the panel clip brackets. (Figure C)
5. Locate the factory wiring harness in the dash. Metra recommends using the proper mating adapter from Metra or AXXESS. Re-connect the negative battery terminal and test the unit for proper operation.
6. Note: the factory antenna connection is located at the tuner brain on the passenger side rear of the trunk and will need to be routed through the vehicle to connect with the aftermarket radio.
7. Reassemble dash in reverse order of disassembly.
TOOLS REQUIRED
- Panel removal tool
- Phillips screwdriver
- Socket wrenchCAUTION: Metra recommends disconnecting the negative battery terminal before beginning any installation. All accessories, switches, and especially airbag indicator lights must be plugged in before reconnecting the battery or cycling the ignition.
NOTE: Refer to the instructions included with the aftermarket radio.
KNOWLEDGE IS POWER

Enhance your installation and fabrication skills by enrolling in the most recognized and respected mobile electronics school in our industry. Log onto www.installerinstitute.com or call 800-354-6782 for more information and take steps toward a better tomorrow.
Metra recommends MECP certified technicians
Metra Leus 95-8160G Stereo Dash Kit Installation Instruction – Download [optimized]
Metra Lexus 95-8160G Stereo Dash Kit Installation Instruction – Download
























