ALTIS G4
Instruction Manual

ALTIS G4
The luminaire with clear optic should be positioned so that prolonged staring into the luminaire at a distance <2m is not expected.
Extreme caution: Do not connect any LED CONNECTION wire (high voltage) inside NTC connector !! It could result in a critical failure and damage irreversibly the ALTIS luminaire
Caution, risk of electric shock
The light source contained in this luminaire shall only be replaced by the manufacturer or his service agent or a similar qualified person.

DIMENSIONS

| ScXO° * | ScX15° * | ScX45° * | ScX65° * | ScX90° * | ||
| ALG4 | 288L | 0.14 | 0.22 | 0.35 | 0.40 | 0.42 |

* These data refer to the worst case at indicated angle

For installation higher >3m Secure product with retaining cable attached to the frame (not included in the delivery). Please refer to local installation norms/regulations.

- 1xM20 with extra large washer (not provided)or
- 2xM20 with extra large washer (not provided)
![]() | ![]() |
![]() | |
CONNECTION BOX

ELECTRICAL CONNECTION

PINOUT
| Number | Label | Description |
| 1 | 1 | LED1+Connection (TOP Brick |
| 2 | -1 | LED1-Connection (TOP Brick |
| 3 | NO CONNECT | |
| -3 | NO CONNECT | |
| 3 | 2 | LED2+Connection (MID Brick |
| 4 | -2 | LED2-Connection (MID Brick |
| 5 | NTC option GND | Thermal Measure INPUT |
| GND | PROTECTIVE EARTH | |
| PROTECTIVE EARTH |
ALG4 GB 288L / ELECTRICAL CONNECTION / DALI 2 Channels

PINOUT
| Number | Label | Description |
| L1 | AC LINE 1 INPUT | |
| L2 | AC LINE 2 INPUT | |
| PROTECTIVE EARTH | ||
| DA+ | DALI INPUT | |
| DA+ | DALI RE-LAUNCH | |
| DA- | DALI INPUT | |
| DA- | DALI RE-LAUNCH | |
| PROTECTIVE EARTH FOR LED MODULE | ||
| 5 | NTC | THERMAL MEASURE INPUT |
| 1 | 1 | LED1+CONNECTION (TOP Brick) |
| 2 | -1 | LED1-CONNECTION (TOP Brick) |
| 3 | 3 | LED3+CONNECTION (MID Brick) |
| 4 | -3 | LED3-CONNECTION (MID Brick) |
SIGNALLING LED INDICATIONS ON THE GEAR BOX
| PERIOD | PULSES | FAULT DESCRIPTION | PRIORITY |
| The encoded faults are based on pulses emitted every 4 seconds | 1 | One or more CCR module enabled by config are not communicating with logic board | Maximum |
| 5 | Firmware version of one or more CCR module is not compatible with logic board firmware version | ||
| 2 | One or more CCR’s output is short-circuited | ||
| 3 | Load failure on one or more CCR’s output | ||
| 4 | Thermal derailing active (output current reduction) |
CABLE GLAND
| TYPE | 0Min | OMax |
| M16 | 5 mm | 10 mm |
| M25 | 10 mm | 17 mm |
| M32 | 13 mm | 21 mm |
ALG4 GB 288L/ELECTRICAL CONNECTION/DALI 3 Channels

PINOUT
| Number | Label | Description |
| L1 | AC LINE 1 INPUT | |
| L2 | AC LINE 2 INPUT | |
| PROTECTIVE EARTH | ||
| DA+ | DALI INPUT | |
| DA+ | DALI RE-LAUNCH | |
| DA- | DALI INPUT | |
| DA- | DALI RE-LAUNCH | |
| PROTECTIVE EARTH FOR LED MODULE | ||
| 5 | NTC | THERMAL MEASURE INPUT |
| 1 | 1 | LED1+CONNECTION (TOP Brick) |
| 2 | -1 | LED1-CONNECTION (TOP Brick) |
| 2 | NO CONNECT | |
| -2 | NO CONNECT | |
| 3 | 3 | LED3+CONNECTION (MID Brick) |
| 4 | -3 | LED3-CONNECTION (MID Brick) |
SIGNALLING LED INDICATIONS ON THE GEAR BOX
| PERIOD | PULSES | FAULT DESCRIPTION | PRIORITY |
| The encoded faults are based on pulses emitted every 4 seconds | 1 | One or more CCR module enabled by config are not communicating with logic board | Maximum |
| 5 | Firmware version of one or more CCR module is not compatible with logic board firmware version | ||
| 2 | One or more CCR’s output is short-circuited | ||
| 3 | Load failure on one or more CCR’s output | ||
| 4 | Thermal derailing active (output current reduction) |
CABLE GLAND
| TYPE | 0Min | OMax |
| M16 | 5 mm | 10 mm |
| M25 | 10 mm | 17 mm |
| M32 | 13 mm | 21 mm |
ALG4 GB 288L/ELECTRICAL CONNECTION/RDM-DMX 2 CHANNELS

PINOUT
| Number | Label | Description |
| L1 | AC LINE 1 INPUT | |
| L2 | AC LINE 2 INPUT | |
| PROTECTIVE EARTH | ||
| A | DMX INPUT DATA+ | |
| A | DMX-RE-LAUNCH DATA+ | |
| B | DMX INPUT DATA- | |
| B | DMX-RE-LAUNCH DATADMX COMMON /SHIELD | |
| S | SHIELD | |
| S | DMX COMMON | |
| PROTECTIVE EARTH FOR LED MODULE | ||
| 5 | NTC | THERMAL MEASURE INPUT |
| 1 | -1 | LED1+CONNECTION (TOP Brick) |
| 2 | 1 | LED1-CONNECTION (TOP Brick) |
| 3 | 3 | LED3+CONNECTION (MID Brick) |
| 4 | -3 | LED3-CONNECTION (MID Brick) |
SIGNALLING LED INDICATIONS ON THE GEAR BOX
| PERIOD | PULSES | FAULT DESCRIPTION | PRIORITY |
| The encoded faults are based on pulses emitted every 4 seconds | 1 | One or more CCR module enabled by config are not communicating with logic board | Maximum |
| 5 | Firmware version of one or more CCR module is not compatible with logic board firmware version | ||
| 2 | One or more CCR’s output is short-circuited | ||
| 3 | Load failure on one or more CCR’s output | ||
| 4 | Thermal derailing active (output current reduction) |
CABLE GLAND
| TYPE | 0Min | OMax |
| M16 | 5 mm | 10 mm |
| M25 | 10 mm | 17 mm |
| M32 | 13 mm | 21 mm |
ALG4 GB 288L/ELECTRICAL CONNECTION/ RDM-DMX 3 Channels

PINOUT
| Number | Label | Description |
| L1 | AC LINE 1 INPUT | |
| L2 | AC LINE 2 INPUT | |
| PROTECTIVE EARTH | ||
| A | DMX INPUT DATA+ | |
| A | DMX-RE-LAUNCH DATA+ | |
| B | DMX INPUT DATA- | |
| B | DMX-RE-LAUNCH DATA | |
| S | DMX COMMON / SHIELD | |
| S | DMX COMMON / SHIELD | |
| PROTECTIVE EARTH FOR LED MODULE | ||
| 5 | NTC | THERMAL MEASURE INPUT |
| 1 | -1 | LED1+CONNECTION (TOP Brick) |
| 2 | 1 | LED1-CONNECTION (TOP Brick) |
| 2 | NO CONNECT | |
| -2 | NO CONNECT | |
| 3 | 3 | LED3+CONNECTION (MID Brick) |
| 4 | -3 | LED3-CONNECTION (MID Brick) |
SIGNALLING LED INDICATIONS ON THE GEAR BOX
| PERIOD | PULSES | FAULT DESCRIPTION | PRIORITY |
| The encoded faults are based on pulses emitted every 4 seconds | 1 | One or more CCR module enabled by config are not communicating with logic board | Maximum |
| 5 | Firmware version of one or more CCR module is not compatible with logic board firmware version | ||
| 2 | One or more CCR’s output is short-circuited | ||
| 3 | Load failure on one or more CCR’s output | ||
| 4 | Thermal derailing active (output current reduction) |
CABLE GLAND
| TYPE | 0Min | OMax |
| M16 | 5 mm | 10 mm |
| M25 | 10 mm | 17 mm |
| M32 | 13 mm | 21 mm |
ALG4 GB 288L MOUNTING

ALG4 GB 288L / 200-250 Vac – ALG4 GB 288L 250-440 Vac
CIRCUIT BREAKER recommendation: It should mentioned in the notice that calculation has been done with a Circuit Breaker Load Factor of 100%.

GUIDELINE FOR INTEGRATION OF GEAR BOX

If you cannot follow instructions included in previous section regarding gear box integration, you have to measure Tc reference point taking into consideration that measures must be down to Tc_max

ALG4 GB LE 432L / ELECTRICAL CONNECTION

PINOUT
| Number | Label | Description |
| L | AC INPUT | |
| N | AC INPUT | |
| PE | PROTECTIVE EARTH | |
| PE | PE FOR LED MODULE | |
| NTC | THERMAL PROTECTION FOR LED FIXTURE | |
| V3+ | NO CONNECT | |
| V3- | NO CONNECT | |
| 3 | V2+ | OUTPUT CHANNEL 2+ (MID Brick) |
| 4 | V2 | OUTPUT CHANNEL 2- (MID Brick) |
| 1 | V1+ | OUTPUT CHANNEL 1+ (TOP Brick) |
| 2 | V1- | OUTPUT CHANNEL 1- (TOP Brick) |
The wiring should be strictly followed by the marking label instruction, Otherwise the product could be damaged or the fonctions could be affected. Each set of + or – are not potential dentical, cross connection is prohibited.
CABLE GLAND
| TYPE | ØMin | ØMax |
| M20 | 6.3 mm | 11.3 mm |
| M25 | 10 mm | 16.3 mm |
ALG4 GB LE 432L MOUNTING

ALG4 GB LE 432L / 200-250 Vac – ALG4 GB LE 432L 250-440 Vac
Drivers for each circuit breaker
Referring to the circuit breakers available on the market, the maximum number on the driver connectable for each circuit breaker is as the following table.
| Circuit Breaker Type | MCB B/C 10A | MCB B/C 16A | MCB B/C 20A | MCB B/C 25A | MCB B/C 32A |
| Input: 220~240Vac | 1 | 1 | 2 | 2 | 3 |
| Input: 380~400Vac | 1 | 2 | 2 | 3 | 4 |
GUIDELINE FOR INTEGRATION OF GEAR BOX

If you cannot follow instructions included in previous section regarding gear box integration, you have to measure Tc reference point taking into consideration that measures must be down to Tc_max

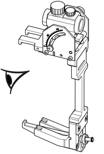
Aiming Device
Installation instructions
ALTIS LED AIMING DEVICE

2x Aiming device
2x Strap
2x Cleaning clotch
2x Lens caps
4x CR1620 battery
2x Allen wrench
2x Instruction leaet

96671487 ALTIS G5 AIMING DEVICE WITH VISOR
96671488 ALTIS G5 AIMING DEVICE BRACKET
Louvres / Bird Deterrent
![]() | ![]() |
| 96671492 | ALTIS G5 1 BRICK LOUVRE A4 |
| 96671493 | ALTIS G5 1 BRICK LOUVRE A5 |
| 96671494 | ALTIS G5 1 BRICK LOUVRE A6/A6I |
| 96671496 | ALTIS G5 1 BRICK LOUVRE MB |
| 96671495 | ALTIS G5 1 BRICK LOUVRE NB/EB |
| 96671497 | ALTIS G5 1 BRICK LOUVRE WB |
Visor ALTIS LED
TYPE : ALTIS G4/G5 ACCESSORIES

96671498 ALTIS G5 1 BRICK AJ VISOR

Power supply support
TYPE : ALTIS G4/G5 ACCESSORIES

-Replace any cracked protective shield.
-Class II luminaires must be installed so that exposed metal work of the luminaire is not in contact with any part of the electrical installation connected to a protective conductor.
WARNING: Class I luminaires must be earthed.
– This luminaire operates at mains voltage which must be switched off before intervention in control gear.
– Any modification to this luminaire is forbidden.
– Lighted objects nearer than the minimal distance in the is forbidden.![]()
Thorn Lighting is constantly developing and improving its products. The right is reserved to change specifications without prior notification or public announcement.
© Thorn Lighting
– To ensure maintaining the best system performances, we advice to switch on the system “At least one night hour per month”.
– corrosion environment from C1 to C5 according to standard ISO9223 except gear Box ALG4 GB LE 432L corrosion environment from C1 to C3.























