![]()
GTLED PRO
Installation instructions
The luminaire should be positioned so that prolonged staring into the luminaire at a distance <2m is not expected
WARNING :
Warranty is void if housing has been opened
TYPE : GP AL

MS-M-L-XL XL


GP AL | A (mm) | B (mm) | C (mm) | ||
| S | 773 | 168 | 84 | 12-48 | 3,4 kg |
MS | 520 | 313 | 90 | 12-48 | 6,5 kg |
| M | 800 | 72-108 | 10,3 kg | ||
L | 952 | 144 | 12,4 kg | ||
| XL | 1320 | 216 | 17,5 kg |
LED CLASS I
CLASS II
IK08 IP66
TYPE : GP PB
Caution, risk of electric shock 
OUT1 DALI OUT2 DALI

OUT1 BPL OUT2 BPL


24, 36
![]()
GP PB | L(m) | ||
| 1x200W | OUT1 | 1,5 <-> 8 | 6,6 <->7,6kg |
2x135W | OUT1 | 1,5 <-> 8 | 7,6 <->9,1kg |
| 2x200W | OUT1 | 1,5 <-> 8 | 8,1 <->9,6kg |
2x135W | OUT2 | 1,5 <-> 8 | 7,8 <->9,7kg |
| 2x200W | OUT2 | 1,5 <-> 8 | 8,2 <->10,1kg |
3x200W | OUT1 | 1,5 <-> 8 | 9,5 <->11,7kg |
| 4x135W | OUT2 | 1,5 <-> 8 | 10,1 <->13,1kg |
4x200W | OUT2 | 1,5 <-> 8 | 11 <->14kg |
CLASS I
CLASS II
IK08 IP66
TYPE : GP AB
Caution, risk of electric shock 
OUT1 DALI OUT2 DALI
OUT1 BPL OUT2 BPL


33
5 ![]()
GP AB | L(m) | ||
| 1x200W | OUT1 | 1,5 <-> 8 | 6,9<->7,9kg |
2x135W | OUT1 | 1,5 <-> 8 | 7,8<->9,2 kg |
| 2x200W | OUT1 | 1,5 <-> 8 | 8,2<->9,7kg |
2x135W | OUT2 | 1,5 <-> 8 | 8 <->9,8 kg |
| 2x200W | OUT2 | 1,5 <-> 8 | 8,4<->10,3 kg |
3x200W | OUT1 | 1,5 <-> 8 | 9,6<->11,7 kg |
| 4x135W | OUT2 | 1,5 <-> 8 | 10,1 <->13 kg |
4x200W | OUT2 | 1,5 <-> 8 | 11<->13,9 kg |
CLASS I
CLASS II
IK08 IP66
1 GP AL S – IN
GP AL S – IN/OUT

2 GP AL MS/M/L/XL – IN
GP AL MS – IN/OUT

SWITCH OFF POWER BEFORE CONNECTING LUMINAIRE
3 GP AL S – IN
GP AL MS/M/L/XL – IN
4 GP AL S – IN/OUT
GP AL MS – IN/OUT

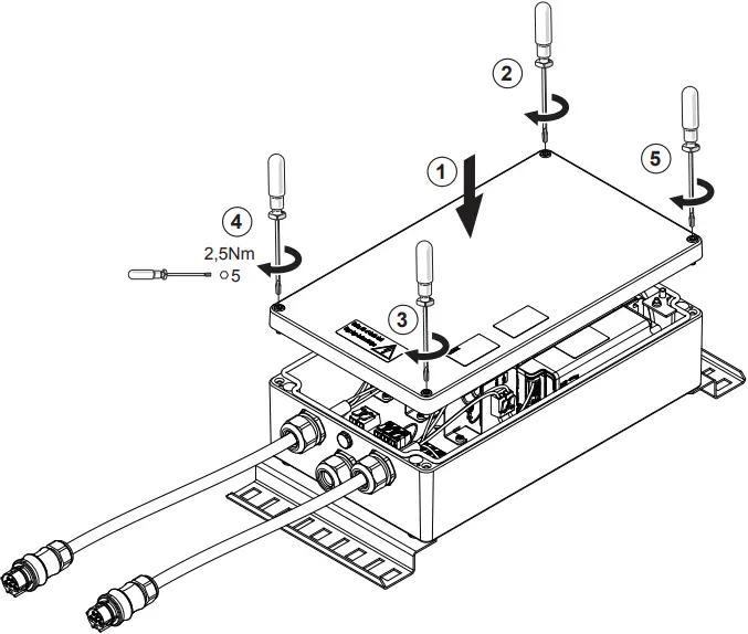
5 GP PB

6

7
DALI CL1
| BPL CL1
|
| DALI CL2
| BPL CL2
|
8 GP PB
Power Supply
- IN Power Supply
- OUT Power Supply
![]() | |
| CLASS 1 | CLASS 2 |
5G4mm² – 3G6mm²![]() Ø15 – 21mm | 4x6mm² – 2x10mm² |
9 GP PB
| DALI | 230V = 50/60Hz | ![]() |
Maximum DALI units per DALI line: 60
Maximum length of DALI line: 300m with 1,5mm² cable
Number of repeater: 1 (extension to 600m)
DALI

10 GP PB

11 INSTALLATION GP PB

- THROUGH WIRING with DALI (example)
- Accessory
GP IO 2xSOCKETS JUNCTION CABLE W… - N product in line
=>Quantity of
luminaire / GP PB - Imax = 20A
- Power Supply
12 GP AB
5

13 GP AB

14 Installation GP AB

15 Connection GP AB
| DALI | 230V = 50/60Hz | ![]() |
Maximum DALI units per DALI line: 60
Maximum length of DALI line: 300m with 1,5mm² cable
Number of repeater: 1 (extension to 600m)

DALI CL1
| DALI CL2
|
| BPL CL1
| BPL CL2
|
16

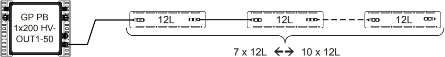
17 Quantity of luminaire / GP PB / GP AB

Example
| 12L | |
| GP PB 1×200 HV-OUT1-50 | 7 – 8 – 9 – 10 |
1 OUTPUT of 7 luminaires 12L
to
1 OUTPUT of 10 luminaires 12L

| 12L | |
| GP PB 2×135 HV-OUT2-105 | 2×3 |
2 OUTPUTS of 3 luminaires 12L

18 INSTALLATION
Maximum cable distance
GP PB 1×200 DA LV-OUT1-70

- #LED = X
- 1,5mm² copper
GP PB 1×200 DA LV-OUT1-70

Maximum cable voltage loss: 2% of total led output voltage (typ. @25°C)
Cable 1,5mm² copper (0,023ohm.mm²/m)
- #LED = 3 X
- 1,5mm² copper

Example for the same operating point

- GP PB 1×200 DA LV-OUT1-70
- GP AL M 72L IN ≤850mA
- 1,5mm² copper
- L < 200m
1*72 LED
3*24 LED

- GP PB 1×200 DA LV-OUT1-70
- GP AL S 24L IO
- GP AL S 24L IN
- 1,5mm² copper
- L < 200m

- GP PB 2×200 DA LV-OUT2-70
- 1,5mm² copper
- GP AL S 24L IO
- GP AL S 24L IN
- L < 200m
19 Maximum Circuit Breaker 135W & 200W
135W
Maximum loading of automatic circuit breaker

Calculation uses typical values from ABB series S200 as a reference.
Actual values may differ due to used circuit breaker types and installation environement.
200W
Maximum loading of automatic circuit breaker

Calculation uses typical values from ABB series S200 as a reference.
Actual values may differ due to used circuit breaker types and installation environement.
20 Luminaire functional data

Wiring type A
luminaire with 1 channel

Wiring type B
luminaire with 2 channels

Wiring type C
luminaire with 3 channels

21 CLEANING

EVERY 6 MONTHS

-Replace any cracked protective shield.
-Class II luminaires must be installed so that exposed metal work of the luminaire is not in contact with any part of the electrical installation connected to a protective conductor.
WARNING: Class I luminaires must be earthed.
-This luminaire operates at mains voltage which must be switched off before intervention in control gear.
-Any modification to this luminaire is forbidden.
-Lighted objects nearer than the minimal distance in the is forbidden.
![]()
Thorn Lighting is constantly developing and improving its products. The right is reserved to change specifications without prior notification or public announcement.
© Thorn Lighting
96670083 02 01/2022
4 GP AL S – IN/OUT































