AFP S Area Floodlight Spot LED Light
Instruction Manual
AFP S Area Floodlight Spot LED Light
The luminaire with clear optic should be positioned so that prolonged staring into the luminaire at a distance <1.5 m is not expected.
The light source of this luminaire is not replaceable; when the light source reaches its end of life the whole module shall be replaced.
To reduce the risk of strangulation the flexible wiring connected to this luminaire shall be effectively fixed to the wall if the wiring is within arm’s reach



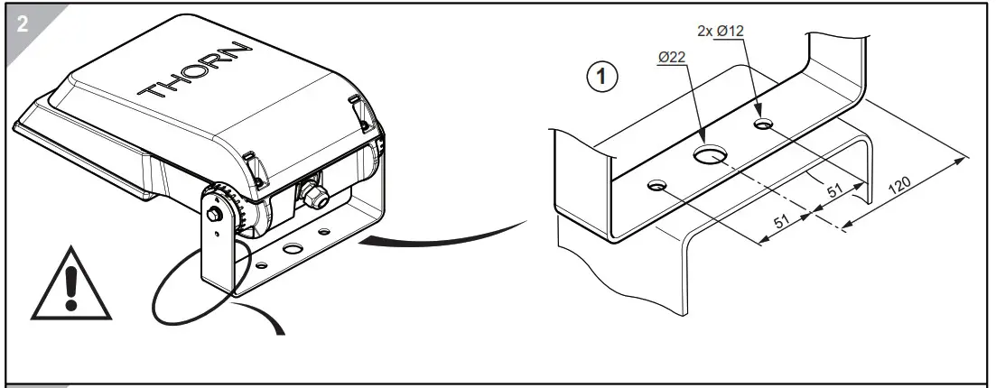
For installation higher >3m with only one fixation screw it is mandatory to secure the product with a second additional device (ex: retaining cable)
![]() | ![]() |
![]() | ![]() |
![]() | ![]() |

- Replace any cracked protective shield.
- Class II luminaires must be installed so that exposed metal work of the luminaire is not in contact with any part of the electrical installation connected to a protective conductor.
WARNING:Class I luminaires must be earthed. - This luminaire operates at mains voltage which must be switched off before intervention in control gear.
- Any modification to this luminaire is forbidden.
Thorn Lighting is constantly de eloping and impro ng its products.
The right is reser ed to change specifications without prior notification or public announcement.
© Thorn Lighting
96356159 01
04/2022

























